Fórum témák
» Több friss téma |
Fórum » Kapcsolási rajzot keresek
Témaindító: Kallai Csaba, idő: Márc 11, 2006
Témakörök:
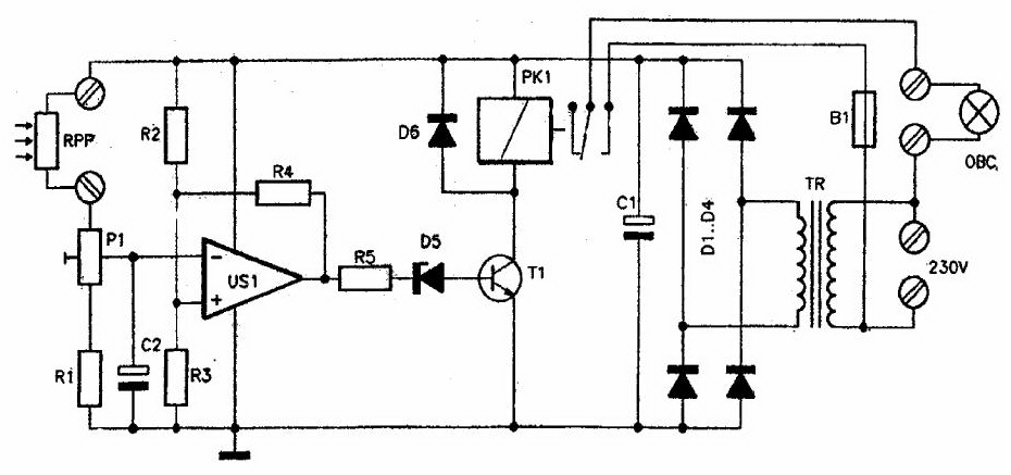
Mindenkinek szép nepot.
Van nekem egy alkonykapcsoló kapcs. rajza.Mivel kezdő vagyok, nem vagyok tisztában teljesen a működésével. Lenne itt valaki,eki részletesen, lépésről lépésre megmagyarázná nekem.Elég onnan,hogy a C1 kondi simít. A kapcs. rajzot csatoltam. Segitségeteket előre is köszönöm.
Kösz a választ.Azt még megkérdezhetem,hogy miért kell az a pozitív visszacsatolás.A ME-k hez nem értek.Ez még nem volt benne az eddigi tananyagban.
Sziasztok! Még mindig keresek egy 18,5V 6.5A-es tápegység kapcs. rajzát. Nem tudom, hogy laptopnak stab. kell-e vagy nem, de a stab. jobb lenne. Lehetőleg ne legyen több a szállítási költség, mint az IC bele. Előre is köszi!
Helló.Sanyo CEP2144-es tv-hez kapcsolási rajza nincs valakinek véletlenül?
Köszi
egy 7812 megemelve egy 6.5Vos zenerrel és megfejelve egy teljesítmény tranyóval...
üdv! UI.: a képen egy rajz csak a zéner kell még bele...
a ki xxV után kell a zéner, ugye? Mi lesz, ha elhagyom az R2-t? A tranyónak kell h.bordára ?
a zénert a 7812 gnd és a test közé kell...
Szerintem ne hagyj el semmit.. "kell -e borda" Ez egy kazán lesz ami fűteni fog... A stabot és a tranyót is bordára szereld és ügyelj a SZIGETELÉSEKRE! Üdv!
És mi az, hogy 2.2m a C1? 2,2mF? Elektrolit nem jó? A zéner merre fele vezessen?
2,2µF Alu elkó is jó, de jobb a tantál. Nem feltétlenül kell zener, ellenállás osztóval is megemelheted a talpát bármelyik stab IC-nek, ezzel a névleges fesz felett beállíthatóak, mint a 317-es.
Ellenállásnak a 0,22R helyett jó a 0,1R is? A HEStore-ban csak ilyen van.
Üdvöletem.Segítség!! Keresem a REFLEXION X250 autó erősítő rajzát. A gyártó vagy forgalmazó ( ULTRAMEDIA) Előre is köszönöm : Öreg T
Arra azért figyelj oda, hogy amiről te beszélsz 0,2ohm os ellenállás, az valójában 0,02ohm. Nem mindegy.
sziasztok meg uj vagyok a temaban es most lesz 1 bulim es szeretnek csinalni egy 3 szinu egoS (RENDES NAGY)fenyorgonat ugy hogy eloszor az egyik aztan a masik es vegul a harmadik
hozzaszolasaitokat elore is koszonom :worship:
Sziasztok! Ide írok, mert sajnos, amit szeretnék, nem tudom van-e meghatározott neve, így keresni sem tudtam.
A következőre lenne szükségem: Van egy 50kHz-es oszcillátorom, aminek a kimeneti négyszögjelét egy "szabályzón" keresztül szeretném késleltetni 0 és 360 fok között úgy, hogy a kimeneten is négyszögjel legyen, azonos bemeneti frekvenciával bemenethez képest. Erre kérnék tippeket, ötleteket, kapcsolásokat. De az is jó, ha megmondjátok, van-e konkrét neve annak, amit szeretnék! Előre is köszönöm segítségeteket!
Milyen a kitöltési tényezője a bemenő jelnek, és milyen legyen a kimenőé?
Monostabil multivibrátorral megoldható.
Pontosan nem tudom, de szerintem 30 és 50 % között lehet. Jó lenne ha ugyanez lenne a kimeneten is.
Többlépcsős megoldás ugrik be elsőre: egy monostabillal a felfutó élre indítva tűimpulzusokat kell gyártani, ezzel indítani egy második mono-t, aminek az (késleltetési) idejét potival állíthatóan kell kiképezni. Erről indítani egy harmadikat, amin beállítod fixen a kívánt kitöltési tényezőt.
Üdv ic-nélküli kapcsolási rajzot keresek egy (Hangváltóhoz) vagy egy aluláteresztő szűrőhöz. Mélynyomó elé.
Adataim semmienek sincsenek.
Üdv, mi baj van az IC-vel?
Magával az ic-vel semmi,csak a beszerzésével,havonta kb.: 2-szer járok boltban.És mostanában nem is tudnék.
És a dolog már kezd sürgőssé válni.(Ezt nem feltétlenül sürgetésnek írtam.)
hát akkor nem tudok segíteni sajnos.
Sziasztok! Keresnék kapcsolást egy inverterhez 12V-ból kéne 24V-ot csinálnia. Egész pontosan egy kocsiba kéne tehát ~11V-14,4V-os értékeken belül kéne működnie. Ha már 5A-t tud az elég a meghajtandó eszközökhöz. A válaszokat előre is köszi.
épp most dolgozok egy ilyen fesz kétszerezőn.
Sziasztok!
A T2115MTX -silver color tipusú Orion TV kapcsolási rajzát keresem. Az R645 és C618 pozíciószámon lévő ellenállás és kondenzátor értéke kellene. A felismerhetetlenségig megsültek. Előre is köszönöm.
valami kicsit bővebbet is elárulsz a dologról?
Persze, épp a napokban jöttek meg hozzá az alkatrészek, véleményt nem tudok még róla mondani, mert még nem építettem meg, időhiány miatt.
Mellékelem a kapcsolást. Szimulátorban nézve működik, többet egyenlőre nem tudok mondani róla. Remélem segítettem. Üdv.
Szia!
R645: 2.2K 2W C618: 7.5nF 1600V
Hello!
Bocs, hogy belepofázok, de én mellőzném ezt az egészet, nem méltó a nevéhez. Ha egy 34063-as IC-t megnéztek, akkor azt egy tranyóval megfejelve már ott is a megoldás. De itt a fórumon is számtalan jobb kapcsolással találkoztam már. (Igaz azokhoz általában tekercs kell.) üdv! proli007
Már hogy lenne baj, proli mester, ne viccelj!
Én ezt is itt találtam, gondoltam összedobom, igazából egy páka elé kellene, 12V-os trafóm van, vagyis igazából nem is trafó, hanem egy spot trafó, vagy kapcsi táp, nem is tudom minek nevezze, szóval, az után gondoltam hogy 12V ról felnyomja a feszt 24V-ra, azért gondoltam erre a kapcsolásra, mert összedobtam a fórumon keringő kapcsolást ami 100W-os torroid tekercses, működik is csak rossz a hatásfoka, rengeteg áramot vesz fel ahhoz képest mint amit lead. ERRŐL van szó. Tudod még te mondtad hogy is van ez a régebbi tokozás, szóval működik a kapcsolás, szép négyszöget mérek a tekercsen, csak rossz a hatásfoka, ezért gondoltam , hogy kipróbálom ezt az IC-s megoldást. Egyébként mi a baj vele? Üdv. |
Bejelentkezés
Hirdetés |








