Fórum témák
» Több friss téma |
Hello mindenkinek!!
Nos a problémám az lenne, hogy szeretnék építeni egy erősítőt ami 9V-os elemről működik, az mp3 lejátszóm jelét szeretném felerősíteni és a fülest szeretném rákötni. Tudna vki küldeni nekem egy kapcsolást+nyákrajzot?? Előre is köszi
Szia!
Nézd meg ezt: megafon link Ezt megépítettem, és remekül működik. Nem tudom, hogy a be- és kimeneti jelszintek mekkorák Nálad, és mekkorák ebben a kapcsolásban, de alapnak jó (sztem).
Vagy akár itt is szétnézhetsz:
[link=http://www.hobbielektronika.hu/forum/topic_1074.html]http://www.hobbielektronika.hu/forum/topic_1074.html[/link]
Itt egy neked való kapcsolás!
Egyébként ha szétnézel ezen az oldalon, elég sokat fogsz találni, úgyhogy hajrá!
Bocsi srácok de amiket irtatok mindenhol mono erősítő kapcsolások vannak. Nekem sztereó kellene.De azért köszi
Valamiért nem jött be a link. Talán most jó lesz.
Üdv!
Szerintem felejtsd el ezt a megolsást. A kereskedelemben kapható 9V-os elemeknek olyan kevés az áramuk, hogy 10 perc nem sok, annyi ideig sem fog működni az erösítő. Sajna ez van! Üdv: mechanikus
Köszi a jótanácsot de tudtommal vannak tölthetőelemek is amiknek jó a minőségük
Idézet: „Bocsi srácok de amiket irtatok mindenhol mono erősítő kapcsolások vannak. Nekem sztereó kellene.” A sztereo erősítő felfogható két, egymással párhuzamosan működő mono erősítőként is, ergo ha egy mono erősítőt látsz, és azt két példányban építed meg, akkor egy sztereo erősítőt kapsz. Persze, a profi megoláds egy szereo erősítő, ebben igazad van.
Szia !
9V-ról is megy ! http://torolt_link6/webtartalom/kapcsolasok/tda1517/tda1517.pdf Üdv! link javítva. szabi83
Szia!
Én építettem nemrég ilyet! LM386-os végfokkal, 9V-os elemről, bár ez kis hangszórókat hajt meg. Hordozható erősítőnek szántam, de ez még csak egy teszt verzió. Egy, a Lidl-ben kapható 9v-os elemről hajtom, már vagy egy órát használtam nagy hangerőn, de még bírja! (8,valamennyi volt van még benne) A hangja sem rossz!
Szia !
Miért nem nyert ? Nem jó a rajz, vagy nem jutottál oda ? Ha nem jutottál oda akkor ........ Üdv !
Hello ndavid87!
Tudnál küldeni ehhez az erőlködőhöz kapcsolási meg nyák rajzot?
Itt van!
Forrása, Willi Priesterath Hobbielektronika című könyve. Sajnos csak ilyen kapcsolási rajzot tudok csinálni. (Ilyenről szoktam nyáktervet csinálni) Próbapanellel kijelölgetem az alkatrészek helyét egy papírlapon, azt átrajzolom egy fóliára, a pontokat átmásolom a panelre, összekötögetem őket, és maratás.... Nekem bevállt! A kapcsolás egyébkén 0,7W-os (Az ic első lába az, amelyik a 10µF-es kondira csatlakozik)
Csatolom a képernyőfotót.
Azt írja az extra, hogy nincs a szerverén...
Miért nem használsz tervezőprogit? Pl. Eagle...
Ez tünt a legegyszerűbbnek.
Szórakoztam már ilyen progikkal, de akkor nem sokra jutottam velük eddig. Végül is, mivel saválló filctollal rajzolom meg a peneleket a kész panel nem lesz olyan, mint a kinyomtatott nyákterv, akár mivel is csinálom. Persze a programok jobb, gyorsabb és pontosabb munkát tudnak végezni, mint én, ez természetes. Idővel talán majd tálok én is valami más módszerre, de addig marad ez. (Nem rossz ez a módszer sem szerintem!)
Én legelőszőr, úgy csináltam, hogy a beültetés felöli nyákot tükrözve nyomtattam ki, majd indigóval + a kinyomtatott tükör képpel rárajzoltam a vonalakat a nyákra, majd filcel kihúztam ahol indigos/vonalas lett.
üdv
Szia !
Sajnos a fórumban való linkelésnek meg van az a "hibája" hogy az extra.hu-s linket belső linknek, kivülről nem hozzáférhetőnek tekinti. Ennek megoldására irtam a link szövegének magát a linket, hogy esetleg aki feltalálja magát , és kijelöli a link szövegét valamint azt beilleszti a böngészőjébe, könnyedén eléri a nevezett helyet. :yes: Üdv ! Van megoldás hogy a link link legyen, csak nem tudom mit kell a linkbe + beilleszteni
Szia !
Ismerkedj meg a Sprint-Layout programmal. Egyszerű, érthető, és hála nekem magyar is lehet Üdv!
Aha! No, ez az, amit nem tudtam. Azt hittem, hogy valami okból (már) nincs fent a szerveren.
Köszi, idő közben megleltem!
Ez jó dolog !
Én is épitek egy ilyen erösitöt ha lessz idöm. Itt egy másik lm386 al müködö erösitö rajza. http://www.elektrolight.hu/alkat/integralt/A-ana-k/a-lm386.png
Sziasztok!
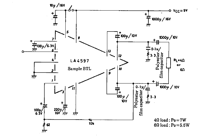
Van egy 2.5W-os 3.2ohm-os hangszóróm, ehez akarok építeni egy erősítőt. Találtam itthon egy LA4597-es IC-t, meddig menne egy 9V-os elemmel? Vagy ha van másik kapcsolás, ami ehez a hangszóróhoz jó, és megy egy 9V-os elemről, elkülditek? Előre is kössz.
Lm386-hoz sztereóban gyártottam gyorsan nyákrajzot,mert unatkoztam.Mindent nyákcsatlakozóval csináltam,mert az van itthon meg olcsó is.
|
Bejelentkezés
Hirdetés |







ehhez az erőlködőhöz kapcsolási meg nyák rajzot? 

, és kijelöli a link szövegét valamint azt beilleszti a böngészőjébe, könnyedén eléri a nevezett helyet. :yes:






