Fórum témák
» Több friss téma |
Mielőtt kérdezel, a következő két dolgot ellenőrizd!
I. A helyes tápfeszültségek megléte.
II. A kimeneten van-e egyenfeszültség.
Élesztés.
Köszönöm
Igen arra kerestem és annyit megállapítottam közben hogy a tranyó jó és valahol egy ellenállás értékéből fakadóan nem működik a dolog (R38 értéke tisztázatlan számomra) mert az a poti ami a fesz.-t szabályozza az nem használható ennek oka folytán (elvileg kicserélem és mennie kellene... de még ott tartok hogy leellenőrzök még egyszer minden diódát). üdv
Üdv mindenkinek!
Én megépitettem ezt az erősitőt-http://www.hobbielektronika.hu/forum/files/c1/c1cdec4f1fed404fb04223ae0686588b.jpg És az volna a kérdésem hogy, ugyanolyan bemenő feszültség mellet mint az eredeti (+-40V), kicserélném a végtranzisztorokat TIP142és TIP147 helyett BDW83 és BDW84 tranzisztor párra helyettesitve, kb. mennyivel volna erősebb az erősitő az eredeti 120W helyett? A válaszokat előre is köszönöm!
Az ellenállást nem a drain-be hanem a source-ba kell rakni. Hogy mekkorát az sokmindentől függ. Függ a pápfesztől, a terhelőimpedanciától, és attól is hogy milyen védelmet akarsz. Ha csak egy sima áramkorlátot, akkor akkora fesznek kell esni az ellenálláson hogy ki tudjon nyitni egy tranyót. 8ohmos terhelésnél ez általában 0,33-0,47ohm körül van, utána kéne számolni. 4ohmos terhelésnél fele akkora, mert akkor 2* akkora áram folyik.
A Vf2-nél a védelem elég kritikus, mert a betett ellenállás a vezérlőjelet is megeszi, rontva ezzel a kivezérlést. Megfelelően kell méretezni és akkor jó lesz. Ha csak rövidzár védelem kell és nem áramkorlát, akkor jobb egy visszahajlót beletenni. Ennek az (is) a lényege, hogy elő van feszítve a tranyó, így a nyitásához nem kell 0,6V hanem mondjuk csak 0,2. Ekkor elég egy 0,1ohmos ellenállás is, nem fog annyit fűteni, és a vezérlőjelet sem eszi meg.
Nem hiszem hogy a bemenő feszültséged lenne a 2*40V inkább a tápfesz. Mivel ez nem változott és a terhelés sem , mitől lenne erősebb?
Egyébként a helyedben 4ohmmal nem terhelném, 8ohmon pedig csak kb. 85W-os.
Akkor hagyom benne az eredeti tranyókat, de miért nem ajánlatos terhelni 4 ohm-val?
Mert én annyival fogom terhelni
Hello köszi a választ , és ha beteszek elé egy előerősítőt akkor az valamekkorát növel a vezérlő jelen nem?
Ha jól értem akkor a képen jelzett helyre kell betennem az ellenállást ? Én úgy olvastam anno hogy 0,22ohm körül elég neki ,bár ez a 0,33-0,47 nem nagy eltrés. A tápfezs az 40 V lenne így hogyan számoljam a dolgokat.Szóval egy kis magyarázást kérnék az ellenállás méretezésének elméletéről, ha esetleg más erősítőbe is ilyet kellene tennem , és áramkorlátot szeretnék benne megvalósítani. Előre is köszönöm a választ.
Sziasztok!
van itthon 2db TDA 8947-es ICm... ebből szeretnék építeni itthonra egy erőlködőt... először is véleményeket kérnék, meg ötleteket,, kapcsolási rajzot! Várom válaszotokat! üdv,
hűűű elnéztem az ellenállást de mindegy mert így is úgy is több a kelleténél mert nem 38 hanem 39-es node most már végképp nem tudom mi baja van
már mindent átnéztem a tranyók még jók voltak a suliban.... mind működött mert béta-mérővel lettek lemérve... a táp most jelenleg 22 volt hejett kiad 27-et... és nem tudom visszavenni.... szóval foggalmam sincs hogy mit tegyek valaki tudna segíteni nekem? köszönöm
Azért nem mert ekkora tápfesszel 4ohmra már kijönne belőle 150-160W amit ha a védelem nem korlátoz, nem bírnak a tranyók, elfüstölnek. Hogy a védelmed éppen hol korlátoz azt nem tudom.
Itt nem a bemenőjelről van szó, hanem a dióda-820ohm alkotta láncon eső feszültségről ugyanis ez nyitja ki a fetet. A tranyón folyik kb. 4mA ez pont annyi feszültséget ejt az R-D tagon hogy a fet kinyisson. Általában 3,4-3,6V kell neki hogy kinyisson, ha ott van a source-ban egy ellenállás amin esik még plusz 0,6V, nem fog kinyitni. A tranyók áramát pedig nem lehet a végtelenségig növelni hogy nagyobb legyen a feszültségesés az RD tagon.
Azt nem írtad hogy 4 vagy 8ohmot fognak-e hajtani. A tápfesz 40V lesz vagy 2*40V? 2*40V-nál csak 8ohmos hangfalat használj, vagy csökkentsd a tápfeszt. Ha nem fogod változtatni a terhelést akkor (de csak is akkor) visszahajló áramkorlátot javaslok.
Aha értem, akkor hagyok mindent a régibe!
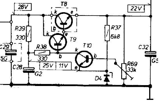
Szörnyű, hogy egy ilyen egyszerű tápegységgel mennyit tudsz problémázni. A működése röviden:
A "nyers" (stabilizálatlan) feszültség megérkezik a bal oldalon (28V) T8-T9 kollektorára. Nyilvánvaló, hogy a T8 a "nagy" tranzisztor (hűtőbordán), ami lehet egy 2N3055 is. Ezt a T9 tranzisztor vezérli, mely bármilyen kis BD (135, 137, 139), esetleg BC301 is lehet (hűtőcsillaggal). A T10-a hibajel erősítő, ide bármilyen BC megfelel (pl. a 182).Fontos a D4 szerepe ez egy ZPD 8,2-12 lehet (nem kényes, a potival teljes tartományt végig lehet állítani). Bekapcsolás után mérni a T10 emitterfeszültségét. Ennek meg kell egyeznie a beépített Z dióda feszültségével. Ekkor a bázisára ettől 0,6V-al nagyobb feszültséget állítunk a trimmerrel. Ha jó a tranzisztor (és a Z dióda), akkor el kell kezdődni a feszültségcsökkenésnek a T10 kollektorán. Ettől a feszültségtől a kimenőfeszültség 2X-es nyitófeszültséggel kevesebb (kb. 1,2V). A beállítás ezután már csak a kimenőfesz beállítására korlátozódik. Sajnos ebben nem tudok többet segíteni, ha ez alapján nem érted, akkor nem tudod megjavítani.
Nos számoltam és a 4mA és a 820ohm -all ez azt jelenti , hogy itt 3,28V esik ami a nyitáshoz kell , bár én úgy tudom , hogy a diódákon is esik kb 0,7V vagyis a nyitás kevesebb feszen következik be , illetve magasabb amperon (így nagyobb feszen is ) .A lényeg az lenne hogy itt mekkorára nő fel az ampre és a fesz ?Tehát amikor mondjuk a tranyó eléri a 15A kivezérlést akkor itt mekkora a felvétel ? A tranyó 19 A ig bírja ezt a határt szeretném korlátozni 15re. És a tápom 2*40V és hát jó lenne valami olyan megoldás ami műkködik 4-8 ohmos hangszróknál is , mert mint mondtam , máskor is majd ilyen akadályba ütközhetek és szeretnék tisztán látni ebben a témában . Egyébként arra gondoltam , hogy esetleg csökkenteni lehetne a 820 ohmos ellenállást és ehez mérten betenni a figyelő ellenállást .
Köszönöm a választ sokat segített (tényleg) meg van a hiba forrása de nincs itthon egy fikarcnyi BC182-esem se....
tehát a trimerrel elkezdtem csökkenteni a feszültséget (mértem a tranyó bázisá és ott tényleg csökkent), oké visszahúztam valameddig asztán mértem a tranyó emitterén is a változást, ami nem történt meg... tehát a dolog hibája az hogy a bétamérés után valószínű hogy szállításkor halt meg a tranyó... Köszönöm szépen mégegyszer a segítséget innentől már érteni fogom a dolgot de ha nem akor ismét szólok Üdv
Csináld meg a rajz szerint, így jó lesz 4 és 8ohmra is csak a 6,8k-s ellenállásokat majd nagyobbra kell cserélned mert így 4 ohmon már 40-50W-nál korlátoz. Nincs most kedvem számolni vagy szimulálni, majd kikísérletezed hogy mekkora kell.
Az 5k-s poti helyett tegyél sorba egy 2,7k-t és egy 1k-s trimmerpotit. A 0,1 ohm 2W-os fémréteg.
Azt már idehaza rakhatták bele, az eredeti tranyók a GD607/617 pár voltak,a rajz szerint.
Ohhh igazán köszönöm a bőséges válaszokat...
Lenne egy kérdésem
Es meg pedig (Fájlmelléklet) elszeretnem kesziteni ezt az erositot ![]() Csak kene egy nyakrjaz a Figure 5 vagy Figure 6 , Es meg valami van othon egy trafom ami 2x23V/2A ha jo hozza ... ha nem akkor mient vegyek ? mert nagyon jonak tunik a telyesitmenye az IC - nek !Koszonom
Helló!
Azt szeretném meg kérdezni,hogy kinek van meg ennek a a nyáknak a kapcsolási rajza?Vagy valaki nem tud hasonló és egyszerű max 200W Fetes erősítőt nyákkal meg a többivel?
Ha itt rákeresel ennek a nevére, akkor neked is meglesz a kapcsolási rajza.
Az általad feltöltött doksiban van kapcsolási rajz, nyákterv is! És még ha lefordítod valami fordítóprogrammal, biztosan lesznek benne ötletek is. Kapcsolási rajzot miért kértél? :O
Szia! Igen jó! Bár én a kissebbet árulom GTC 4-M de már sokat eladtam!
Jó kis cucc!
Helló!
Kösz
Sziasztok!
a jelenleg benne található tranzisztorok a következők: 2X AD161 2X AD162(az erősítő tranzisztorai) és 1X KD602(tesla, ez van a tápban). Üdv
Sziasztok!
A napokban megcsináltam régóta rossz Sony TA-FE320R erősítőmet. Végfok(STK4231 II) baja volt, kicseréltem. Annyi probléma azonban maradt hogy kis hangerőn torzít, és nem tudom hogy miért. Próbáltam lentebb venni a bemenő jel erősségét de nem javul. A kimeneteken 0.01-0.03V egyenáram mérhető. A kicsatoló kondik, és az erősítő összes elkoja rendben van. Mi okozhatja ezt? Előre is köszönöm.
Szia! Nem biztos, hogy igazam van de az egyenfesz annyi elfér de lehet, hogy kevés a nyugalmi áram és nem nyitnak ki rendesen a végtranzisztorok.
De hallgass meg okosabbakat is
Valószinű utángyártott az IC, és ez pont nem sikerült
Kinai csoda ?
Szia! Nézd meg ezt!
http://www.kunszeha.hu/webshop/index.php?productID=693
Lényegében semmivel, mivel nem a végtranzisztorok, hanem a tápfeszültség szab határt a teljesítménynek. +/-40V-ról 3V eséssel számolva 26Veff (szinusz) érhető el a kimeneten, ez 8 ohm-on 84W, 4 ohm-on elméletileg 168W. 4 ohm-os terhelésnél is 10A alatti a csúcsáram, tehát nem a tranzisztor a kevés, ezekhez a 100V-os tranzisztorokhoz viszont nem illik a +/-40V fölé menni lényegesen (ami már jelenthetne teljesítménynövekedést is).
Szia! nem tudom hogy milyen gyártmány egy sima kis fóliatasakban volt.
|
Bejelentkezés
Hirdetés |





már mindent átnéztem a tranyók még jók voltak a suliban.... mind működött mert béta-mérővel lettek lemérve... a táp most jelenleg 22 volt hejett kiad 27-et... és nem tudom visszavenni.... szóval foggalmam sincs hogy mit tegyek 







