Fórum témák
» Több friss téma |
Fórum » Akkumulátor töltő
HellO!
Meg lehet tenni, de akkor a shunt ellenálláson már 10W fog füstölni. Tehát célszerűbb inkább a shunt ellenállást a felére csökkenteni, még akkor is 5W lesz rajta. És biztonság kedvéért akkor is célszerű 10W-ossat alkalmazni. üdv! proli007
Rendben, utánanézek mi hol, mennyiért kapható. És majd jelentkezek. Sajnos akkor trafót is kell szereznem.
Köszi az információkat!
Nem baj ha fűt.
Legalább most már be tudom bizonyítani a nejemnek,hogy miért nem kellett kidobni a rossz vasalókat. Ezt megcsinálom,szimpatikus.
Helló!
Úgy döntöttem hogy a kapcsolások között lévő akksi töltőt csinálnám meg. Vaterán találtam 18V 220W-os toroid trafót, jó áron. És akkor ehhez pont megfelezném a kapcsolás teljesítményét. Tehát akkor a maximum 100Ah lenne. Tirisztorokat és diódákat nézegettem de igazából csavaros kivitelt nem találtam(ha jól gondolom elég ide 20A-es dióda és tirisztor is). TO220 tokozásúakat találtam, de gondolom ezeket nem ajánlod a rossz hőelvezetés miatt. Köszi !
Hello!
Elvileg jónak kellene lenni a TO220-as tirisztornak is, ki kell próbálni. De minden esetre egy tirisztoron kb. 1V esik, ha nyitva van. Ez 10W-ot jelentene 10A mellett, és a félhullám miatt ennek fele fűti a tirisztort. Úgy hogy ez akár jó is lehet. De azért a dióda és tirisztor megfelelő hűtéséről gondoskodni kell. Na meg a jó szellőzésről. Minden esetre 20-25A esetén én jobban díjazom a dióda stílusú tirisztort. Nem beszélve a 2.5..4mm2-es hozzá vezető erős drótok rögzítéséről. Még így is előfordult, hogy amikor a barátom ki-be húzogatta a tirisztor modult, letörte a tirisztor anódját. Sajnos elég puha rézvezetőből készül, és a csavarozható fül hozzáhegesztése meggyengítette a lábat. Valaha sokkal masszívabb tirisztorok voltak. Az Orosz gyártmányúak megfelelően bikák voltak, szinte tönkretehetetlenek és az anód nem forr-fülre, hanem harisnyával volt kivezetve. Tisztes borda is járt hozzá. De a Cseheknek is volt olyan 25A-es (kék) tirisztoruk, amivel többször kinyomtam a 230V-on a 16A-es automatát, és ez után simán működött tovább.. üdv! proli007
Keresgélek és mielött megvenném azért megkérdezlek.
Olvastam vissza azt is hogy a tirisztor vezérlőt kiváltottad NE555 IC-vel. Ezt valaki megépítette azóta? Köszi előre mindent!
Hello!
Nem tudok róla, hogy valaki megépítette az 555 verziót, mert a szokásos módon, aki kérdezte nem válaszolt rá amikor elkészítettem a rajzot. A népek már csak ilyenek.. :yes: 10A-re megfelelő a BTY91, bár a kisebb feszültségű jobb lenne. (mondjuk "igazi"katalógus lapot nem láttam róla.) üdv! proli007
Nincs benne semmilyen védelem.A transisztor block,régi elnevezés.Azt jelenti kis fogyasztású solid tranzisztoros áramkörökhöz ajánlják a gyártok.Ezek a 9V-os pakkok 7db.1,2V-os cellából állnak,10,2V kell töltened.A 170mA/h csak 140mA/h tud,mig a 240mA csak 180mA/h teljesít kimértem.A kezdeti töltőáram 24-30mA lehet,töltési idő kb.8óra állapottól fűggően.
Helló!
Összeszedtem az alkatrészeket nagyjából. Lenne is pár kérdésem: LM747 hol szerezhető be? HQvideo és Lomex ahol összeszedtem az alkatrészeket. Egyiknél sincs. BD234 mivel helyettesíthető? Az áramvezérlő panelon a P2 potencióméter 5kohm-os lesz, hogy kell kiegészíteni?(Leírást nem nagyon értettem). Abban maradtam hogy akkor maximum 100Ah-ás legyen az áramkör. tirisztor, dióda, trafó, sönt-ön kívül mi az amit változtatni kell alkatrész értékben? És hogyan. Csak este 10-kor leszek, délután dolgozok. Köszi a segítségedet előre is!
Hello!
- Erre nem is gondoltam, hogy a 747 már nem kapható. Sajnos anno azért választottam, mert ez volt olyan kettős műveleti erősítő, amo offset-ezhető is volt. (Lehet ezt is át kellett volna terveznem LM358-ra, csak akkor az offset áramkörön is változtatni kellett volna. (Régebben volt precíziós OP14 amiben két db. op07 volt és a tokozása azonos a747-el, de még adatlapot sem látok róla, pedig volt vagy 20db. a kezemben valamikor.) Idősebb kollégák fiókjában, tuti lapul még néhány db. - A BD234 et, bármelyik kis BD-vel tudod helyettesíteni, csak PNP legyen. - A P2 poti 5kohm-ra való cseréjénél nincs semmi tennivaló. (Én huzalpotit használtam, és a 3kohm-os volt még a megbízható huzalvastagságú. Ezért került ez bele.) - A felsoroltakon semmi mást nem kell változtatni. A shunt ellenállást úgy kell méretezni, hogy végáramon 100mV legyen rajta. Ez 10A esetén 0,01ohm-ot jelent. (Egyébként PB20A rajzon ez a tény szerepel is.) üdv! proli007
Hello,
Ha a nagy kutatás mellett szeretnétek kikapcsolódni kicsit, akkor itt van ez......
Köszönöm a segítséget!
Ha időm engedi neki állok a paneleknek majd. Írok ha van fejlemény. pumoka neked is köszi!
szívesen!
Helló!
Öszeszedve az alkatrészek, úgy vélem hogy mégsem állok neki. Trafó és dióda tirisztor nélkül 13000Ft-ra jöttek ki az alkatrészek. Így inkább veszek valami gyári töltőt, jobban megéri. Amire kell az is megfelelő lesz. Azért köszi a segítséget!
Sziasztok !
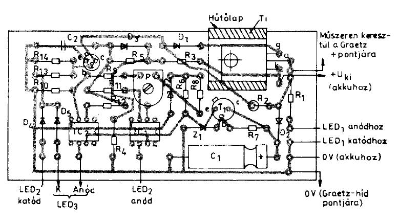
Már régebben megépítettem a mellékelt töltőt. Működik is, csak az áram beállítás nem megy, amire most a a használójának szüksége lenne. Az R12 értéke most kb 0.6 ohm, de lemerült akkumulátornál se tudok a T2 bázisán 0.5 V-nál nagyobb feszt beállítani. Már pedig akkor szerintem a T2 nem nyit ki és nincs áramszabályozás sem. Tehát az a kérdésem, hogy hol kellene módosítanom, hogy szabályozható legyen a töltőáram ? ( a kapcsolás egyébként a HE 1990/8 számában található) Köszönöm előre is ! (és bocs ha nagy sületlenséget írtam)
Mivel R12-n 5 ampernál még 0.33ohm értéknél is 1.5 volt esik ezért az osztóra ennek max. 83 százaléka kerül (12/10). Tehát én vagy az osztón vagy a soros R6 2.2kilón változtatnék elsőre. (minimum érték 680 ohm )
Végigjátszva a 0.6 ohmmal: az osztóra 5 A * 0.6 ohm = 3 V jut ebből R6-ig max. 2.5 V lesz 2.5-0.7 (0.7 a tranzisztoron esik) =1.8V ami 2,2 k ohm -nál 0.8 mA bázisáram ami nem kevés... Szóval szerintem méregess, valahol nem stimmel valami,esetleg tegyél be egy nagyobb bétájú példányt ...
Köszi a segítséget ! Majd próbálkozom, ha lesz időm....
Sziasztok!
A NiMH akkumulátorokról úgy tudom, hogy a legjobb, ha úgy töltik, hogy az akku hőmérsékletét figyelik, és ha elkezd növekedni, akkor van kész a töltés. Ezt meg lehet oldani egy komparátorral? És hogy lehet hőkontaktot biztosítani az akku és a hőérzékelő között.
Üdv
Ezen én is gondolkodtam és jó kérdés ![]() A komparátoron lehet olyat csinálni hogy egy érték felett adjon + jelet, vagy csak egy bizonyos értékre lehet? Mert ugye ha rákötsz egy LM35-ös érzékelőt, lehet hogy egyszerre 2 egységet is ugrik és már át is ugorja a komparátorra beállított értéket. Megnézek egy adatlapot hátha van rá utalás. Üdv Hát, nem lettem okosabb
Szia!
Lehet ilyet csinálni a komparátorral. Ha a nem invertáló bemenetére kötöd a referenciafeszültséget, és az invertálóra az érzékelőt, akkor ha a feszültség meghaladja az invertáló bemeneten a referenciafeszültséget a kimenet H szintre billen, és további feszültség növekedésre úgy is marad. Én csak azt nem tudom, hogy ez így kivitelezhető-e, és ha igen, akkor hogyan oldható meg a termikus kapcsolat az akku és az érzékelő között. És szerintem a referenciafeszültséget sem érdemes fixre választani, mert ha mondjuk beállítod, hogy 10fok hőmérséklet növekedésre kapcsoljon ki, nyáron lehet a szobahőmérséklettől kikapcsol, így én úgy gondoltam, hogy referenciafeszültséget is elő lehetne állítani egy hőérzékelővel, így a környezeti hőmérséklettől függetlenül ugyanakkora hőmérséklet növekedésre kapcsolna ki. Az LM35-nél olcsóbb egy termisztor, vagy egy fémtokozású tranzisztor.
Üdv
Egy egyszerű kapcsrajzot tudnál mellékelni? Köszi
Mondjuk EZ elég egyszerű. Itt ha az akku hőmérséklete eléri a 33°C-ot, akkor kapcsolja le az akkukat a tápról, de itt meg van adva, hogy 15°C és 25°C között használható.
ITT egy kicsit részletesebb leírás van ugyanarról az akkutöltőről.
Szia! Megépítettem a kapcsolást a NYÁKrajz szerint, de valami nem stimmel, de előtte elmondom, hogy a kapcsolástól ez+az eltér:
- nincs benne az ampermérő, de "helyette" van egy sönt ellenállás, ami 10W és 10ohm, de ennek a két vége rá van kötve egy sorkapocsra, hogy tudjak rá kapcsolni más ellenállást, vagy akár átkötést is. A többi cuccban annyi eltérés van, hogy más a trafó (19V, legalább 2A), és hogy a T1 az BC 301, a T2: BC 109, ja és hogy a Graetz nagyobb, ilyen volt itthon. A komparátorokat beállítottam, a LEDek, és minden jól működik, a töltőfesz is jó, kivéve, hogy nincs áramerőssége, akármilyen aksit teszek, akármekkora töltöttséggel, a töltés az 1mA, max. 2mA. Ha az aksi helyett egy ellenállást teszek, akkor van teljesítmény, az már rendesen felveszi, pl: 10W 1ohmosnál 0,7A, de ha átkötöm a fent említett söntöt, akkor 2,7A-t vesz fel. (C2nek kerámia kondit tettem, a gyári NYÁK rajzban fóliának van hely szerintem.) A gyári NYÁKrajz van mellékelve, és pár kép. Másik kondival jobb lenne vajon, vagy mi lehet a baja?
Belegondoltál e abba hogy a 10 ohm os söntödön 1 ampernél mennyi feszültség esik?
Elárulom 10 volt ... Úgyhogy ha megnézzük a 19 voltos trafódnál a graetzen esik 1.5 volt, marad 17,5 , a tirisztoron is eltűnik egy kicsi , marad 17 és ha 12 volt van az akkun akkor bizony fél ampernél több eleve nem jöhet ki. A másik, hogy megmérném az akkufeszt mikor rajta van a töltőn. Lehet azért kicsi az áram mert megnövekedett a feszültség.
Tudom, hogy a söntön mi esik, de ki van vezetve egy sorkapoccsal, melyre egy másik NYÁKot fogok kötni, melyen lesz egy tolókapcsoló, amellyel másik ellenállást kapcsolok vele párhuzamosan, így csökken a sönt értéke - > azaz növekszik a töltőáram... (Ezt írtam az előző hsz-emben is.) Mindig minden tesztelésnél mértem feszültséget és áramerősséget. Úgy is próbálkoztam, hogy átkötöttem a söntöt, vagy úgy is hogy egy másikat kötöttem rá. (A kapcsolós NYÁK még nincs kész az ellenállások méretezése miatt... Csak úgy rákötöttem a sorkapocsra.) Az áramerősség nem változott, csak a töltés közben mért feszültség, de az az aksitól függött. A fesz. nem volt nagy. (pl: 13,8V, de csak 1mA, vagy pl: 11V és akkor is csak 1mA, akkor is ha átkötöttem a söntöt.) Próbálkoztam azzal is, hogy egyáltalán le tudja-e adni az áramot. Szóval betettem egy ellenállást a töltendő aksi helyére. 10W 1ohm, és láss csodát 0,7A-t mértem, de ha még a 10ohmos söntöt is zártam, akkor már 2,7A-t vett fel a ,,töltendő ellenállás".
Az előző hsz.ben írtam ezeket, vagy félreértjük 1mást? Kíváncsi leszek erbe véleményére is. |
Bejelentkezés
Hirdetés |















