Fórum témák

» Több friss téma
Fórum » Bicikli "dinamó" generátor
 
Témaindító: Chappy, idő: Márc 11, 2007
Témakörök:
Lapozás: OK   1 / 5
(#) Chappy hozzászólása Márc 11, 2007 /
 
Sziasztok!

Egy ilyesmi kidolgozásán fáradozom: csinálok egy vízkereket, amit víz hajt meg, majd ezzel megvílágítok egy kis méretű izzót. Nos, akartam csinálni saját generátort, de találtam egy bicikli dinamót. Ez van ráírva: Typ: HD-6V-3W K 10877 BE-0023. Tehát 6 V, 3 W, ez asszem 0,5 A. Viszont ehhez mekkora energia kell? Mekkora egy ilyen dinamó hatásfoka? Milyen izzót érdemes vele megvilágítanom. Sajnos semmilyen mérési eszköz nem áll rendelkezésemre, hogy próbálkozzak. Az már meg van, hogy ezt a "mini-erőművet" hogy építem meg, csak a dinamó hatásfoka kellene, a többit pedig ki tudnám számítani. A dinamó tetején ez a "bigyó", amit lehet tekerni, 1,5 cm átmérőjú (ha ez érdekes). Szétszerelni nem tudom, max széttörni, mert van vagy 10 éves.

Küszi előre is a segítséget!
(#) Joci77 hozzászólása Márc 11, 2007 / 4
 
inkább 1 ablatörlő motorból csináld. régi skodás , annak állórésze mágnes és szépen lehet belőle Energi-t nyerni

Valamikor én is készítettem 1-et.tetőn van,szélmalom muter 4szedőkanala bánta kis aksik töltésére használtam
(#) Isti válasza Joci77 hozzászólására (») Márc 11, 2007 /
 
Mekkora lapátok kellenek hozzá?
(#) dobo hozzászólása Márc 11, 2007 / 4
 
Hmmmm
A dinamó tényleg nam jó!
Az blaktörlő motor siklócsapágyait pedig takarítsd meg és lásd el kenőanyaggal . :yes:
A lapátok mérete attól függ mekkora energiát akarsz kivenni belőlle.
Tipp:Ha ledeket üzemeltetsz róla akkor kicsi a terhelés és könnyen fog forogni.(széljelző)fuj nem fuj.
Amúgy ha normál izzót kötsz rá és kézzel megforgatod érdekes dolgot fogsz tapasztalni!!!!
Tanulságos és elgondolkodtató mekkora erő kell hogy egy kis izzó is világítson :boxer:
Ja és a lapátok lehetnek a fentemlített levesmerős vagy hagyományos propelleres.
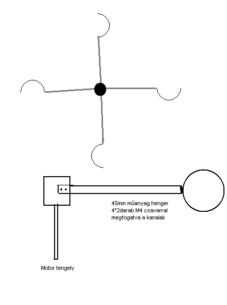
(#) Joci77 válasza Isti hozzászólására (») Márc 11, 2007 /
 
Talán kb.30centi volt a nyele nem emlékszekm talán 12acm átm. a kanál régen csináltam
de forog mint az állat

kana.GIF
    
(#) Isti hozzászólása Márc 14, 2007 /
 
kösz! majd megpróbálom!!!
(#) Isti válasza dobo hozzászólására (») Márc 14, 2007 /
 
már tapasztaltam, de elsősorban gyorsan is kellett forgatni mert 1.a U~v - szögsebesség
, 2.és akadályozza az áram az indukáló hatást
(#) Chappy hozzászólása Márc 14, 2007 /
 
Hát, nem tudom, kb. hány mA áramra lehet számítani és mekkora feszültségre? mert ha nem megy az izzó, akkor ampermérő (vagy feszültség?). Köszi a helpeket!
(#) A Jani hozzászólása Márc 14, 2007 /
 
Szia! A mellékelt pdf-ben találsz egy kis számítási példát és a dinamó működhet !!!

szelero.pdf
    
(#) Chappy hozzászólása Márc 14, 2007 /
 
60%.. az szép... Azt mond már meg, hogy ez a 0,7854 mi lenne, a közegellenállási együtthatója (shape factor) a testnek?
(#) MaSTeRFoXX válasza A Jani hozzászólására (») Márc 14, 2007 /
 
[off] Jaj ne ! A Fénykapu-s oldalról származik.... Csak óvatosan vele .... Elég sok olyan dolgot írnak le oda ami nem igaz, még ha matematikailag is bizonyítják...
(#) A Jani válasza MaSTeRFoXX hozzászólására (») Márc 14, 2007 /
 
Igaz!
De nem minden onnét van! (csak a dinamós kisfiú példája...)
[url]http://www.windstuffnow.com/main/wind.htm
Mellékelve a 0,7854 fellelhetősége!

Buckling.pdf
    
(#) Norberto hozzászólása Ápr 16, 2007 /
 
Sziasztok!

Meg tudná mondani valaki, hogy tekercsekben hogyan, milyen irányú elmozdulással lehet elérni a legnagyobb külső, állandómágnessel előállított gerjesztést?

Csatolmányban:

Egy "biciklikerék" látható, rajta mágnesekkel, méghozzá arra a felületre szerelve, ahol a V-fékek fogni szoktak (tárcsafékes cangám van, ezért ez a felület "szabadon használható" mindkét keréken). Tehát a képről leolvasható, hogy hogyan és merre állnak a mágnesek...a legfőbb dolog a mágneses erő iránya!

A kérdésem: a V-fék felfogató helyére milyen módon (milyen irányban) lenne legcélszerűbb felszerelni tekercseket, hogy a mágneses erő iránya a lehető legnagyobb feszültséget indukálja a tekercsekben?

Egyébként a mágnesek nagyon nagy erejű neodímium-mágnesek lesznek, ráadásul mindkét oldalon (jobb és bal) lesz ilyen "rendszer"...nem "csak" annyi mágnest teszek a cangára, mint amennyi a csatolmányon látható, többet is felszerelek majd, ha sikerül valami hatékony módszert összehozni...

A "távlati cél" az, hogy ha nem is túl nagy energiát, de valamilyen észlelhető mennyiséget sikerüljön kivennem a tekercsekből...

Bármilyen építő jellegű dolgot szívesen fogadok!

bicikli.jpg
    
(#) Joci77 válasza Norberto hozzászólására (») Ápr 16, 2007 /
 
...talán súrlódás mentes áramforrásra gondolsz ? jó ötlet
(#) Isti válasza Norberto hozzászólására (») Ápr 16, 2007 /
 
szerintem ez így nem teljesen lesz jó, viszont van egy ötletem, mindjárt lerajzolom...
(#) Isti válasza Isti hozzászólására (») Ápr 16, 2007 /
 
itt van

bic.GIF
    
(#) Isti válasza Isti hozzászólására (») Ápr 16, 2007 /
 
tehát sztem polaritás váltva kell betenni a mágneseket, úgy gondoltam, hogy nagyobb mágneseid vannak, tehát1 sarka a kerék 1ik felén másik a másikon
nem tom érted-e? teccikérteni?
lehet h 300%-os lesz a hatásfoka, mert vmi ingyérenergy gép is ezt használja - de sztem nem működik, max 90% hatásfok, AC kimenet
(#) Gery hozzászólása Ápr 16, 2007 /
 
Akkor a hatásfok most 300 000 vagy 30 000?
(#) Gery válasza Isti hozzászólására (») Ápr 16, 2007 /
 
Amúgy teccik ez az ötlet ha lesz mágnesem megcsinálom!
(#) Isti válasza Gery hozzászólására (») Ápr 16, 2007 /
 
sztem ez nem működik, nem termel +-ot vagy hamar lemágnesezi a mágneseket...
A 300%-ot a neogén dinamónál olvastam, és mivel ez hasonlított rá ideírtam poénból
Szerintem 90%-os hatásfoka van...
tudjátok mit kell csinálni a bicóra?
rohad nagy,300w-os generátor, 6cellás vízbontó =elektromágneses fék!!!! + gyújtószerk, és fékezel lángcsóva nyúlik a bicódról nagy poén

:felkialtas: DE NEM JAVALLOM A DURRANÓGÁZKÍSÉRLETEKET(lehet vele szórakozni, de ne üvegből legyen, biztonsági szelep túlnyomásra és alacsonynyomásra (a durranógáz Így is tud robbanni-tapasztaltam(összeszívja az edényt!!!vagy leveri a tetejét(vagy ha nem tudja FELROBBAN :felkialtas:
(#) Isti válasza Gery hozzászólására (») Ápr 16, 2007 /
 
örülünk ha egy hatásfok 95%!!!
sztem 300% azt jelenti, 100%-ot befektetsz és ennek a dupláját kapod vissza (ingyenenergiában nem hiszek, csak a d etektoros rádióban )Majd akarok építeni

A vízbontás igényli az áramerősséget(1-2A nem váltja meg a világot kivéve ha sorbakötözöl cellákat )

elkészül a vízbontóm(4 cellás) pontosan leírom nektek, mit hogy kell csinálni, mire kell törekedni
(#) Isti válasza Isti hozzászólására (») Máj 4, 2007 /
 
Norberto mit szólsz hozzá, ill. mit szóltok hozzá? Jó lehet?
(#) Norberto válasza Isti hozzászólására (») Máj 4, 2007 /
 
Melyikre is gondolsz pontosan? a Neogen dinamóra? Múltkor tanulmányoztam egy picit, és tényleg csúcs szerkezet, de egy ilyet felapplikálni a cangára nehéz lenne, és ez még csak enyhén van kifejezve
(#) Isti válasza Norberto hozzászólására (») Máj 4, 2007 /
 
igen arra...

(egyébként sok ilyen szerkezetet néztem meg és arra lettem figyelmes, hogy a 10%-ukban, vízbontók, áramtermelők, stb egy érdekes geometriai alakzat van.)

A legtöbb ingyenenergia gépben nem hiszek...
(#) Norberto válasza Isti hozzászólására (») Máj 4, 2007 /
 
Én se nagyon, pedig lassacskán létezni fog

Majd amikor már kordában tudják tartani az antianyag és anyag heves "reakcióit", majd onnantól kezdve megnyílik a lehetőség a töménytelen energia-felszabadításra...
(#) Isti válasza Norberto hozzászólására (») Máj 4, 2007 /
 
Én fúzió-párti vagyok...
(#) kerteszsasa hozzászólása Máj 9, 2007 /
 
Hi
Régebben olastam egy érdekes cikket bicikli dinamó teljesítményének növeléséről. a lényege az volt, hogy a dinamókat ahogy forgatjuk terhelés nélkül is van egy néhány olyan pont ahol mitha megakadna. Ezeken a tengely átugrik, és ezt úgy küszöbölték ki, hogy 2 dinamó tengelyét szembefordították egymással, és összekötötték, természetesen fáziseltolásban.
Az így összerakott dinamópár már könnyedén gördül.
Ezzel nem nő a tejlesítménye, csak könnyebb hajtani a bringát, és ez nem 1 utolsó szempont. Ezt itt is lehetne alkalmazni. /ha jól emlékszem a terminál fórumon olvastam/
bocs h ilyen hosszú lett
(#) dexter00000 hozzászólása Máj 9, 2007 /
 
Hy!

Nekem van egy Skoda generátorom. Arra gondoltam, kiveszem a dióda hidat, így kapok 3 fázist kb 3 kHz-est 12V-on. Erre trató, és kész a 230V. A freki nem számít, fűtené a bojlert szerintem. A kérdésem az lenne, hogy ki lehet-e venni a diódahidat valahogy, mert a generátort még nem szedtem szét? A trafót néhány db U57-es magra tekerném. Legjobb tudomásom szerint ezen a frekin kb 40W-ot tudna egy mag.
(#) kerteszsasa válasza dexter00000 hozzászólására (») Máj 10, 2007 /
 
Természetesen ki lehet venni, nem nehéz szétszedni (5 perc), de akár benn is hagyhatod, rövidre zárva
(#) Koki hozzászólása Okt 8, 2008 /
 
Sziasztok. Ez az első témám, hát bajban vagyok ezért muszáj hozzátok fordulnom. Én egy kerékpárra készítettem egy áramkört, ami a dinamó 12C-ját használja (váltó). Ezt egyenirányítottam és egy 7805-ös IC-vel kaptam a végén 5V-ot(5,06 a mért adat). De sajnos az amperszámot nem tudom állandósítani. Ha lenne valakinek alami jó 5-lete erre azt szívesen ellvasom.
-2. kérdés - ue. az áramforrásom, de erre szeretném egy nagyobb teljesítményű világítást. Szerintetek meg lehet e ezt valósítani? Nem fontos olyan magas teljesítmény mert végül is ez nem egy kocsi . De valahogy az a gyatra fény semmi.
Mindenki válaszát előre is köszönöm. Az 1. kérdéshez
Ui.
ittt egy kép a jelenlegi áramkörről. Az egyenirá
nyítást egy grace hidas egyenirányítóval oldottam meg. Ha valakinek netán van használható elképzelése az tegye meg h likel egy képet. Bocs h ilyen hosszú voltam

rajz.JPG
    
Következő: »»   1 / 5
Bejelentkezés

Belépés

Hirdetés
XDT.hu
Az oldalon sütiket használunk a helyes működéshez. Bővebb információt az adatvédelmi szabályzatban olvashatsz. Megértettem