Fórum témák
» Több friss téma |
Fórum » Csöves erősítő készítése
Ne feledd betartani a fórum viselkedési szabályait, és a topik megmaradásának feltételeit. [link]
A téma átmenetileg fagyasztva lett, hozzászólni nem tudsz!
A kimenő légrését sem piszkáltam még, alapon ezeket a négyszögjeleket tudja kb. félig kivezérelve.
Most már meghallgattam néhány monó lemezen, (így féloldalasan ) Jimmy Smith nagyon jól nyomta, elég mélyre megy, és még ott is van benne erő, pedig közel sem olyan szép a 20Hz-es négyszögjel alakja mint a 6C33C kimenőjének.Egyenlőre eddig jutottam...
A 10 kHz-es négyszögjelet valahogy még javítani kellene.( vcs. kondi finomhangolás) Mérni kéne a terheléssel 1µF párhuzamos kondival is, a két jelalak optimális kompromisszuma a jó hangzás szükséges, de nem elégséges feltétele. Jó duma, mi?
5 K már nagy Ra az 509-nek, de ebben a beállításban a nagy tápfesz miatt ekkora kell. Amúgy szerintem ebben a gyári? kapcsolásban pont az 509 előnye veszik el, a kis tápfesz és kis Ra. De ezt csak én mondom.. Amúgy 10-11W-ot sima triódában is mértem.
A max. 5W rácsdisszipációt miként tudnám ellenőrizni?
Megméred hány volt esik a segédráccsal soros 330 ohmon, ebből megtudod (kiszámolod) a segédrácsáramot, ezt szorzod a segédrács-katód feszültséggel és kész.
Kompenzáló kondik csökkentésével a 10KHz négyszög még finomítható . Meg kéne mérni kondik nélkül is , ha nem keletkezik berezgés , túllövés , akkor el is hagynám .
Az a 11W körüli teljesítmény szerintem elfogadható , mivel ez a kapcsolás nem tekinthető igazi pentódás beállításnak , inkább triódás (közeli) . Visszacsatolás mértékével is érdemes játszadozni , növelni addig amíg nem okoz berezgést , csak kíváncsiság miatt is , akár átkapcsolhatóvá is alakítható , ez segíthet meghallgatás során dönteni . Mérve biztos jobb átvitelt kapsz , szorosabb visszacsatolással , ha megfelelően sikerül kompenzálni , mély átvitelén is sokat javíthat .
Arra gondoltam én is, hogy megnézem a 330 ohmos ellenállás két végén a feszültséget a földhöz képest, innen kiderül mennyi esik rajta, de üresjárásban nem mértem különbséget, vezérelve meg már nem csak egyenfesz volt rajta... Lehet, hogy tegnap este kicsit fáradt voltam hozzá, ezért nem sikerült értékelhető eredményre jutnom, ma ismét megpróbálom.
Egyszerűbb ha nem földhöz képest méred , közvetlenül az ellenállás kivezetésein , kis méréshatárban .
Idézet: „Amúgy 10-11W-ot sima triódában is mértem.” Nem kétlem, de a korábban általad belinkelt kapcsolásokban is ennél a csőnél a DC csatolást valamiért mindig a segédrácson vezérelve (kiterjesztett trióda üzemmódban) érték el. Ez a DC csatolás fogott meg, ezért próbálkoztam ezzel...
Nem kizárt, hogy a kondik elhagyásával (a katódról történő visszacsatolás megszüntetésével) eltűnik a lekerekedés, ki fogom próbálni.
Amikor 2db 47 pF volt sorosan hasonló volt a jelalak mint most, de akkor még bent volt az első csőnél a katódkondi. Most anélkül és 2*4,7pF-nál is produkálja ezt a lekerekedést. A kimenőről történő visszacsatolással még próbálkozok. Ami még érdekel, mennyiben változnak meg a beállított DC értékek a meghajtócsövek cseréjével. Ezt is meg kell majd vizsgálnom. Azt azért leszögezhetjük, hogy a hálótrafó és a kimenő nem szorul módosításra? Vagy még ne hamarkodjuk el?
Más kérdés:
Szerintetek a "mi gyakorlatunkban" hasznát tudnám venni ezek közül valamelyiknek? (Néhány ezer Ft-ért megszerezhetőek. Régi műszereket nem gyűjtök, kacatnak nem kell, csak ha értelmesen felhasználható.)
Ez egy jó kis hangfrekis műszer :yes:
Ilyet én is szívesen vennék, ha olcsón adják...
Csővoltmérő, jó!
Ezekből több van, mert akkor jöhet priviben árajánlat, engem is érdekelhet. Függvénygenerátor nincs ott eladó, nekem az nagyon kellene. Csöves erősítőhöz mindegyik kell.
Szerinted érdemes építeni XR 2206-os generátort?
Próbáltad már?
Nekem 8038-cal van, és az elég jó ahhoz képest, hogy milyen olcsó… De ha ezt a saját témájában kérdezed, sokkal konkrétabb választ kapsz.
Sziasztok!
Elvi síkon egy csöves erősítő építésén gondolkodom! A vak(t)erán elég sok csöves videoton rádiót hirdetnek. Érdemes ezek erősítő részét felhasználni, vagy nem szabad velük foglalkozni. (R 4901, R 4900 stb.) Konkrétan arra gondoltam, hogy ezekből az erősítőt egy az egyben kiemelni! Köszi Pvinyo
R4901 táptrafója van nekem elbír 1db ecc83 at és 2db 6p1p-t
De többet nem...43mA csatornánként a táp 290V körül.. a graetz e felejtős az szelén, de 20ft ért veszel diódákat pl 1n4007 4db graetz kész. Kondi sem volt kiszáradva nekem az r4901 ben, de lehet az ki lesz... Egyben kivenni a végfokokat?, ha veszel kettőt nagyon olcsón miért ne...de kapsz két egyforma rádiót? Azért ha veszel R4901 et egy elipszis hangszóró kellene nekem, de az sem baj ha 2db
Köszi! Akkor kivitelezhető! OK észben tartom a hangszórót! A vakerán 3000/db-ért már lehet kapni ilyeneket! Nem tudom ennyit megér-e?
ECC83-as előerősítő méretezésnél lenne egy-két kérdésem.
Pcl86SE előfokát variálom, hogy jó legyen, eddig csak megcsináltam a neten lévő rajzokat, de most nekiáltam számolni. A tápfeszültségem 265V, annak a fele 132.5V, ahhoz h. a rács és a katód között meglegyen a -1V feszültség, 1.7mA adódott, ebből a nyugalmi áram 0.85mA lett. Ezekből azt számoltam ki, hogy az anód ellenállás 265V/1.7mA azaz 156kOhm, a katód ellenállás pedig 1V/0.85mA azaz 1.17kOhm. Ezeket betéve a Tinába kijönnek az értékek, a rács és katód között pontos 1V, az anódfesz. is kijön féltápfeszre, valamint 100mV 1kHz-es bemenőből 2.64V kimenő lesz, ami 32.5dB-s erősítést jelent. Szóval a kérdésem az, hogy jól számoltam-e a dolgokat. Majd ugyanígy megnézem a végcső ellenállásait is, mert ott még nem számoltam ki a dolgokat. A pcl86SE vonal szintről van hajtva, eddig mindig túlvezérlés problémáim voltak.
R4901 ben a táptrafó a kimenő és az egy szem végcső ami kell neked...
A kimenőt hirdetnek máshol is 5db ot 3000ft ért akkor már 2 párod van, végcsöveket 300-ft ért is vehetsz ilyen ecl pcl 86 82 et---ha kifogod, a táptrafó nem tudom... Én nem venném meg 6 e ft ért a 2db ot, hogy elbontva pár alkatrészem meglegyen. bár így egy duálmono erősítőt is csinálhatnál, de ennyi munkával már bözzén összevett alkatrészekből jobbat csinálhatsz. 6p14p ecc83 al hajtva 6p1p ecc83 al hajtva elegánsabb, int egy egybetriodapentóda. Az is jó. Majd eldöntöd.
A sztereó erősítőhőz két hálózati is kell mert 1db 4901 háló trafója meg fog sülni ha sztereó végfokot akasztasz rá. Oldalanként kell egy hálózati és egy kimenő. A pacsirta hálózati az elbír egy sztereó SE-t.
Lehet, hogy az egybe trióda/végpentóda nem annyira elegáns mint egy EL84 és ECC83 de hallhatóan jobb hangja van, igaz kicsit kisebb teljesítményt szolgáltat.
35mV, hát nem csoda, ha nem tünt fel a különbség
Még mindig szeretnék egy megerősítést, hogy rendelhetem Fleta mesternél a trafókat változatlan értékekkel.
Helló !
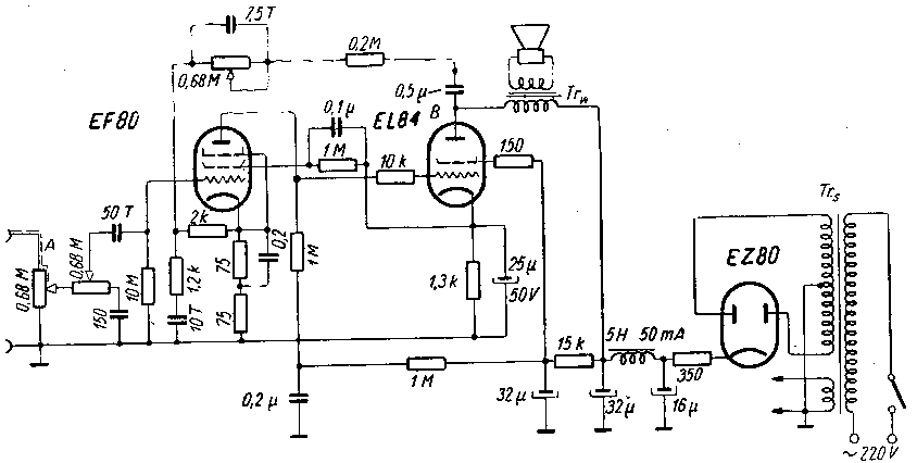
Nem tudna valaki véletlenül EF80 cső kapcsolási rajzot belinkelni ? Sehol sem találtam. Kösz !
Rábeszéltetek, végülis egy ilyen műszert szereztem be (ez a kép még nem az enyémről készült).
Kipróbáltam generátorral meghajtva több méréshatárban is. A hangfrekis tartományban frekvenciától függetlenül (persze a mérési pontosságon belül) jól mér. A műszer mutatója nem mozog, ha csak a frekvenciát növelem és az amplitúdót nem változtatom... Remélem majd a gyakorlatban is hasznát veszem a tudásának
Ha méréseket befejezettnek tekinted és nem kívánsz más módosításokat , csak akkor véglegesítsd a trafó adatokat .
Kimenő áttételét talán lehetne kicsit csökkenteni , ha könnyen megoldható , esetleg picit vékonyabb szek. tekercs megvalósításával .
-És egy erősítő kapcsolás vele.EF80_EL84amp
Megértettem. A kimenő módosítása nem oldható meg olyan könnyen, így néz ki, ezért gondolom teljesen le kell tekerni. Viszont eleve csak egy cséve készült el, hogy ne kelljen Fleta mesternek feleslegesen duplán dolgoznia.
Tehát a primer marad a szekunder menetszámot növeljük. Este nézek egy tényleges feszültségáttételt terhelve. Ennek ismeretében könnyebben meghatározhatjuk az elérni kívánt menetszámot. Tegnap kicsit játszadoztam a visszacsatolásokkal, bár nem fotóztam, néhány dolog azért kiderült: Katódkondi nélkül nem lehet eltüntetni a lekerekítést még a visszacsatoló kondik elhagyásával sem. Katódkondival viszont megjelenik a túllövés, ami kompenzálható az anódról történő néhány pF-os visszacsatolással. A visszacsatolás növelésével jelentősen javítható a 40Hz-es jelalak, és 10-20kHz között a szinusz alakja is szebb. Viszont ha növelem a visszacsatolást sejtem nő a fázistolás, ami meg gondolom nem annyira jó...
Próbáld meg úgy, hogy kihagyod a primerből a középső (ahova most a + megy) 3*137 menetet (ez még jó lehet valamire, pl. ellenfázisban ul leágazásnak, valamilyen visszacsatolásnak stb.). Igy a valós áttételed 25 körüli lesz, ami pont jó.
Belül kötötte össze Fleta, így ahhoz is le kellene bontani a felette levő tekercseket, hogy azt elérjem. Trafót tekerni meg ugye csak lefelé tudok...
Van a mesternél még egy cséve, amit más tekercsadatokkal el tud készíteni, és amelyik a befutó, annak megtekeri a párját.
Én úgy értettem , hogy teljesen új tekercseket akarsz készíttetni . Áttekerés nélkül nem lehet áttételt kis mértékben csökkenteni . Csak akkor érdemes felvállalni , ha nagyon kevesled a kivehető teljesítményt . A 10KHz négyszög pici lekerekedése még nem baj , ha a felfutó éle eléggé meredek , nem trapézosodik nagyon . Amennyiben nagyobb visszacsatolással sem keletkezett túllövés , vagy berezgés , akkor a fázistolás nem lehet túlzottan nagy. Fázistolás mértékét alapvetően a kimenő minősége határozza meg . Ha nagy lenne a kimenő fázistolása , akkor nem engedné nagyobb NFB használatát , gerjedékennyé válna .
|
Bejelentkezés
Hirdetés |


) Jimmy Smith nagyon jól nyomta, elég mélyre megy, és még ott is van benne erő, pedig közel sem olyan szép a 20Hz-es négyszögjel alakja mint a 6C33C kimenőjének.












