Fórum témák
» Több friss téma |
Szia! Nem igazán értem mit értesz hiba alatt. Kevés a leadott teljesítmény, vagy a clip jelző működésével vagy elégedetlen? Ha a clip olyan mint az 500-asé, akkor nagy pontosságot ne várj tőle, rajz esetén szívesen adok tanácsot hol érdemes beavatkozni.
Esetleg próbáld ki ezzel a Clip-jelzővel.
Igen, a kimenő teljesítményét keveslem. Egy 400w D-osztályú erősítő és egy CPA800B az összehasonlítási alapom, és ahhoz képest kevés. A clip led nem fontos, fülre szoktam beállítani a torzítást, csak érdekes, hogy korán elkezd már villogni.
Mekkora tápfeszültség van ebben a dobozban? A puffereken könnyen megmérheted. Abból már lehet számolni.
2x68V a tápfeszeszültség.
Abból sajnos 300-350W/4 ohm a plafon. Ha a másik két erősítőre rámérsz biztosan magasabb tápfeszültséget fogsz észlelni. Természetesen kapcsolásonként változhat a maradékfeszültség, és korlátozhatja a kivezérlést a helytelenül működő áramkorlátozó is.
Objektív eredményhez műterheléses méréssel juthatsz.
A D-osztályú tápja 2x90V volt a CPA800-é pedig 2x70V. Akkor ez van, így maradt.
A mérést jövőhéten megcsinálom. Köszönöm a segítséget!
Szia Reloop,ez a rajz ez működőképes?
Köszönöm
Szia! Alakítottam rajta párszor. Koncsar Gyurit kéne megkérdezni azonos-e a végleges verzióval. Nála gyönyörűen üzemel
Szia neki a 4 végtranzisztoros változat van megépitve,mert ha ez jó akkor valahogy átmásolom layoutba,ha sikerül akkor megépitem.Nekem csak a 2pár végtranzisztoros verzió rajza van meg,megpróbálom a rajzolást,legfeljebb ha nem sikerül akkor,,,hú de nem is mondom.Köszi
Köszönöm,ezt a verziót könnyebben lehet bőviteni esetleg ha nagyon kiváncsi lennék.Ennek véletlen a layoutos változata nincs meg neked?2 nap hajhullástól mentenél meg.
Sziasztok!
Nekem lenne egy olyan problémám,hogy nem tudok beüzemelni egy erősítőt és ebben kérnék segítséget. Ez egy Philips MCM-722 mikro hifi lenne. Kettő részből áll, nekem csak az alsó (erősítő)része van meg. Hátulján van egy 18 lábu IDA csatlakozó. Ezen szeretném valahogy kimérni a standby/on lábait a ki be kapcsolás érdekében. Kezdő vagyok a témában,multiméterrel szeretném kimérni. Teljesítményét is csak sacra tudom mert ilyen számú IC-t nem találtam csak megközelítőt. IC TDA8947J Esetleges segítséget előre is köszönöm.
Sziasztok!
Szeretném kérni a segítségeteket egy Technics SU-G75 házimozi erősítővel kapcsolatban ami sajnos feladta a harcot! semmi hangot nem ad ki csak ha a hangerőszabályzót tekergetem kattogó pattogó hangot hallat a hangszórókon keresztül esetleg tudnátok segíteni a megoldásban? illetve hogy mi lehet a probléma?
Szia! Nézd meg kap-e rendesen bemenő jelet!
A javítás menete úgy nézne ki, rajzot letölteni Elektrotanyáról, tápfeszültségeket ellenőrizni, majd lekövetni a jel útját. Bevallom nem könnyű.
helló kéne egykis segitség, adott egy jvc rx554r típusu erösitö és bekapcsolás után azt irja ki hogy (overload)ez mitöl lehet?
helló kéne egykis segitség, adott egy jvc rx554r típusu erösitö és bekapcsolás után azt irja ki hogy (overload)ez mitöl lehet?
Zárlat a kimeneten (kábelhiba?) vagy végfokzárlat.
nemhiszem h kábelhíba lenne mert levan minden huzva róla és ugyis irja a végfok zárlatot h szürjem ki?
nemhiszem h kábelhíba lenne mert levan minden huzva róla és ugyis irja a végfok zárlatot h szürjem ki?
Kérlek figyelj oda egy kicsit!
A dupla posztolást sehol sem tűrik. A mondat eleji nagy kezdőbetűk (és az általános helyesírás) itt a fórumon követelmény. Megértésedet köszönjük!
Helló senki nemtud valami tippet a gondmra?
Oké köszönöm a gyors válaszodat!!
A hozzászólás módosítva: Dec 10, 2013
Én inkább service-t javasolok.
![]()
Sziasztok!
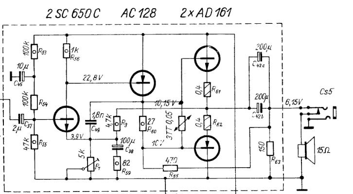
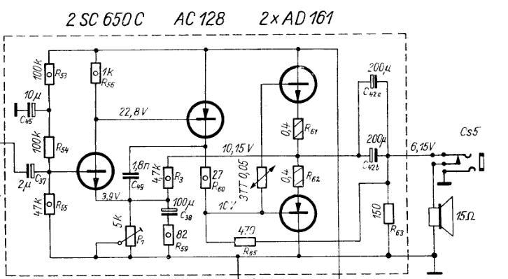
Az alábbi problémával állok szemben: javítom a BRG M11-es magnó végerősítőjét. A 2SC tranyó feszültségei rendben. A gond a Ge tranyóknál van, ott semmilyen feszültség nem stimmel, alkatrészek jók. Az első képen a rajz szerinti állapot szerepel, a másodikon a panel szerinti. A rajz alapján az AC 128 emitteréről egy 27 Ohmos ellenálláson jut el a jel az AD párosra. Viszont a panel szerint a 27 Ohm és a termisztor párhuzamosan van kötve. Melyik a jó ezek közül?
sziasztok
nekem van egy technics sa202 erősitőm bátyámitt volt tergnap és kelett neki hangszóró kábel mondtam vágjon le a hangfalébol de kapcsolja ki az erősitőt de nem kapcsolta ki és mikor elvágta történhetett valami mert mikor visszakötöttem a hangfalat a bal oldali csatorna nem szol mi lehet a baja ? a végfok mehetett ki? segitsetek pls
Értem. írták hogy az stk 0029 mehetett ki, de mértem multiméterrel szakadásvizsgálatot és minden oké a jobb és a bal csatornán.
Viszont a an -7060 tol mérve már csak a jobb oldali oké akkor az an7060 a végfok? és az an 7060 at hogy tudom megmérni hogy jo e? A hozzászólás módosítva: Jan 1, 2014
Az STK 0029 a végfok. Az AN7060 az előerősítő fokozat. Szkóppal tudod a legegyszerűbben vizsgálni.
Szia! Az a vonal véletlenül lemaradt. Egyértelműen feszültségkülönbséget kell képezni a végtranzisztor bázisok között, hogy legyen egy kis előfeszítésük, különben éktelen keresztezési torzításba torkollik a működés.
Kicsit korrigálom a leírásodat: az AC128-nak a kollektoráról megy a meghajtás (biztos csak elírtad). Paintold rá a germánium tranzisztorokon tapasztalt feszültségeket, megnézzük mi lehet a baja.
Köszi, igen kollektort akartam írni, hozzászoktam az npn tranyókhoz. Időközben megoldódott a gond, jó a végfok. Ez a rajz a Kádár-könyvből lett kiollózva. Megtaláltam a magnó gyári könyvét is, ahol már jó a rajz.
|
Bejelentkezés
Hirdetés |












