Fórum témák
» Több friss téma |
Szia! Szép munka! Gratulálok!
A hozzászólás módosítva: Ápr 23, 2014
Szia!
Ügyesen összehoztad! Gratulálok! papus51 A hozzászólás módosítva: Ápr 23, 2014
Nagyon szép jószág lett, elismerésem. Természetesen "van igény" a rajzokra, forrásfájlokra, ha publikusak, szerintem lesznek még utánépítők/követők.
Köszönöm az elismerést. Igen, minden publikus. Összehozok egy cikket róla.
Ez a függvénygenerátor nálam a zseniális konstrukciók közé tartozik. Nagyon egyszerű, olcsó, ehhez képest meglepően jó. A felső határfrekvencia nem túl sok, de rengeteg dologra használható. Érdemes így komoly kivitelben megcsinálni, frekimérővel kiegészítve igazán jól használható lesz. Ügyes, szép a munkád.
Hogy kötözködjek is, a három forgatógombot én távolabb tettem volna egymástól, egyik forgatáskor elakad az ujjunk a másikban. A hozzászólás módosítva: Ápr 24, 2014
A kondenzátor dekád mégy egy taggal való bővítésével, ami egy nagyságrenddel kisebb mint a legkisebb (kb. 100 pF) 1 MHz lesz a freki, ugye? Az adatlap szerint itt még elviselhető a torzítás.
Ha az XR2206-ra gondolsz, kísérletezéssel lehet belőni az elvileg 100pF szükséges értékét. Mert az ic. kapacitás és egyéb szórt kapacitások már a 100pF nagyságrendbe esnek. És kis hőfoktényezőjű legyen a kondi, pld. stiroflex. Nem baj, ha tekercselt kivitelű. 1MHz-en működik az ic., sőt 1.5MHz-en is, de ha jól emlékszem már kb. 5-600kHz-en elkezd csökkenni az amplitúdó. Ha lesz időm, teszek fel szkópképet 1MHz jelről.
Itt vannak jelalakok 100kHz, 1MHz, és 1.8MHz szinuszjelről az XR2206 ic. 2-es lábán mérve. A háromszögjel csúcsa kb. 500kHz-nél kezd szinuszosodni, a "Háromszög" nevü képen 1MHz háromszögjel van.
Tévedtem előző hozzászólásomban, hogy 5-600kHz-en elkezd csökkenni az amplitudó. Nem igaz, nem csökken, mint a képeken is látható. A hozzászólás módosítva: Ápr 25, 2014
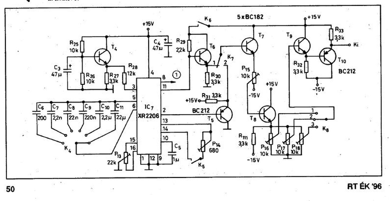
Szerintem nem rossz ez. Van valahol kapcsolási rajz a te generátorodról?
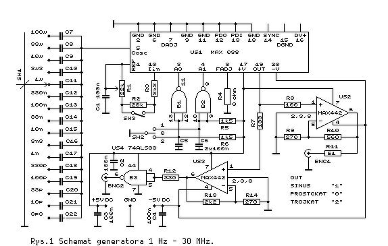
Az 1996-os Rádiótechnika évkönyvben van a teljes leírása. Az XR2206 áramköréről itt a rajz.
Most nézem az XR2206 árát. Ennyiért a MAX038-at is elküldik Kínából. Bővebben: Link
A hozzászólás módosítva: Ápr 26, 2014
És mennyivel jobb.., az XR2206 csak játszadozni jó.
De XR2206-al már megcsinálta Pali79. Csak gondolom javítgatni akarja.
Sziasztok.
Találtam egy AVR-es függvénygenerátort, forráskóddal, kapcsolási rajzzal. Ebay-ről megvásárolható, ATTiny25 Function Generator sort kiválasztva letölthető hozzá minden. 40kHz-ig írják, nekem szerintem elég lenne kezdésnek. Mit gondoltok róla? Esetleg másik IC-vel érdemesebb lenne foglalkozni? Köszi!
Ha szánnál rá többet, szerintem eléggé jobbak vannak. Pld: Bővebben: Link Nem ismerem ezt a masinát, csak az adatokból gondolom, hogy ez talán hosszú távra is jó lehet. Max. freki 5Mhz, és frekimérő is. Van rajta két forgógomb, a kezelését nagyban megkönnyíti a csak nyomógomboshoz képest.
Most látom, hogy megépíteni akarod, szerintem akkor is majdnem annyi, mint amit linkeltem. A hozzászólás módosítva: Máj 3, 2014
Szia.
Jól néz ki, ár-érték arányban jobban megéri amit linkeltél. Ilyet már nem építenék, ez már túlságosan nagy falat.
Sziasztok!
Szeretnék építeni egy függvénygenerátort. Az mellékelt kapcsolásra esett a választásom, némi kiegészítéssel. Legalábbis a nyákot már úgy tervezem, hogy meg legyen a helye. Volna néhány kérdésem. - van egy kapcsoló üzemű tápom (régi DVD-ből) ami lead +/- 12 V-ot, lehet-e hozzá használni (természetesen 5 V-os stabkockákkal), vagy bezavarhat (leárnyékolva a paneltől). - A körkapcsoló kondijait megcsinálhatom-e SMD kerámiákból vagy mindenképp fólia kellene, sajnos csak 1 nF-tól találtam nem kerámiát. Köszönöm, András
Inkább áteresztős analóg stabilizátort rakjál oda.
Nem kell semminek se zajosan , tüskésen pirickálni a tápjában. 7805 / 7905 páros jó lesz oda bőven.
Nagyon helyes darab!
Engem feltétlenül érdekelnének a rajzok, tervek és minden a megépítéssel beméréssel kapcsolatos tapasztalat. Épp építés elött állok, csak még nem döntöttem el melyik itt fellelhető kapcsolást választom, így jól jönnének az infók. Az első kérdésem mindjárt az lenne, hogy melyik IC-t használtad (CD4049BM, BC, UBE ...)?
Szia!
Nem mindegy melyik CD4049-es IC-t használod. Szenvedtem eleget emiatt. (Bővebben: Link) Üdv A hozzászólás módosítva: Máj 12, 2014
Szia,
Motorola MC14049UBCP van benne, mert az volt itthon. Lassan összeáll a cikk is, kis türelmet kérek. A hozzászólás módosítva: Máj 12, 2014
Igen, ezért kérdeztem!
kistee: rendben, várjuk a cikket. Üdv A hozzászólás módosítva: Máj 12, 2014
Sziasztok!
Lehet hülyeség, de elkezdtem az XR2206-os nyákját áttervezni smd-re és abban kellene egy kis segítség, hogy a tranzisztorokat milyen típusra cserélhetném? A BD139-140 páros helyett jó lehet a BDP949-950 páros vagy a BCX53 - BCP53 vagy 56 típus? BC557 helyett a 857, 550 helyett a 848, 547 helyett a 847? Köszönöm!
Örömmel jelenthetem, hogy időközben elkészült a cikk is, itt olvasható.
Dicséretes és követendő a példád , hogy cikket írsz és az után építésre bátorítasz minket!
A leírásból azt hiszem csak a lényeg maradt ki . Amivel a ebben a topicban többen belefutottatok és a siker/kudarc arányát befolyásolja. Történetesen az , hogy milyen típusú, gyártmányú CD4049-et kellene keresni és beépíteni. Mert nem mindegy , visszaolvasva ebben a másfél ezernyi hozzászólásban erre is fény derült. Ezzel a probléma körrel mi a helyzet ?
úgyúgy..osztom a véleményed...én 3 féle ic-t próbáltam ki, mire jó lett.
|
Bejelentkezés
Hirdetés |


















