Fórum témák

» Több friss téma
Fórum » Inverteres hegesztőtrafó
 
Témaindító: Gabi, idő: Aug 12, 2005
Lapozás: OK   140 / 565
(#) tpeter25 válasza dobo hozzászólására (») Okt 19, 2010 /
 
Annyit kiderítettem, hogy ha a konnektorba fordítva dugom be akkor nincs baj. De hogy ennek mi az oka, gőzöm sincs.
(#) X Sügi X hozzászólása Okt 19, 2010 /
 
Egy kis info. Nem tudom észre vettétek-e, de az UC2845 és az UC3845 csak hőfoktűrésben tér el egymástól. Ráadásul a 2845 javára. Mínuszokban is képes dolgozni, magyarul téli heggesztéshez is jó!
Na mondjuk nem mintha a gép nem fűtené fel magát...
Én is véletlenül jöttem rá..
Operating ambient temperature:
UC3845 0 - +70 C fok
UC2845 -25 - +85C fok
(#) mpisti válasza X Sügi X hozzászólására (») Okt 19, 2010 /
 
Így van. a 1845 pedig -55C foktól működőképes. Régebben ipari berendezésekbe nem is raktak kommersz alkatrészeket.
(#) X Sügi X válasza mpisti hozzászólására (») Okt 19, 2010 /
 
Akkor én már ezt rakom az Elektrosta-mba. Legalább ráragaszthatom a "téli üzemre felkészítve" matricát.
(#) JoeA válasza tpeter25 hozzászólására (») Okt 19, 2010 /
 
Szia!

Itt a szomszédban volt hasonló eset. A kábeltv-s szerelő fiúk hívtak, hogy segítsek, mert ilyet még ők nem láttak, szerintük én sem. A kábelmodem (LinCity) tápokat sorban nyírták ki, kb az 5. darab után jöttek szólni, hogy mi az ábra. Fordítva bedugva tökéletes azóta is. Korábban volt már ilyen számítógép tápos esetem, ahol az elégtelen földelés miatt csípett a számítógép háza. 3 napom ment rá, mire kiderítettem, hogy az egész lakás földelése, egyetlen helyen van közösítve, mégpedig egy folyosói konnektorban a nullával. Onnan szétvezetgetve a lakásban mindenfelé. Egy villanyszerelőcske csinálta, aki nem akart a villanyóra szekrénybe turkálni (hozzá teszem jogosan!!!) csak épp elfelejtette közölni a lakókkal a tényt. Földelés nélkül az itthoni szgép tápok is csípnek. Szerintem keress egy stabil földelt aljzatot és próbáld ki ott is. Nézd át az áram utakat, nincs-e véletlenül valahol a készülékház túl közel egy nagyáramú illetve nagy feszültségű elvezetéshez. A nagyfesz mindig, a nagyáram üzem közben indukálhat feszültséget a burkolatban, ha valahol transzformátoros jelleg adódik. Esetleg a panelek összeföldelése is segíthet, egyetlen közös pontba, mint az erősítőknél, természetesen megfelelő huzalkeresztmetszettel. Remélem segítettem.
Üdv
Zsolt
(#) tpeter25 válasza JoeA hozzászólására (») Okt 19, 2010 /
 
Köszönöm a választ, megtaláltam a bibit, de okot nem tudok. A műhelybe átdugtam egy másik konnektorba, és a hiba megszűnt. Ugyanaz a fázis, nulla és föld látja el mindegyiket. Szétszedtem a rossznak vélt konnektort de semmi.. Ha oda visszadugom megint ugyanúgy csíp. Mind1 most már tudom melyikből nem szabad hegeszteni
(#) JoeA válasza tpeter25 hozzászólására (») Okt 19, 2010 /
 
Szia!

Mérj egy földelés ellenállást, lehetőleg a villanyóra szekrényhez minél közelebbről mindkét aljzaton. Egy hosszabbítón keresztül is tökéletes. Ebből lehet baj más készülékkel is! Esetleg olyankor mondja fel a szolgálatot a földelés, amikor megérinted, rátámaszkodsz, tehát amikor nem számítasz rá! esetleg cseréld le az aljzatot olyanra, amin nincs földelés, nehogy véletlenül bajt okozzon!

Zsolt
(#) mpisti válasza tpeter25 hozzászólására (») Okt 19, 2010 /
 
Próbáld ki, ha fordítva dugod be a dugót akkor is csíp?
(#) tpeter25 válasza mpisti hozzászólására (») Okt 19, 2010 /
 
Már írtam, hogy a "rossz" konnektorba, ha fordítva dugom be, akkor nincs baj. De a másik konnektorba, akárhogy fordítom a hiba nem jön elő. Mindkét konnektornak ugyanaz a fázis, nulla, föld. Esetleg én gyanakszom arra, hogy a "rossz" konnektorhoz közel vannak bekötve az elektrónikus fénycsőelőtétek. Nem e azok zavarnak..
(#) mpisti válasza tpeter25 hozzászólására (») Okt 19, 2010 /
 
Szerintem a "rossz"konnektorodban védővezető szakadás van,és valahol az elektronika "szivárog" a test felé. Ez lehet hogy kissé murisnak tűnik,de találkoztam már ilyennel,hogy a hálózati zavarszűrő okozott hibát.
(#) tpeter25 válasza mpisti hozzászólására (») Okt 19, 2010 /
 
A konnektorba a földelés jó. Egyébként lehet hogy félreértettetek, mert nem a készülék háza csíp, hanem a hegesztő negatív pólusa.
(#) mpisti válasza tpeter25 hozzászólására (») Okt 19, 2010 /
 
Az viszont természetes dolog hogy csíp. Gondolj bele,mekkora az üresjárási feszültsége a gépednek?
50-60V körül lehet?
Nyilvánvaló dolog hogy csíp. Léteznek olyan kapcsolások,ahol a hegesztőfeszültség az elektróda testtel való érintkezésekor kapcsolódik csak be, és a hegesztés befejezése után még kb. 3-5s-ig marad ez az érték. Azután csak a pilotfeszültség van jelen a kapcsok közt, ez kb 12-15V között van. Ilyen pl. az EP-SYSTEM.
(#) VillTMK válasza tpeter25 hozzászólására (») Okt 19, 2010 /
 
Javaslom mérd meg a földhöz képest hány volt van a testen egyen benn és váltóban.
Ugyanis ha jól értem akkor a fölhőz képest csíp a test. Ennek viszont nem szabadna előfordulnia ha minden jó. Várom az eredményt.
Üdv.
(#) mpisti válasza VillTMK hozzászólására (») Okt 19, 2010 /
 
Bocsi,hogy én válaszolok, de tpeter25 13:46-kor ezt írta: "A konnektorba a földelés jó. Egyébként lehet hogy félreértettetek, mert nem a készülék háza csíp, hanem a hegesztő negatív pólusa."
Először én is úgy értettem hogy a készülékház csíp.
(#) JoeA válasza mpisti hozzászólására (») Okt 19, 2010 /
 
Hoppá! Ezt én is benéztem! Valóban nem arra válaszoltam, elnézést kérek.
Zsolt
(#) erdgab válasza tpeter25 hozzászólására (») Okt 19, 2010 /
 
Én mértem feszültséget a hegesztő kimenetén az olcsó DVM műszerrel,egyenfeszültség állásban a már emlegetett 45-50V közti érték van jelen,váltófeszültség állásban 90V körüli az érték.Csíphet az kérem tisztelettel,a régi trafós hegesztőm is csípett,pedig csak 40V AC volt a kimeneten és még a környezet nedvesség tartalmáról nem is beszéltünk.
(#) VillTMK válasza erdgab hozzászólására (») Okt 19, 2010 /
 
Tisztázunk valamit, ez egy galvanikusan elválasztott készülék ezét föld felé nem rázhat és nem is mérhetünk semmit ( legalábbis egy hagyományos mutatós műszerrel, digitális műszer mutathat mivel nagyon nagy a belső ellenállása, általában 10 MΩ ) , ha mégis tudunk mérni, akkor bizony szigetelési problémánk van. „Villásdugót megfordítva nem csíp” ez arra utal, hogy még az egyenirányító híd előtt vezet át a test pólus felé. Bár ez nem magyarázza meg hogy a másik konnektornál miért nem „csíp”.
Lehet egy másik ok is amikor a pozitív kivezetés ér össze a földel és így rákerül a földpontra ekkor valóban „csíphet” a test. A másik konnektorban szakadt a föld vagy nincs bekötve, ott viszont ezért nem „csíp” . Csakhogy ez nem magyarázza meg azt hogyha fordítva dugjuk be akkor megszűnik a probléma.
Szóval elég rejtélyes egy hiba. Talán egy szigetelés vizsgálóval meg kellene mérni : Primer –Szekunder, Primer – Föld, Föld – Szekunder, 2,5 MΩ–nál többet kel mérni, ha alatta van akkor rossz a szigetelés.
Üdv.
(#) tpeter25 válasza erdgab hozzászólására (») Okt 19, 2010 /
 
Hát igen. Én most úgy vagyok vele, hogy nem zavar ha picit csíp. Elviselhető, tényleg nem vészes. És tényleg bármelyik másik konnektorba próbáltam nem csíp..
Én ezt elkönyveltem "fogalmam sincs" esetnek De tényleg köszönöm a válaszokat mindenkinek!
(#) kala1982a hozzászólása Okt 19, 2010 /
 
Sikerült szereznem egy oszcilloszkópot Nagyon kemény, 1000 éves, orosz, alig mertem áram alá helyezni . A lényeg, hogy telefonnal csináltam egy pár képet. Nekem úgy tűnik mintha fordítva lenne a jel... Hogy lehet ez? A fórumon lévő jelalakoknál pont a négyszögjel másik sarkánál van a tüske, fordítva kötöttem valamit? A zéneren lévő jelet tettem rá...
(#) csjoska hozzászólása Okt 19, 2010 /
 
Sziasztok! Szeretném megépíteni a Maci nevű invertert. A probléma az, hogy csak E80-as ferritet tudok szerezni (jelenleg). Az adatlapját összehasonlítottam az E65-ével, és ennek (E80) kisebb a keresztmetszete és kb. fele az Al értéke. Elég lesz ez a mag is ahhoz a teljesítményhez, amit az inverter tud, vagy mindenképp szerezzek be E65-ös magot? Köszönöm!
(#) dobo válasza kala1982a hozzászólására (») Okt 20, 2010 /
 
Azért az oroszokat nem kell lebecsülni
Nézd meg a szkópod van legalább 20 éves és megy :yes:
Esetleg a kondik száradhatnak ki idővel vagy műanyag alkatrészek porladhatnak el de a technika megy
(#) p_istvan válasza kala1982a hozzászólására (») Okt 20, 2010 /
 
Szervusz!
Lehet hogy a szkócső el van fogatva 180 fokkal...
A függőleges poziciót próbáld meg állítani (bal felső gomb), ha forditva mozog a kép akkor biztos el van forgatva. Vagy, ha egész lassúra állítod a visszintes eltérítést, akkor is láthatod, hogy merre megy a visszintes eltérítés.
István
(#) X Sügi X hozzászólása Okt 20, 2010 /
 
Valaki tud segíteni?
Beindítottam a heggesztőmet külső tápról, csak a vezérlő rész kap feszütlséget. UC3845 van benne. IGBT-k nélkül mértem, helyükre nem raktam semmit, az ezután jön. PC szkóppal méregettem, és 64 KHz-en jár, jelenlegi felállásban, viszont elég furcsa a jel. Mondjuk a szkópkábelemre nincs mit adni, házgyári. A kábellel sorba volt kötve egy 10M-ás ellenállás. a szkóp minden esetben 200mV-5us os állásban, 10X-es nagyítás, 50MS/s felbontásban. Semelyik potméter állításra nem reagál, illetve a 10K-s (UC 3 as lábán lévő) tekerésekor egy idő után kikapcsol az UC.
Szeretnék lejjebb menni a frekivel. De hogy? Illetve a kitöltést hogyan állítsam be, meg közben hol mérjem a jelet?
(#) zolee1209 válasza X Sügi X hozzászólására (») Okt 20, 2010 /
 
Az inverteres részre nem tudok érdemben reagálni... Viszont azt nem értem, miért kötöttél 10Mohm -os ellenállást a mérőkábelre, és ráadásul sorosan?!
(#) X Sügi X válasza zolee1209 hozzászólására (») Okt 20, 2010 /
 
A szkópom csak 10Vdc ill. 7Vrms-t tud, nem akarom kinyírni.
(#) zolee1209 válasza X Sügi X hozzászólására (») Okt 20, 2010 /
 
Értem. Régebben tanultunk méréstechnika órán a mérőkábel kompenzálásáról... Nem akarok nagy marhaságot mondani, így inkább nem mondok szinte semmit. De nekem gyanús, hogy az a 10Mohm -os ellenállás a ludas a dologban, és ezért látsz olyan jelalakot, amilyet. Egy kisebb értékű osztót kellene szerintem készítened, n x 10-100k ohm körül. De ez csak egy tipp.
(#) Ricsi89 válasza X Sügi X hozzászólására (») Okt 20, 2010 /
 
Ne is várd, hogy áramot tudsz szabályozni, amíg nincs visszacsatolt jel az UC számára. Addig a legnagyobb kitöltésen dolgozik. A 3-as lábon szerintem nem kellene változtatni az értéket. A valós áramszabályzás az a visszacsatolt feszültség osztókörébe van beépítve. A 3-ason szerintem csak a max kivehető áramot lehet beállítani. A szkóp bemenetén sorosan az ellenállás meg szinte semmit nem véd, mivel nem osztóként van bekötve.
(#) erdgab válasza X Sügi X hozzászólására (») Okt 20, 2010 /
 
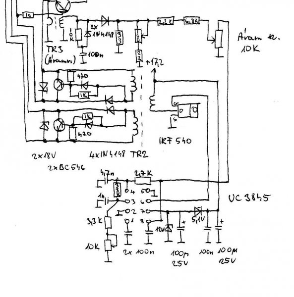
Az UC3845 frekvenciáját a 4 lábra kötött R és C határozzák meg. 3,3nF és 8,2k ellenállással kb. 32kHz a frekvencia.Képlettel is számolható f=1,72/ (RxC) ezt még osztani 2-vel,ez a freki jeleneik meg a kimeneten,6 láb.A kondenzátort µF értékben az ellenállást kohm értékben behelyettesítve kHz-ben jön a végeredmény.Osztani azért kell még 2-vel mert az IC felezi a kimenetén a belső frekvenciát.A 3, lábat szokták az "áram érzékelésre" használni,ott is ott a képlet Is max=1,0V/Rs,ha jól értelmezem a rajzot,javítsatok ki ,ha tévedek.A rajzodat nézve ott valami nagyon nem stimmel számomra.Melyik gép rajza ez?
(#) X Sügi X válasza erdgab hozzászólására (») Okt 20, 2010 /
 
Elektrosta 150 -es gép rajza, a végfok rész pedig kísértetiesen hasonlít a te gépedre. Egyébként akartam is kérdezni, nem tudtok egy jó kapcsolási rajz szerkesztő programot? mert akkor berajzolom az egészet, és felrakom ide.
A poén az, hogy a 64KHz-et az Ic 6 os lábán is mértem
de mindenhol ez a jel van.

Szerk.: közben kipróbáltam ellenállás nélkül a szkópkábelt, felvettem a legnagyobb méréshatárra....
zolee1209-nek igaza volt.. én sajnos ezt nem tanultam, csak autodidakta módon
Mondhatnám a jel tökéletes.
Mindjárt rakok fel képeket.
(#) X Sügi X hozzászólása Okt 20, 2010 /
 
Itt vannak az új mérések:
Szkóp: Volts/Div:5V Time/Div: 5us
Következő: »»   140 / 565
Bejelentkezés

Belépés

Hirdetés
XDT.hu
Az oldalon sütiket használunk a helyes működéshez. Bővebb információt az adatvédelmi szabályzatban olvashatsz. Megértettem