Fórum témák
» Több friss téma |
Itt egy strobi rajz. Kékkel a negatív, pirossal a pozitív ágat húztam be. Zöld keretben a gyújtótrafó van. A kék a test.
Ezt nem nagyon értem. Esetleg tudsz felrakni egy képet?
Ha jól értem azt mondja, ami a csővőn van 3 kábel az ki van vezetve, a mélyládán, és erre akar csokit tenni, amire ráköti a 300/600V-ot és a több kVos vezérlést.
Viszont ha erre gondoltál valóban akkor gyorsan el kéne felejteni, a kondi és a cső között minél rövidebb legyen a kábel. (Ha rosszul értettem akkor nem szóltam )
Ettől féltem, hogy én is erre gondoltam
Idézet: „a kondi és a cső között minél rövidebb legyen a kábel” Erről van szó
Akkor a vezeték minél rövidebb legyen ok.A gyújtó trafóról képet sajna nem tudok de ahogy írtam:eredetileg így volt a gépben.Kondi mínusz láb-->dióda-->ellenállás-->trafó lába.A szóban forgó láb a test?
Itt a kép mert azt az előbb lehagytam
Aha csak én ezt építem.Ahogy írtam a kondi - lábától a trafó lábáig lehetséges hogy az a trafó - lába?
Ezt értem.A gyújtó trafóval vagyok bajba.Lehet ám hogy én fogalmaztam rosszul.Az a kérdés hogy a trafónak melyik lába melyik.A gépből kiszedett trafóval.így volt benn:Kondi - láb-->dióda-->ellenállás--> és úgy a láb.Ez a trafó - lába?
Trafónak nincs - lába, van 4 lába vagy 3 ha az egyik fele közös (általában ez megy a - ra vagy a nullra, de tekercsnek mindegy hogy kötöd, legalábbis én így tudom)
A nagyobb ellenállású lábpár megy a gyújtásra, ha jól emlékszem.
Aha köszi.A gyújtó az megvan csak a maradék kettő volt kérdéses.
Mégvalami .Ha akarok biztosítékot tenni bele azt hova és milyet tegyek?
Gyors olvado biztositekot tegyel. A bizti az mindig a tap es az elektronika kozott van (sorba kotve!)
Tud e valaki valami jo kis hangvezerlot ajanlani strobihoz?
Mi a velemenyetek a mellekletben lathatorol? Esetleg hasznalta e mar valaki? Egesz kulturalt kis kapcsolasnak nez ki.
Felepitesre ez sem bonyolult,a lenyeg az,hogy szepen tegye a dolgat.Te melyik kapcsot ismered?
Hello.Villanócső gyújtó trafóra lenne szükségem.Valakinek nincsen elfekvőben?
Helló Mindenki!
Megépítettem a leírásban szereplő strobit. Mivel átépítem fotózáshoz vakunak, ezért nagyobb fényerőre lenne szükségem. Raktam bele még kondit (2, már kétszer akkora, mint a leírásban, viszont a fényereje alig nőtt. Egy kis elemes vakuban meg 200MF-osat (talán mikrot jelent) találtam a 2 cm hosszú villanócsőhöz. Szóval meddig mehetek el, amit még jól bírna? Illetve ha növelem a kondi kapacitást, akkor kell-e még valami változtatást eszközölni? Köszönöm előre is a válaszokat: Tamás!
Üdv!
Ha vakunak használod akkor Ws-onként kb 16.6µF kapacitásra lesz szükséged ami egy 60 Ws-os csőnél 1000-1200uF. Én is most építem át a strobim vakunak. 12v -> 320v-os kapcs. tápot akarok beletenni. Van valakinek ötlete?
Hello.a mikronak a jele:µF :papakacsint:
A fényképező villanócsővéhez melyik gyújtó trafót ajánlanátok.ZTR200 vagy ZTR32.Én a ZTR32-t mondanám kivel az 6 Kv-os de ez csak az én meglátásom.
Ezzel tisztában vagyok, de akkor is nagy m-el volt ráírva (MF), és kétlem, hogy mega Farádot jelentene
![]() A mili és a mikro között vacilláltam. A választ meg köszönöm ShadeW-nek!
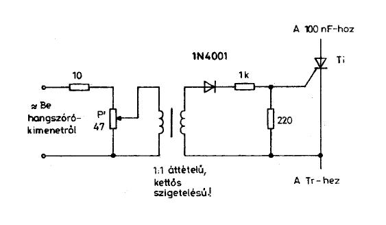
1:1 trafo az mit takar? Miben lehet olyat talalni?
Mongyuk ilyen nekem is van az autórádió végfokban.MF
Tekerhetsz te is olyat egy kis trafót szétszedsz és rátekersz 50-50 menetet
Ja mostmar ertem. Es milyen parameterekkel kell,hogy rendelkezzen ez a trafo? Huzalvastagsag? Miben lehetne talalni ilyet? PC tap-ban van? A kapcsolasban a bementre a vegfok kimenetet kell kapcsolni vagy siman eleg neki egy audio jel PC bol?
Végfok kimenet kell neki. A trafó pedig csak leválasztó szerepet tőlt be. Ki lehet próbálni pc tápból bontott trafóval is. Lehet, hogy beválik. A huzal vékony legyen.
En olyan megoldast keresnek,hogy ne vegfokra keljen kotni,hanem PC kimenetre. Az Lm 324-el mukodo kapcs. vajon menne ugy? A trafo akkor ugye biztonsagi okokbol kell,hogy nehogy direktben erje 220 az adio jelet szolgaltato egyseget.Pl tiriszisztor meghibasodaskor megakadalyozza,hogy a halozati fesz kinyirja az audiot.
Az ic-s kapcsolasnal nincs trafo ez direkt van vagy csak kihagytak? |
Bejelentkezés
Hirdetés |




)







