Fórum témák
» Több friss téma |
- Ez a felület kizárólag, az elektronikában kezdők kérdéseinek van fenntartva és nem elfelejtve, hogy hobbielektronika a fórumunk!
- Ami tehát azt jelenti, hogy a nagymama bevásárlását nem itt beszéljük meg, ill. ez nem üzenőfal! - Kerülendő az olyan kérdés, amit egy másik meglévő (több mint 17000 van), témában kellene kitárgyalni! - És végül büntetés terhe mellett kerülendő az MSN és egyéb szleng, a magyar helyesírás mellőzése, beleértve a mondateleji nagybetűket is!
Olcsóbb egy 12 V 21 W -os égő, mint egy 0.15 ohmos, 21 W -os ellenállás
Ha lehetne kapni az adott foglalattal és méretben.
Ezek szerint 0,15 ohm / 21W ellenállás kellene? Ezt hogyan számoltad ki? (csak, hogy én is megjegyezzem)
Nos, tévedtem. (ezért jobb, ha leírja az ember, hogy mit számol) A képlet: P=U*I; P=U*U/R - -> R = U^2/P = 6,8 ohm, (és nem 0.15)
És 10W igaz?
Mivel most 2x10W izzó van benne.
Nem, 6.8 ohm 21 W. az indexrelén 2*1,75 = 3.5 A áramnak kell folynia a helyes működéshez. A szükséges ellenállásokat ohm törvénnyel kiszámolhatod, a teljesítményeket pedig az előbb ismertetett képletekkel.
Sziasztok!
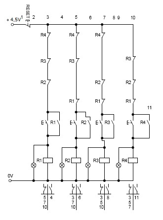
Egy kvízjáték kapcsolót szeretnék építeni. A lényege az lenne, hogy 4 ember előtt van 4 nyomógomb lámpákkal. Annak és csak annak gyúljon ki a LED, vagy izzó, aki a leghamarabb nyomta meg a gombot. 3-4,5V-ról működne. Tudja valaki, honnan lehetne ilyen kapcsolási rajzot szerezni? A lehető legegyszerűbben szeretném megoldani a dolgot, és a mikrovezérlőkhöz sajnos nem értek. Tranzisztoros, esetleg relés kapcsolásra gondoltam, de lehet, hogy megvalósítható sokkal egyszerűbben, megfelelő kapcsolóval. A segítségeket előre is köszönöm!
Értem. Így már világos.
Közben elkészítettem a relés tervet (működik). PLC-m nincs, amire átdobjam, se mikrovezérlő, se semmi. Megépíteni relékkel, pedig kicsit balgaság lenne. Valakinek van valami ötlete, hogyan lehetne ezt kivitelezni egyszerűbben?
Bővebben: Link
Gábor, a HG9IEG hívójelű rádióamatőr állomás kezelője.
Tudom, hogy már válaszoltak, de ebben kevesebb a relé (elég drága dolog mostanság), igaz, cserébe pár filléres tirisztort és diódát kell használni.
A reset a tápfeszültség pillanatnyi megszakítása. Persze az általam felvázolt játék nem 4 játékos, de kibővíthető tetszés szerinti számúra.
Hello!
Azt szeretném megkérdezni,hogy van itthol egy pár darab trafó és az van ráírva,hogy pl.: 12V 14VA. A "14VA" mit jelent?
Volt*Amper (Kiejtése: Voltamper) Ez is egy teljesítmény fajta mértékegysége.
Sziasztok!
Egy sima 12V DC ventillátor manuális feszültségszabályozása megoldható egy potméterrel feszszabályozóként kötve? Áramfelvétel 90mA.
És akkor most ezt hány amperrel terhelhetem kb?
Bocs,de trafókkal még csak most kezdek el foglalkozni és még van 1-2 dolog,amit tanulnom kell.
Hello.Hogyna tudok a legegyszerűbben egy 6V 10Ah-s akkut feltölteni egészségesen.
Sajnos akkutöltőm nincs.Van pc tápom trafóim különböző fesz.ekkel diófák kondik.Ezekből kéne egy kis töltőt összehozni.Esetleg valami ötlet?
Természetesen megoldható, de csakis rendes potival, trimmer nem jöhet szóba.
A kapacitás 1/10-ével ajaánlatos tölteni kb 12 órát. Tehát ha van árammérőd akkor tudod mérni az áramot. Kezdetnek mondjuk rákötheted a PC táp 3,3V-os ágára, ha 1A alá esik az áram akkor mehet az 5V-ra, ha ott is leesett 1A alá, akkor a sárga és piros vezeték között van 7V(azthiszem piros negatív sárga pozitív de azért mérj rá) arra is rákötheted.2A felé szerintem ne engedd az áramot. Akkor veheted úgy, hogy felvan töltve, ha a felvett áram mértéke nem változik.
Köszi a gyors választ!
Aha.Szóval a +5V és a +12V között van 7V körül.Az akku eléggé le van merülve meg van multiméterem.
Sziasztok!
Nem azért hogy bele vau-vau, de a 6V-os akksit mióta lehet 3,3, illetve 5V-ról tölteni?? Lehet, hogy nem vagyok naprakész (sőt, biztos is), de szerintem oda 6V-nál nagyobb feszültség kell, nem?
Igazából azt lenne jó tudni, hogy milyen tipusú az akksi. De mivel peter fórumtárs biztonságosan szeretne tölteni, ezért javasoltam neki a kapacitás 1/10-ét. Ha pedig egy 6V 10A-es üres akkura mondjuk 7V-ot kapcsolsz tuti többet vesz fel mint 1A. De ha nem akarsz vele szenvedni, akkor simán rákötöd a 7V-ra és figyeled az áramot.
Ezt értem, teljesen egyet is értek, de ha a /v-os akksira, ami ha lemerült, mondjuk minimum 4-5V-on áll, és rákapcsolja a 3.3V-ot (vagy ha nem pont 3.3-mat, a lényeg hogy kevesebbet), akkor gyakorlatilag meríti az akksit nem?
Bár nem tudom, hogy a PC táp 3.3Vos ágát figyeli-e, mert ha igen, akkor megpróbálja majd szinten tartani, tehát leállítja önmagát, míg a tűréshatáron belülre csökken a feszültség, jól gondolom?
Hello!
Van feszültség figyelés, jól gondolod. De tegyük hozzá, hogy az 5V ás 12V közötti 7V feszültség nem terhelhető. Kivétel, ha az 5V terhelése, nagyobb, mint amivel a 7V-ot terhelni szeretné. Mert a táp feszültségei, csak a GND felé terhelhető. Ha egy figyelt feszültséget "felemelünk", akkor a táp leszabályoz (vagy lekapcsol, védelem kialakításától függően) Mert az egyszerű egyenirányító a kimeneten, csak forrásként tud működni, lenyelni nem képes áramot.. üdv! proli007
Sziasztok
Létezik olyan IC ami áramerősséget mér és ezt valamilyen formában a rendelkezésemre bocsájtja? Lehet egy kicsit idióta a kérdés, akkumulátortöltőt építek, és szeretném szabályozni az áramerősséget egy potméterrel. Teszem azt ha beállítom a feszültséget 0,4A-re, akkor csak ekkora áramerősségel fogja tölteni az akkumulátort. Ezt egy 7 szegmenses kijelzőre szeretném kivetíteni? Valami ötlet?
Elegge sok fogalmi tevedesed alapjan azt javaslom, vegyel egy olcso multimetert, 10A-s allasban tudni fogja azt, ami neked kell. Sorosan kell az aramkorbe kotni (akkutoltod es az akku koze) es a 10A-s feliratu lukba kell a piros vezeteket dugni.
Tovabbi elonye, hogy ha nincs szukseged a kijelzesre, akkor kikapcsolhatod, de attol meg atfolyik rajta az aram.
Köszönöm a rajzot. Igy építettem meg végül, csak 1K ellenállást raktam be és működik. (
) ..hogy miért? |
Bejelentkezés
Hirdetés |






) 