Fórum témák
» Több friss téma |
Mielőtt kérdezel, a következő két dolgot ellenőrizd!
I. A helyes tápfeszültségek megléte.
II. A kimeneten van-e egyenfeszültség.
Élesztés.
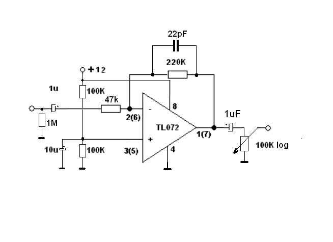
Teljesen jó az elv. Az 1 µF legyen fólia kondi. Az erősítés 220k/10k szoros, kevesebb is elég lehet. A végfokhoz ajánlom a koppanásgátlót.
Köszi! Igazából egy A osztályú fejhallgató erősítőbe fog kerülni, csak amikor az ISIS-el leszimuláltam, nemhogy erősített, hanem inkább tompított, és a jel alja is eltűnt. Az erősítésre van valami képlet, ami alapján lehet számolni ennél a kapcsolásnál?
Az erősítés a visszacsatoló (220k) és a bemeneti (10k) hányadosa. A rajz szerint 22x -es. Bementi ellenállásnak 47k -t javaslok. Ekkor már csak 5 -szörös az erősítés, de ettől nagyobbra ritkán szokott szükség lenni.
Az A osztályú erősítőnek kevés az erősítése, vagy a terhelésnek nagy az impedanciája, esetleg a jelforrás ad szokatlanul alacsony jelet?
Aha így már értem. A terhelő impedacia 32ohm lesz, a bemenő jelnek még csak sz.gépet használtam, az szépen kivezérelte, de nem csak géppel fogom használni, úgyhogy az a biztos, ha van ott egy műv.erősítő. Köszi a segítséget
Szívesen. Egy ellenállást és egy kondit rajzoltam a zavartalanabb működés érdekében.
Igen azt a 22pF-ot hiányoltam is onnan
Viszont én a bemenetre gondoltam egy 22K-s potmétert.
Az egytápos előerősítő bekapcsoláskor egy feszültséglökést állít elő ami kárt tehet a hangszóróban. Ezt a mögé rakott poti valamelyest leosztja.
Az A osztályú erősítő erősítését nem lehetne megnövelni?
A fejhallgatós topicban nincs meg véletlenül az erősítőd rajza?
Igazából az én tervem az volt, hogy lm1036n annak a kimenete a fejhallgató erősítő bemenetére. De a 1036n topikjába azt mondták, hogy nem árt elé egy műv.erősítő. Szóval most a lehetséges végleges terv: ne5532> lm1036n> fejhallgató erősítő.
Biztos ,hogy opamp -ot akarsz rakni egy A osztályú erősítő elé?
Baj nincs ,csak A osztályhoz nem raknék. A DOZ is adhat ötleteket. A nagy visszacsatolás sem mindenható akárhová nem raknék ME -t.
AZ erősítőt, már tervezgetem egy ideje, mostmár elég kiforrt állapotban van, az lm1036n-t azért akarom beletenni, mert elvileg ott nem hallatszik a poti recsegése plusz hangszínszabályzó is egyben. De ha kis jelszintű jelforrásról használom, nem biztos, hogy lesz elegendő kimenő teljesítmény, úgyhogy most átterveztem az előfokot. Jövőhéten összerakom tesztelésként, sokat nem veszítek vele, max megy az ötlet a kukába
Bocs hogy bele vau-vau ,de én az lm1036 ot max a kukába raknám olyan rossz minőségű,hasonlít a tda 1524-re.
Mit ajánlanál helyette? Most építek belőle, de egy jobb kedvéért tennék egy próbát.
Mindenképp dc kontroll kell? Távirányítani akarod,vagy digit vezérelni?Ha egyik sem, akkor a hagyományos opamp-os megoldást ajánlom.
Miért is rossz minőségű? Nekem tökéletesen vág/emel, szerintem ha rendesen meg van építve nincs vele gond.
Hali. Ebbe a topicba foglalkoznak javítással? Lenne egy erősítőm, ami valamikor 100%ra működik, valamikor meg bekapcsolom, csak búg, a kimeneten 30Vkörül. MI lehet a gondja?
sziasztok! van egy kicsikét régi aktív szub-om(heco acterior sub 9000), ami a bemenetére közvetlenül a hangszóró jelet kéri. Nekem az a gondom, hogy van egy házimozi erősítőm, aminek az szub kimenete alacsony szintű(erősítettlen).
A kettőt szeretném valahogy csatolni, de fontos lenne, hogy a házimozi erősítőm szub jelét adjam neki oda. Kérdés, hogy milyen módon. Valaki aztmondta, az aktív szub itt úgy működik, hogy a hangszórójelet, amit megkap, visszaalakítja kis jellé(talán leellenállja) és ugye azt erősíti magának. Van arra mód, hogy ezt a bemeneti jelátalakító részt megkerülve, rögtön a kis jelet adjam neki? Csatolok 1-2 képet. A nyák jobb alsó sarkában van a bemenet.
Üdv
nekem van 2db mono 400Wos erősítőm kellene hozzá trafó 2x65Vos de hány wattos lenne elég neki? az erősítő kb 5A vesz fel 65V ról.
Szia! Az alkatrészek elrendezéséből feltételezem, hogy a bemenő jelet közösíti, és leosztja. Mivel a panel vezető sávjai nem látszanak, jó lenne egy vázlat, hogy milyen értékű ellenállások vesznek ebben részt.
Jó lenne Tudni a nevét,hogy milyen osztélyba dolgozik, (de oldalanként minimum 600 wattos szerintem kell oda.)
Udv kapcs rajzod ninvs rola?
Üdvözölek titeket
Az lenne a kérdésem hogy a A210e-s IC-ek hogy van a lábkiosztása ? honan kezdődik az 1. láb ? csak kapcsi rajzot ,de képet nem találok róla és nem tudom hogy honan kezdődik ?
próbáltam használhatóbb képeket készíteni. Tudom így a távolból elég nehéz akármit is mondani, de azt is tudom, sok sok hozzáértő emberke van itt
Kevés az infó A210e lehet gyártói kód egy adott termékhez egy nagy megrendelőnek gyártott egy kínai sufni pár ezret vagy többet, de valójában nem ez az IC pontos neve. Ha van képed róla miben van, vagy kapcsolásod amit említettél, akkor talán kitalálható miről is van szó. Kapásból ilyeneket találtam Schottky dióda aminek ez a neve, de található VHF adókészülék IC A210E névvel.
|
Bejelentkezés
Hirdetés |






Viszont én a bemenetre gondoltam egy 22K-s potmétert.




Az lenne a kérdésem hogy a A210e-s IC-ek hogy van a lábkiosztása ? honan kezdődik az 1. láb ? csak kapcsi rajzot ,de képet nem találok róla és nem tudom hogy honan kezdődik ? 



