Fórum témák
» Több friss téma |
Köszönöm hogy foglalkozol a problémámmal.
Nemrég visszakötöttem a digitális termosztátot.Persze most kapcsolt rendesen.(begyujtotta a kazánt) Aztán mikor a kazántermosztát lekapcsolt (elalszik a láng és csökkentett fordulattal megy a szivattyú) rámértem a szivattyú kapcsaira és csak 50V-ot mértem.A leirásban ehez a vezérlőhöz 85-90V-ot ír és fel is csavartam a potival 85V-ra.Hallhatóan jobban búg és forog is a szivattyú.Persze a vezérlő is zizeg. Azóta rendesen üzemel.Csak ez a zizegés idegesit egy kicsit.Nagyon nem akarok cserélgetni semmit benne mert nem az enyém (albérlet).
Sziasztok!
Abban kérnék segítséget, hogy egy FÉG C30 kazánhoz alkalmazható-e egy Eberle Instat-2 szobatermosztát? Illetve milyen egyéb információk szükségesek ahhoz, hogy ezt meg lehessen állapítani?
Sziasztok, analóg termosztátot cserélnék digitálisra.
Egy biztosítékot már ellőttem a cirkóban, úgyhogy most inkább megkérdezem az okosabbakat. Csatoltam a cirko bekötési rajzát és áramkörének fényképét. A digitális termosztát a szokásos Q7, 1(NO) és 2(COM) csatlakozóiba mit kell bekötnöm? Segítségeteket köszönöm!
Üdv!
Az új termosztátot a bekötési rajzon a 3-as és a 4-es pontra kösd(a fotón a zöld/sárga és a felette lévő barna vezeték)! Az 5-ös kösd ki és hagyd üresen(kék)! Üdv! Tomi
Szia Tomi, köszönöm a gyors válaszod. Bekötöttem, viszont úgy tűnik megszívtam a tudatlanságomat. Hiába cseréltem ki a biztosítékot, most mindig megy a kazán ha áram alatt van, pedig a termosztát kábelei a levegőben lógnak... Van tippetek mi romolhatott el az elektronikán vagy azon kívül?
Végül nem volt energiám küzdeni vele, úgyhogy lecseréltem az egészet egy SZMV-2-esre. Most működik szépen, igaz 4500 tanulópénzbe fájt ez a kaland. Szóval van egy külsőleg szép de egyébként rossz elektronikám, akit érdekel. Ez még furat szerelt, nem SMT szóval házilag is könnyen forrasztható.
Sziasztok!
Egy gyors kérdés hogy biztos jól gondolom-e. A mellékelt kép egy Hőterm 29 kazán kapcsolási rajza (elvileg, mert még nem néztem meg hogy tényleg így néz-e ki). Szobatermosztátot úgy tudok ehhez illeszteni, hogy kiveszem a 3-4 pont közötti átkötést és a helyébe kötöm be a termosztátot?
Computherm 091 tip termosztátot sikerült kicsit barbárul leszerelni.Az oldalán volt egy kis kék termisztor.Ezt megtaláltam visszaforrasztottam, de durván csal (6-8 fok) Kérdés volt még valami mellette? (bal oldalán van, egy kis nyitott ablakban) illetve mi okozhat ilyen hibát? (amúgy működik ,kapcsolgat dehát..) Az sem biztos hogy összefügg a letöréssel a hiba,mert már 3-4 éve nem használták ,elem sem volt benne.
Szia !
A kazán szobatermosztátos vezérlésre történő bekötését jótállási időn belül csak a gépkönyvben megjelölt szakszervizek végezhetik. Két megoldás van ! Gravitációs üzemű kazánnál: A villamos kapcsolási vázlaton a jelölt áthidaló vezeték helyére (3-4)a sorozatkapocsba kötve. A kazán villamos csatlakoztatására szolgáló dugaszoló aljzatba bekötve ( fázissal sorba). Szivattyús üzemű kazánnál: A kazán villamos körén kívül a keringető szivattyú direkt vezérlésére bekötve. Csőtermosztáttal vezérelve ( legalább 60 C-fok-ra) ekkor indítsa a szivattyút. Vilamos szerelési munkát csak szakember végezhet !!! :felkialtas: Üdv.: moele
régi mmg termosztátot cseréltem, siemens rde 10.1 -re. a bekötésnél a nullát kihagytam, a fázist és a kapcsolószálat az útmutató szerint kötöttem, mégsem kapcsol. mi lehet a gond.
Szia a leg egyszerübb ha megnézed melyik két vezeték rövidzárjára indul a vezeték és azt kell a termosztátba kötni. A szobatermosztát nem kap 230 voltot csak kapcsol. De vigyázz mert lehet olyan kazánnal találkozni ahol a fázit küldi ki. Elösször probáld meg ugy hogy valami csokiban kötöd össze és elötte a kazánt áramtalanicsd illetve megnézheted a kazánban hogy van bekötve. LEHET HOGY 230V VAN A VEZETÉKEN
Szia !
A bekötés az L-L1-kapcsokra történik. Állítsd a komfort üzemmódra és manuálisan lépj felfele a hőfokkal pl.25fok. Kattanással jelzi, hogy 'be' állapotban van. Ha azt a két vezetéket kötötted be ami működteti a kazánt jó kell, hogy legyen. ( Próbaképpen próbalámpával derítsd ki, hogy melyik a fázis és a nulla !?) A nulla szál nem kell !!! Kell a fázis és kapcsolószál. Milyen típusú kazánt vezérelsz ? Lehet, hogy csak vezérlőfeszültség van ! Vigyázz 230V~ lehetséges ! Vigyázz életveszély !!! :felkialtas: Üdv.: moele
Szia!
Közben megnéztem a kapcsolását, mivel már bőven kívül vagyunk a jótállási időn. Alapból nem fázishelyesen van bekötve (legalábbis azt olvastam a leírásában, hogy csak fázishelyesen lehet üzemeltetni), mert nálunk 1-Fázis, 2-Null. Az átkötés ugyan úgy megvan, csak itt a 4-5 között, mert kicsit más az elrendezés, de ugyan úgy egy kört alkotnak az eszközök. Köszi a figyelmeztetést, majd meggondolom hogy a két csavar ki és betekeréséhez kihívjak-e egy gázszerelőt (max átnézetem az egészet ha kihívom).
köszi!
Az biztos, hogy 230v van a vezetéken. a kazánt még nem néztem, a tipusát sem tudom, nem az enyém. Ez a következő lépés.
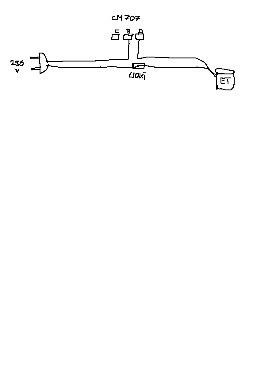
Sziasztok! Egy kis segítséget kérnék szépen. Megelégeltem, hogy nem jönnek bekötni a szakemberek hozzánk a termosztátot, ezért ma a vezetékeket kiépítettem. A bekötéshez kérnék segítséget. Van 1 Honeywell CM707 termosztát és egy Heimeier Emotec termofej (230V és NC változat) A termofejből kijön 1 kék és 1 barna vezeték. Ezeket hova kell kötni a Honeywell termosztáton? A, B és C helyre tudom bekötni. Ezen kívül mit kell még bele kötnöm? Előre is köszönöm a válaszokat!
Nem tudom volt -e előzménye annak amit itt írtál.
Feltételezem, hogy az elektrotermofej ami alaphelyzetben zárt az valami szelepre kerül ami átereszt és akkor van fűtésed ha nyit. Akkor sorba kell kötnöd a termosztát 2 fűtésnél záró érintkezőjével és 230 adni neki. Azt tudni kell, hogy ennek a fajta szelepnek idő kell a teljes nyitásig. Ez gyártmánytól függően lehet 1-2-3 perc is akár.
Szia Szabjan! Koszi a gyors választ. Konkrétan mit hova kössek? A termosztáton a,b,c bemenet van. A-hoz van irva L es a B-hez N. Hova kössem a termofej kék és barna vezetékét? Illetve utána a hálózatról a fázist kell bekötni még? Hova? Köszi
A képen láthatod a hevenyészett rajzot. Illik úgy kötni ugye, hogy a fázis menjen a termosztát pl: A vagy B kapocsra. Azt szakítsd meg vele. Az elektrotermofejnek mindegy, hogy melyik vezeték hova megy.
A leírás pedig: 7. oldal. Ami a lényeg hogy mindegyik típus az A_B re húz meg: Bővebben: Link
Szia de azt el ne felejtsd hogy igy a kazánt nem tudod indittani csak ha egy relét beépitesz.
Sziasztok!
Computherm Q7 rf bekötésében szeretnék segítséget kérni, régi termosztát helyére akarom tenni a földszintre kis vevő készüléket, a kazán a pincébe van (azért hogy ha tetőtérbe viszem az érzékelőt akkor ne 2 emelet különbség legyen a 2 egység között). Jelenleg ami felmegy a kazántól a földszintre kábel 3 erű és nincs konnektor a vevő közelébe, megoldható-e a bekötés külső táp nélkül? Kazán vaillant típus a mellékelt képen rajta vannak a bekötési helyek. Válaszokat előre is köszönöm.
Szia !
A termosztát adó készülékét kell a régi termosztát helyére tenni. Ez elemmel működik és vezeték sem kell hozzá ! A vevő készüléket a kazán közelében kell felszerelni . A rajz szerint kell bekötni (230V~ N-L és 1-2 a kazán vezérléséhez) - oda megy a régitől a 3-eres kábel. Előtte áramtalaníts ! :felkialtas: Üdv.: moele
Ha a kazánbol direkt fázis jön ki és ezt kapcsolta a termosztát ,akkor ez mellé felküldöd a nullát is ,ott a 230V ra plusz az érintkezőre rákötöd a fázist a nulla értelemszerű ,az érintő másik fele mehet a maradék szálon a kazánba.
Ha a kazánból nem direkt fázis jön ki - van a termosztát előtt valami érzékelő- akkor csak egy relé beiktatásával.Ez a relé tulajdonképen megismétli a termosztát jelét.Bekötése fel 230V 2 szálon a visszatérő harmadik szál a relére megy.A relé másik vége a nulla.Az érintője pedig mehet a kazánba, mint termosztát jel.
Max. úgy oldható meg ha a 3 eres helyére behúzol egy négyerest. (Az sem nagyon szabványos)
(Azért én kipróbálnám hogy átviszi e a két szintet az adó, mert lehet hogy simán...)
Szia !
Valami nem egyértelmű , vagy én értelmezem rosszul ?! Ez a termosztát amiről szó van COMPUTHERM QRF7-típusú ! Vezeték nélküli adója van , amit a vevő érzékel a kazánnál . A vevő részhez kell a 230V~ és a kazánhoz menő vezérlést bekötni. Az adót a házban bárhova fel lehet szerelni, sőt hordozható is lehet. mivel elemmel megy . Üdv.: moele
Ha pontosan elolvasod,a vevőt akarja a régi termosztát helyére tenni ,mert attól fél hogy az adónak sok lesz a két emelet,plusz a pincefödém.Így viszont közelebb kerülhetne egymáshoz a kettő.
Igen elolvastam, csak nem értem, hogy miért akarja így ugyanis az adó-vevő egység között akár 30-méter is lehet több födémen keresztül is kifogástalanul működik, nálam is így van ! Először ki kellene a helyszínen próbálni a kazán bekötése nélkül az adó és vevő egységet. Be-ki kapcsolásnál a reléje kattan és ezt lehet hallani, hogy működik-e ?!
Nem tudom milyen messzire működik ,ezért nem is tiltakoztam.Ami biztos ,két falat meg kb 10m tudja ,és nem szereti, ha a mobiltelefon az adó mellett van.Több tapasztalatom nincs vele.
Igen így van és még annyit, hogy ( ruter, tv jeltovábbító, bébifigyelő, távirányításos gyerekjátékok, távirányítós ajtócsengő, sőt még a gépkocsik jeladója is zavarhatja) Igazándiból ki van szűrve ez a frekvencia de valahogy mégis. Nemrég jöttem rá, hogy a laptop hálózati tápja is ilyen zavarforrás lehet, ha közelébe teszem. Különben tökéletesen működik és megbízható.
|
Bejelentkezés
Hirdetés |









