Fórum témák
» Több friss téma |
Mielőtt kérdezel, a következő két dolgot ellenőrizd!
I. A helyes tápfeszültségek megléte.
II. A kimeneten van-e egyenfeszültség.
Élesztés.
Ezt könnyen kilehet deríteni, a 2uF2 kondi-n meg kell nézni van -e előerősített jel.
Akár teszthangszóróval akár méréssel. Ha Ott megjelenik akkor vélhetőleg az ic lábán is. Érdemes leellenőrizni. Mert ezzel kiderül hogy az stk ic -ig (előfok meg minden egyéb más ami csak a jel útban van a becsatolásig) , kell-e keresni a hibát vagy az után. (védelemben stb ) Mi a helyzet a csavarhúzós vizsgálattal?? nem reagál úgy sem semmit, ha megkocogtatod az ic 1 -es vagy 18 as lábát?
Sziasztok
Kaptam 3 Videoton rádióerősítőt egy barátomtól, a cégük leselejtezte, mert már 5 éve a raktárban áll. Ha az erősítő bemenetébe bedugom a tuchelt,és fogom a vezetéket, mindháromnak a bal oldala gerjed. Ez típushiba, vagy véletlen?Mi lehet az oka? Köszönöm a segítségeteket Üdv: Csupasz
Szia,csavarhúzós módszerre sem reagál semmit sem.
kondin nincs fesz odáig sem jut el az audi jel.
Sziasztok rég irtam... GTO Tirisztorból lehet-e csinálni erősítőt? Másik, LM386ot hogy tudom használni opamp ként? szóval tl71 helyett pld?
Igaziból egy dolgot tennék a helyedben:
Az ic 1es lábára forrasztanék egy vékony kábelt, majd a 10-es lábbal is ugyanígy járnék el. Az ic 10-es lábára rátenném a hangszóró pozitív felét a negatívot pedig a hangszóró kicsatlakozására. Ha bekapcsolod és egy pillanatra megérinted az ic 1-es lábáról kiforrasztott vezetéket akkor annak a hangszórónak erős búgó hangot kell hogy leadjon (feltéve ha +- tápfesz megvan helyesen.) Mért is mondom ezt?- mert így kikerülted az összes védelmet ami az ic után van, s az előfokot is megkerülted. Ha nem jó így sem, akkor nagy a baj. Ha így jó, tehát búg, akkor kapcsold ki és kösd be a hangszórót a doboz hátulján lévő hangszóró csatira, ha eggyik oldalon sem búg akkor valószínű a dc-t figyelő relé áramköre meghibásodott , és ez az oka. Ezt is könnyű megnézni, mert ha a végfok 10 lábára visszakötöd a hangszóró +kábelét akkor, ahogy tekered a hangerőt úgy kell annak is szólni. Másik eset: mikor a vége jó, tehát a védelmek, és az előerősítő, vagy bemenetválasztó nem jó..
Valószinüleg a kábeled nem Videóton "kompatibilis". Ha bontható a csatlakozó kösd át. Ha nem csinálj egyet hozzá.
Köszönöm, megcsinálom!
Helyzet a következő. A kimeneten nincs jel.. ha a normálissan a hangszórókimenetre van csatlakoztatva, de ha amit ráforrasztottam a 10-es lábára az IC-nek arra kötöm a pozitívat és a negatívat a hangszóró csatlakozásra és megérintem a 1-es lábra forrasztott vezetéket akkor búg.
Következő: ha a bemenetre rákötöm a RCA kábellel a jelet, akkor a 10-es kimeneten kijön a jel de igaz nagyon gyenge jel jön ki és búg is. Azaz a bemenetválasztó jó.
Nah, akkor már haladtunk azért valamit.
A becsatoló 2uF2 kondi az bipoláris vagy egy elkó? Mindenképp bipoláris lenne oda a jobb. Sajnos az erősítőt csak elviekben látom magam előtt. De az már bizonyos, hogy a 10 kimenet jel útjában ( tekercset és más egyéb szűrést leszámolva) vélhetőleg van egy dc érzékelő relé ami nem húz be. Ennek több ok is lehet: pl az stk ic 1-es lába gerjedő jelet kap és kimegy a 10 lábra x mV tól egészen több voltig terjedhető dc fesz is.. Amit mérned kéne: 10 láb és föld közt van-e dc, illetőleg másik oldalt se hanyagoljuk el: 13 láb és föld közt van-e dc. Ha nincs vagy csak mV-ok akkor az normális. ( legutóbb nálam 130mV volt egy stk ic-s pioneer-nál) Ha nincs sehol dc akkor neki kell esni a védelemnek, és átnézni. Az elektrotanyán biztos fent van a kapcsi rajza, próbáld meg leszedni, mert az egyszerűen borzasztó nagy mankó.. Anélkül sajna látatlanba én sem tudok nagyon tovább menni.. Az már szinte biztos hogy az ic-d jó. (legalább is egyik fele biztos, de szerintem a másik is) Ez azért megnyugtató már.
Elnézést , hogy így utólag írom , bár 70% ban biztos vagyok bent , hogy úgy csináltad, de azért inkább leírom: Mikor ilyen közeli raszterrel vannak megáldva az ic lábai, akkor érdemes nem oda forrasztani a kábelt,vagy mérési pontot kijelölni, hanem ugyanazon lábra érkező más forrasztási pontra ! ( az-az rá párhuzamosan) hogy még véletlen se érjen az ic táján össze semmi. Meg sehol se.
Bipoláris a kondi, a 13-as kimenet és a 10-es is tökéletes.10,13 láb és a föld között 25mV(-/+1-3mV) mértem. köszönöm az eddigi segítséget!
Persze néztem egy másik pontot ahová megy a nyák és oda forrasztottam nem közvetlen a IC lábára.
Úgy érzem az stk ic kimenete és a hangszóró csati közt már csak a védelem lehet amit helyre kell állítani ha a relé nem húz be.
Ott is kezd azzal, hogy mérj a relé tekercse közt feszültséget.(vicces esetben csak lehet relé csere lesz, de az ritka szokott lenni, hogy a tekercse ég el) Szakadt diódákat, megnyúlt ellenállásokat, látható hibákat pl: púpos, rossz elkókat stb. A kapcsi rajz rengeteget fog segíteni. Ha vége rendben lesz és már a hangszóró kimeneten is tudod majd mérni a kimeneti dc-ket akkor már csak az elejét kell rendbe tenni, ha szükséges. Jó munkát vele. Nincs mit.
vanegy ilyen képem.. nemtudom hol érdemes keresni a relét..?
Valaki nem segítene?
Azt kerestem én is egyfolytában de nem látom sehol.
A jel útját végigkel nézni. Multiméter sípoló állásban, és nézni mi is van az ic 10-es ill 13as lába közt még a kimenethez képest. Egyik mérőcsatit fogasd be a hsz kimenet + felére, s el kellene kezdeni elindulni egészen a 10-es lábtól, (vagy 13 tól, mindegyiknél ugyanez az eljárás).. Lehet van a kimeneten egy soros ellenállás ami nagyon megnyúlt vagy bármi egyéb. Lényeg, hogy az ic 10 ill 13 lába közt a szűrésen kívűl, Ohm-an már más különösebben ne legyen a jel útjában. (legalább is több 10 Ohm meg afeletti semmi kép.)
Sziasztok!
Van egy régi Unitra DSS 201-es erősítőm, ami végfokhibás, GML 026/2 -es IC van benne, elvileg az STK 015 lengyel másolata. A kérdésem az lenne, hogy tud esetleg valaki ilyen IC-t, vagy hogy mivel lehetne helyettesíteni, mert nem találtam sajnos sehol a neten ilyet :/ Előre is köszönöm a segítséget!
El kell keserítselek mert ha nincs senkinek bontásból akkor nem tudod helyettesíteni sem cserélni. Mert ugyan az stk015-nek lenne a megfelelője de azt sem kapsz sehol.
Érdemesebb kiváltani egy másfajta végfokkal ezt az egész végfokrészt.
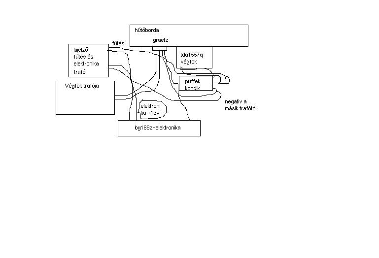
Üdv. Van egy olyan gondom hogy: két trafó van az erősítőmbe egyik a végfokot hajtja a másik pedig a kijelzőt (VFD). És a gond a következő mellékeltem egy képet. Ha így van összerakva az erősítő, akkor a kijelző nem megy de szól az erősítő. Ha átkötöm a végfok +15 voltjára úgy működik a kijelző csak nem bírja a trafó a kijelzőt és a végfokot egyszerre. Hogy kellene megoldani hogy a másik trafóról működjön a kijelző?
Sziasztok lenne egy kérdésem!A mellékelt kapcsolásban nem működik helyesen a poti. A két szélső ponton semmi probléma de a köztes állapotokban búg és recseg a szerkentyű!Nagy az alapzaj! Lehet ,hogy elbénáztam valamit???
Szevasztok!
Sok felé kerestem (vagy nem jól kerestem) de nem találtam alkalmas fórumtémát, ezért írtam ide. Ha nem jó,kérlek tegyetek át. Van egy LG XC 102 tip. minitorony. Meg szeretném oldani, hogy a lakásban három szobában a következő variációkban legyen hallható : I. A > szobában hallható a többiben Nem II. B > szobában hallható a többiben Nem III. A - B szobában hallható egyszerre A hangdobozok: A szobába sajátja, B szobába (ez fürdőszoba) típusa: MRP 2-165 Az I. és a II. változatot meg tudnám oldani egyszerű átkapcsolással, de a III. változatra sajnos magamtól nem tudok megoldást találni, itt ugye az egy kimenetpárra kapcsolódna két hangdoboz pár. Nagyon régen foglalkoztam ilyen dolgokkal. Megcsináltatni sem tudom, szerviz nem foglalkozik vele.
Szia! A poti lehet hibás, vagy túl nagy (>100k), vagy hiányzik előle a leválasztó kondenzátor.
Szia! Megrajzoltam egy csatornát három állású kapcsolóval. Sztereóhoz 2x3-as kell.
1-B, 2-A+B, 3-A.
Szép estét!
A képen bekarikázott visszacsatolásban miért van anyi alkatrész, és melyiknek mi a szerepe? Illetve a C3-as kondi pontosan mit is csinál ott?
Jó estét a zuraknak !
![]() Szerintetek melyiket dobjam egyszer össze "hétvégi szórakozásként" . A feltétel, hogy max 18V, max 1A... ![]() Amiket használhatok: TDA7480 ; TDA7495 ; TDA2616Q ... Üdv !
Hangdobozokat sorba kötni az érdekes probléma. Ha bírja az erősítő, akkor inkább párhuzamosan kéne megpróbálni.
Egyáltalán nem. A gyári A/B kapcsolós is így van megoldva.
Tulajdonképpen mondhatni, hogy a szokásos megoldásokat látjuk viszont. R8-C8 a szokásos soros RC tag, mely nem része a visszacsatolásnak, a kimenet, és a test közé van kapcsolva. Alkalmazása igen elterjedt, szinte az a kivételes kapcsolás, ahol ne lenne.
Az R4-R3 gyakorlatilag beállítja az erősítést, míg a vele a megszokottól eltérően párhuzamosan kapcsolt kondenzátor helyett most itt egy soros R-C taggal találkozunk (C6-R5). R5 szerepe, hogy a C6 hatását ne engedje olyan intenzíven érvényesülni (magasabb frekvenciákon nem csökken az R-C tag impedanciája 20k Ohm alá). C2 szerepe az, hogy egyenáramú szempontból megszüntesse az osztást, így pontosabb a kimenő DC szint beállása. R2-C3 pedig a TIM kialakulásának meggátlásáért felelős alul-áteresztő szűrő.
A gyári A/B kapcsolós is párhuzamosan kapcsolja a hangfalakat.
|
Bejelentkezés
Hirdetés |













