Fórum témák

» Több friss téma
Fórum » Kapcsolóüzemű táp 230V-ról
 
Témaindító: cimopata, idő: Szept 13, 2006
Témakörök:
Lapozás: OK   226 / 789
(#) lorylaci válasza kzsolt88 hozzászólására (») Nov 28, 2011 /
 
200A az problémás, az alábbiakat kell mérlegelned:
- trafó szekundere 1-2 menet lesz. Egy ilyen trafót alacsony szórt induktivitiással csak planár elrendezés esetén tudod megvalósítani (akkor oda pedig részszalag kell)
- egy jó tucat TO247-es tokozású shottky diódára lesz szükséged az egyenirányításhoz, ahol legalább 7% veszteséged lesz, ami 168W. Baromi nagy bordát jelent majd, biztosan ventillátoros hűtéssel
- az előbbi pontból adódóan eszméletlenül kifizetődő lesz a szinkronegyenirányítás, aminek megvalósítása nagoyn bonyolult és nehézkes. De még ide is jó tucat FET fog kelleni, lényegében néhány mOhm körüli eredő Rdson-t kellene elérni, hogy a a veszteség könnyen kezelhető legyen (kisebb mint 50W)
- a szekunder oldalon a szokásosknál sokkal nagyobb rézvastagságú nyák kell majd..
és még sorolhatnám...

De ha azt sem tudom mi fán terem a kapcsolóüzem, akkor ilyenbe még ne vágj bele!
(#) cimopata válasza kzsolt88 hozzászólására (») Nov 28, 2011 /
 
Hát igen!

Diódából kell pár darab, jókora hűtéssel.

Vagy én mégiscsak javasolnám a szinkron egyenirányítást.
Elegendő egy gyors optón átvinni a primer oldali fetek jelét és azt a szekunderen + meghajtókkal összekalapálni a szekunder egyenirányítással.
Bővebben: Link

Ekkora áramra a nyák már csak arra kell hogy az alkatrészeket összetartsa. Mindenhol szigorúan rézsíneken kell közlekedni.
(#) ekkold válasza cimopata hozzászólására (») Nov 28, 2011 /
 
Én meg azt mondanám, hogy szinkronegyenirányító vezérléséhez létezik cél-IC (pl. TexasInstruments-nél többféle tipusból lehet válogatni). Ezekkel akár rezonáns táphoz, vagy flybackhez is lehet csinálni szionkronegyenirányítást.
(#) szabónagymester válasza Ge Lee hozzászólására (») Nov 28, 2011 /
 
Akkor a PC tápokban lévő gyűrű magok nem jók trafónak? Ez szomorú, mert van jó pár belőle, és bíztam benne, hogy jók trafónak.
(#) cimopata válasza ekkold hozzászólására (») Nov 28, 2011 /
 
Természetesen!

De én most a kapcsolás "bonyolultságához" ajánlottam egy egyszerűbb diszkrét megoldást.
(#) kzsolt88 válasza cimopata hozzászólására (») Nov 28, 2011 /
 
Köszönöm a válaszokat, meggondolom hogy legyen, és még utánna nézek ennek-annak. Aszem a szinkronegyenirányításnak utána olvasok,
üdv. Zsolti
(#) (Felhasználó 46585) válasza cimopata hozzászólására (») Nov 28, 2011 /
 
Meg hozzá a current doubler. Itt egy kis olvasnivaló hozzá.
(#) lorylaci válasza (Felhasználó 46585) hozzászólására (») Nov 28, 2011 /
 
Az áramkétszerező egyenirányítással azonban nem csak előnye származna, hanem hátránya is.
A transzformátora könyebb lenne, mert így dupla annyi menet fele árammal, ezzel könnyebb lenne a tekerése.
Azonban az áramkétszerező induktivitások plusz méretetet és plusz veszteséget jelentenek.
(#) cimopata válasza lorylaci hozzászólására (») Nov 28, 2011 /
 
Egy fojtón nem sok a réz veszteség. Ha már ZVS akkor magas freki ergó kis fojtó is elég. Csak arra kell figyelni hogy ne legyen nagy köráram a tekercseken keresztül a szekunderen mert az feleslegesen melegít mindent.
(#) (Felhasználó 46585) válasza lorylaci hozzászólására (») Nov 28, 2011 /
 
Az áramkétszerezőnek pont az az óriási előnye, hogy egy db szekunder kell neki! Különben, pláne ilyen kis feszültségre, óriási áramra már elég nehéz megcsinálni a két szekunder tekercset úgy, hogy egyformák legyenek és nagyon kicsi legyen közöttük a szórás. A másik, hogy kisebb a transzformátor típusteljesítménye, vagyis kisebb méretbe belefér.
(#) Zupp87 válasza (Felhasználó 46585) hozzászólására (») Nov 29, 2011 /
 
Én első körben azt kérdezném meg: készített-e már valaha kapcsolóüzemű tápegységet. Mert ha még nem, akkor kicsit kisebb fába kellene vágnia a fejszéjét.. nekem ez a véleményem.
[OFF] Én eddig egyet csináltam, 12V-ról +/-24V, ETD29 mag, tranzisztoros astabil+totem-pole meghajtás, IRFZ44 fetek, 80kHz.. valami ilyesmi, egyszerűbb, és nem pénztemető dologgal kellene próbálkozni első körben. Ha már jártas az illető, akkor bocsánatot kérek. Egyébként a kérdés amúgy nem ártott senkinek felröppenő infókból, megoldásokból én is tanulok.. folyamatosan
(#) (Felhasználó 46585) válasza Zupp87 hozzászólására (») Nov 29, 2011 /
 
Igen, igazad van. És akkor még nem beszéltünk arról, hogy milyen eszköz igényei vannak egy ilyen táp élesztésének, bemérésének.
(#) Zupp87 hozzászólása Dec 2, 2011 /
 
Lehet kicsit OFF, bár a sárga fojtókhoz kapcsolódik.
Tegnap hozzám került egy hibás PC táp. Az alap hibát az okozta, hogy befogott a 12 centis ventillátor, minek hatására intenzív sebességgel száradhatott ki az egyik, kipúposodott elkó. Ha már kiszáradt, csökkent a kapacitása, és megnőhetett a feszültség hullámossága, amit a második fojtó fokozat megfogott, viszont így a csatolt fojtón is nőtt az AC komponens, nőtt a hiszterézis veszteség és a melegedés. Ezen vasak veszteségeire jellemző lehet, hogy a tekercs lakkozása barnára égett, a mag eredetileg sárga-fehér festése pedig szürkére változva pergett le. Bár a rézveszteség is közrejátszhatott, mivel a szokásosnál kicsivel vékonyabb vezetékből volt a csatolt fojtó tekerve, viszont az égés fő oka szerintem a gyenge vas volt.
(#) tvibi hozzászólása Dec 2, 2011 /
 
Üdv!
Lehet ide egy kicsit off. Javított már valaki ilyen(SET150SR)
Kapcsolóüzemű táp spotlámpához. Műszerészt kérdeztem de azt mondták ilyennel nem foglalkoznak. Lehet egyáltalán javítani vagy érdemes?
Válaszokat előre is köszönöm!
(#) Zupp87 hozzászólása Dec 3, 2011 /
 
Közben szimuláció útján megvizsgáltam a tradicionális félhidas PC táp alapkapcsolását, azzal a különbséggel, hogy elhagytam a kimeneti fojtótekercset. Két szekunder, kettős diódával egyenirányítottam. Ezekben ugyebár szorosan csatolt trafó van (~5uH szórási induktivitással), a primer egyik végét totem-pole kapcsolásban ráncigálja két tranzisztor (én FET-tel szimuláltam), a másik oldal pedig egy (általában) 1u-s kerámia kondival megy a két táppuffer által létrehozott féltápra. Az eredmény láttán erős a gyanúm, hogy alapjában véve ezek is rezonáns tápegységek (a mellékelt ábrán a primer tekercs feszültsége és árama látszik.. 15,5V/8A kimenet esetén). Csak ott a kimeneti fojtó miatt elég terhelésfüggő a feszültség szabályozás nélkül, de fojtó nélkül, szimpla kondis puffereléssel viszonylag stabil. Más kérdés, hogy ez esetben némileg nagyobbak a kapcsolási veszteségek. Kétségtelen, hogy a legelőnyösebb a szórótrafós megoldás, viszont aki nem profi célra akar tápot, elég neki +/-24 vagy +24 valamihez, és van bontott PC tápja, szerintem követheti ezt a megoldást.
(A tekercsel sorban lévő kondi a frekvencia miatt 2u.. én 50kHz-en szimuláltam, de a PC tápok 80...100 körül működnek. 1u-val hamarabb lecsengett az áram, mintha jócskán megnöveltem volna a dead-time-t)
(#) Zupp87 válasza Zupp87 hozzászólására (») Dec 3, 2011 /
 
Megj.: a FET-ek szándékosan lettek lerontva a 3,3n kondikkal.. azok a FET-ek, amiket használni akarok, nagyobb G-S kapacitásúak
(#) Zupp87 válasza Zupp87 hozzászólására (») Dec 3, 2011 /
 
Közelebbről is megnéztem a kapcsolási veszteséget: 140W 75nS ideig, ami a 20us-os kapcsolási periódust figyelembe véve FET-enként 0,57W átlag veszteség. Persze ez valamelyest ideális eset.. viszont a gate+3,3n töltögetése 400mA körüli csúccsal megy, amit az IR21531 is meg tud oldani. Egyébként egy másik tápban láttam, ahol FPQ5N50 FET-ek kapcsolgatnak, gate-meghajtó trafóról, hogy a gate-source átmenethez 10n kondit biggyesztettek. Szerintem ők se viccből: ugyanis ha elhagyom a 3,3n-kat, akkor a kapcsolási veszteségre jutó idő nem változik számottevően (~50ns), viszont értéke erre az időtartamra átlag 1kW, ami eredendően 4W körüli veszteséget okoz.
(#) (Felhasználó 46585) válasza Zupp87 hozzászólására (») Dec 3, 2011 /
 
Tedd fel légy szíves a gate-source feszültségeket a 3,3 nanoval es anélkül is. Egyébként tetszik.
(#) ekkold válasza Zupp87 hozzászólására (») Dec 3, 2011 /
 
Nem akarok "ünneprontó lenni", de azért szerintem hibádzik a dolog: Ha a szórási induktivitás kicsi (a határ/üzemi teljesítmény nagyon eltérő) és ezt hangoljuk ki a rez. kondival, akkor alacsony lesz L/C arány. Ez a gyakorlatban annyit jelent, hogy sokkal érzékenyebb lenne a pontos beállításra a készülék. Ha kicsit is elmászik a rezonancia pl. hőmérséklet-változás miatt, akkor máris annyi a rezonáns működésnek. A rezonáns elemeken levő alacsony feszültség miatt pedig a szinuszos áram torzítása lényegesen nagyobb lesz, a nullaátmenete közelében gyorsabban fog változni -> emiatt nehezebb eltalálni, hogy pont akkor kapcsoljanak a fetek.
Nem vitatom, hogy feltehetőleg még igy is jobb lenne valamivel a hatásfok, mint egy pwm táp esetén, (de rosszabb mint egy rendes rez. táp-é), ugyanakkor szerintem a rezonáns táp hátrányai erősebben jelentkeznének. De ezt a gyakorlatban kellene megvizsgálni, mert ez szerintem pont szimulációval vizsgálható jelenségek közül egy olyan határeset, amikor a gyakorlat jelentősebben is eltérhet a szimulációban vizsgált áramkörtől. (gondolok itt pl. a vasmagok nemlinearitásából, frekifüggő veszteségéből, a szórásból, stb eredő valós paraméterekre)
(#) Zupp87 válasza ekkold hozzászólására (») Dec 3, 2011 /
 
Egyébként azt én is észrevettem, hogy torzul az áram egy valódi rezonáns táp áramához képest. Főleg kisebb terhelések esetén. A szimuláció pedig tényleg csak egy alap támpont.. Mindenesetre minden alkatrészem megvan hozzá, ha lesz időm, nem tart majd sokból elkészíteni.. hajt a kíváncsiság, kimérem majd. Mindenesetre a PC tápok nagy százaléka ezt a topológiát használja (elvétve vannak sima együtemű forward tápok, és főleg a régebbiek közül akadnak flyback kivitelűek is). Szórakozásom célja az volt, hogy kiderítsem: mi is a szerepe a szorosan csatolt, kis szórású trafóval sorbakötött kondinak, és első körben erre a megállapításra jutottam. Még majd vizsgálgatom a dolgot.. de így már legalább megtudtam válaszodból, hogyan befolyásolja a működést a rezonáns tagok aránya. Mert ugye elvileg végtelen LC kombináció létezik egy adott frekvenciára rezgőkör kialakítására.
(#) Zupp87 válasza Zupp87 hozzászólására (») Dec 4, 2011 /
 
Közben bepakoltam a kapcsolásba egy 10u-s kimeneti fojtót, és játszottam a kitöltési tényezővel.. így meg már végképp nem sok köze van az áram alakjának a rezonáns működéshez. Szóval, hogy miért egy 1u-s kondin keresztül megy általában ezekben a tápokban a trafó a félhídra, egyelőre rejtély maradt számomra
(#) ekkold válasza Zupp87 hozzászólására (») Dec 4, 2011 /
 
A vezérlés tökéletlenségéből adódó, eseleges maradék DC komponens leválasztására.
(#) Zupp87 válasza ekkold hozzászólására (») Dec 4, 2011 /
 
Egyébként igazad volt a kiélezettséggel kapcsolatban. Visszatérve a fojtó nélküli elrendezéshez, elláttam a szekundereket egyenként 500nH-s soros induktivitással (közelítve a trafót a valósághoz, szórási induktivitásként, ha már egyszer a primernek is adtam), és már ezzel is borult a feltételezett rezonáns működés. És a primer és szekunder tekercsek ohmos ellenállását bele se vettem
(#) Zupp87 válasza Zupp87 hozzászólására (») Dec 4, 2011 /
 
Legutolsó megállapításomat (szekunder oldali szórt induktivitás hatása) vissza kell vonjam. Ugyanis annak beépítése a szimulációba a rezonáns kapcsolást is jócskán elrontja. Valószínűleg rosszul közelítem meg a dolgot, ugyanis Cimopata mért jelalakjai nem ezt bizonyítják. Ezek nélkül azonban (csak primer oldali induktivitással: 90uH+2x56nF, 50kHz-re hangolva) mintaszerű szinusz áramformát kaptam. Az igazi az lesz, ha építek és mérek, és akkor nyilatkozom. Tervezem, hogy hatásfokot és cosfi-t is mérek majd különféle terhelések esetén.. munkahelyen megvannak hozzá az eszközök.. csak hogy ez mikor lesz kivitelezve, az még egy jó kérdés
Egyébként van még egy kérdésem: mit értünk határteljesítmény alatt, amit említettél (hogy kis szórt induktivitás esetén a határteljesítmény és az üzemi teljesítmény nagyon eltérő) ? Hogyan függ a szükséges szórási induktivitás rezonáns tápok esetén a teljesítménytől?
(#) Zupp87 válasza Zupp87 hozzászólására (») Dec 4, 2011 /
 
Közben kicsit utánaolvastam a félhidas PWM tápoknak.. A trafóval sorban lévő kondenzátornak elsősorban az ún. "110V-os" üzemnél van jelentősége, amikoris az egyenirányító a pufferekkel feszültség-kétszerező módban működik. 230-as üzemnél elvileg el is lehetne hagyni.
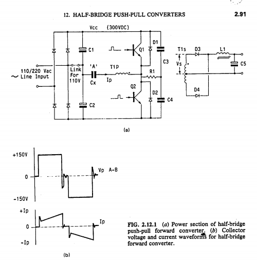
(forrás: Keith H. Billings - Switchmode Power Supply Handbook, 1989)

half.jpg
    
(#) (Felhasználó 46585) válasza Zupp87 hozzászólására (») Dec 4, 2011 /
 
És minek kell ilyenkor bele a kondi? Ugyanúgy működik, mint 230-ról. Az a kondi csak a vezérlés hibáiból eredő esetleges DC összetevőt tartja távol a trafótól.

Nem tetted fel a gate-source feszültségeket a szimulátorban...pedig biztos lett volna ott néhány érdekes dolog.
(#) Zupp87 válasza (Felhasználó 46585) hozzászólására (») Dec 4, 2011 /
 
Igen, még nem tettem fel.. ma este felteszem.
Egyébként itt az originál magyarázat.. pontosan még nem fordítottam le, csak átfutottam a kezdő angolommal.

(forrás: Keith H. Billings - Switchmode Power Supply Handbook, 1989)

half2.jpg
    
(#) Zupp87 válasza Zupp87 hozzászólására (») Dec 4, 2011 /
 
Íme, megcsináltam az ábrákat. (Most snapshotolva, így jobban látszanak a különböző jelek). Készítettem egy zoomolt ábrát is, ami 3.3 nanós kapcsolással van. Látszik, hogy amint az egyik FET kikapcsol, elkezd esni a FET-félhíd kimenetén a feszültség, egyúttal nőni kezd az épp kikapcsolt FET Ugs feszültsége, és amint a másik Ugs feszültsége eléri a bekapcsolási szintet, megtorpan, egészen addig, amíg a félhíd kimeneti feszültsége közel nullára nem megy. Na ezen megtorpanás alatt disszipálnak a FET-ek, mert az egyik teljesen, a másik meg egy kicsit van nyitva. Minél nagyobb az Ugs kapacitás, annál kisebb értékig szalad fel az épp kikapcsolt FET Ugs feszültsége, annál kevésbé lesz nyitva, mikor a másik teljesen bekapcsol. Ez ellen se snubber, se ellendióda nem hat sehogyan sem. Úgy gondolom, ezt hivatott kiküszöbölni a ZVS (Mert egyébként ezen 3,3nanók megléte/hiánya a rezonáns kapcsolásban is ugyanezt okozta).
(#) Zupp87 válasza Zupp87 hozzászólására (») Dec 4, 2011 /
 
Egyébként ha a FET-ek gate ellenállásával párhuzamosan visszafelé beteszek egy shottky-diódát, a kapcsoláskor disszipált veszteség megtizedelődik a 3,3 nanós esethez képest is (természetesen akkor nincs bent a plusz kondi).
Csak:
-1: ahhoz el kell találni a terhelést/sokmindent a szimulációnál, mert történnek olyan jelenségek, amihez a minimális időegysége a szimulátornak már túl nagy, és kiakad
-2: az IR21531 úgysem tudna akkora gate levezető csúcsáramot biztosítani, mint amekkora abban az esetben kéne.
(#) lorylaci válasza Zupp87 hozzászólására (») Dec 4, 2011 /
 
Ajánlom az AN1160 doksit az IRF-nél, ami igaz az IRS27951-re van, de ott van a ZCS és ZVS mód is tárgyalva nagyon röviden az elején, és ott ezek látszanak rögtön.
Következő: »»   226 / 789
Bejelentkezés

Belépés

Hirdetés
XDT.hu
Az oldalon sütiket használunk a helyes működéshez. Bővebb információt az adatvédelmi szabályzatban olvashatsz. Megértettem