Fórum témák
» Több friss téma |
Mielőtt kérdezel, a következő két dolgot ellenőrizd!
I. A helyes tápfeszültségek megléte.
II. A kimeneten van-e egyenfeszültség.
Élesztés.
Mondjuk arrol ensem halottam hogy a vakum tette volna tonkre a szorot. 200Eurot ker erte... Kicsit sokallom, bar az ujj 800Euro korul van. De ezt meg megcsinaltatni, a lukat nem lehet ugy hejre hozni rajta hogy ne latszodjon a tores es a javitas...Uj membran meg draga... Az egyik hangosito kolegamnak van 4darab 21" rcf azok kitesznek ugy 6 dr 18" emininence hangszorot... de nekem nem tetszik a hangjuk,hideg puffogos a hangjuk,vagy nem eppen a nekik megfelelo dobozban vannak...
Ilyenek az Rcf ek. Bővebben: Link
Szép, látom ez már neodímium mágnessel van el látva, és a teljesítménye is meg van.
Szia, ennek így működnie kell. De ha a 2 szekundert sorosan összekötöd, akkor elég egy graetz a 2 szélső szekunder pontra. Ez előállítja a +--t és az összekötött pont pedig a nulla. (GND) A trafón a 2 szekundert úgy kösd össze, hogy egy hideg pontot egy meleg ponthoz. Vagyis akkor van jól összekötve, ha a 2 szekunder feszültsége összeadódik.
Üdv.: Miki
Az IC-nél a tápok megvannak rendesen? Minden kondi értéke jó? A bemeneti csatoló kondi is megfelelő értékű?
Egyaltalan nem biztos habar +- 26 volt megvan meg a tuloldali kondirol merve is es a kapcsolas nem valtozott csak rajottem, hogy van megegy graetz itthon es a kozosfold helyett most kiprobaltam a 2 graetzes megoldast.
Szurke femtokos 15A es 25A-es graetzek. Kb. 2.5 nm-es vezetekekkel amibol duplaval parhuzamositittam. (ismered piros/fekete) A kozepmegcsapolas egyik oldala is ebbol a duplabol van a masik 4nm-es atlatszo szigetelesu. Abbol megy a kozepmegcsap a vegpanelre is. A kapcsolast anno a mikroelektron bt. nel vettem. Probaltam keresni de ez a panelterv nem adodik ki guglival. 50*47mm es panel a labak kozott 3 foliavezetest szamlok. Nincs turelmem ma atrajzolni, de megszamoltam van rajta 7 darab ellenallas. volna rajta meeg 2 nagyobb elko es egy viszonylag kisebb. 3 darab m1k63 kis kek muanyag kondi. 3 darab felrobbant elko. es 2 keramia ebbol egy a bemeno amit en elkoval csereltem fel.
Idokozben rajottem, h ad ez melyeket csak nagyot csokkent az erzekenysege.
En a nagy lada miatt is 2 mikro bemenetet engedek es kepzelheted mekkora vagas van ha igy is 80% korul kell tartani a hangerot es az amugy 20 ohm-ra lehuzott bemenetu fronterositon venni vissza 40% ot hogy hallgathato aranyokat erjek el..
Csatlakoznék az előttem szólókhoz!Ahhoz hogy abból a végfokból nagyobb teljesítményt szedj ki, ahhoz elég nagy átalakításra van szükség!Egyébként meg tényleg mi a fenének akkora teljesítmény!!Lehet hogy üvölt mint az állat, de hogy szépen nem szól az biztos!!
Ha már teljesítmény kell, akkor "D" osztályú végfokok kellenek, de azok borzalmasan szólnak, és ha csak nem rendezvény hangosításra, vagy diszkózásra használja az ember, ahogy én régen, akkor teljesen felesleges!!
Sziasztok!
Az autónkba (25 éves Suzuki MK1) sajnos csak egy 4Ohm-3W hangszórót sikerült "szétbombázás" nélkül beraknom; szeretnék hozzá egy kis erősítőt applikálni. Csináltam ugyan egy AN17830A-s egységet, de az sztereó, illetve elég zajosra sikerült... Tudna valamelyiktek feltakni olyan kapcsolást, ahol egy L-R keverő van a bemenete után (keverje a két oldalt), és a kimenetére rá lehet kötni a hangszórót? Nagyon béna vagyok hangtechnika ügyben, sajnos "csak" digitális elektronikában vagyok érintett...
Teljesen egyet értek veled. Nekem egy HD osztályos DB HPA 1400-as végfokom van és nagyon jó hangja van teljesen meg vagyok vele elégedve. D-osztályost még nem halottam hogy szól, még nem volt szerencsém hozzá.
Sziasztok, tanulatlan kerdesem van.
Mit csinal egy tda ic-n a mute lab es mi tortenik ha megvaltoztatom az ele kotott ellenallas erteket?
Mennyire jellemzo a gyari jack-rca kabelelekre a vastag foldelesi vezetekszal?
Ha van akkor melyik markabol valoszinubb es mennyiert adjak? Lehet csinalnom kell egyet magamnak.
Ajanlod a 2400 ast... ezt te irtad rolla "THE T-AMP-nal, na azzal nem vagyok meg elégedve, mert ha az le ad 1200W-ot akkor meg eszem, de amugy igaz is, mert a Youtubon van egy video ahol egy balik le teszteli es valami 850W körüli teljesítményt kepés le adni klippelésig. Csak ne melegedne mint állat, ha van valakinek ilyen típusa akkor kukkantson bele és látni fogja hogy meg a tranyokat is ki spóroltak belőle, ugyanis mind a két oldalból hiányzik egy egy par tranyo, ha be építed akkor mar nem melegszik alitolag annyira." Itt a link az oldal kozepenel megtalalod magad....
Bővebben: Link
Ez mind igaz, ahogy le írtam akkor, de attól el tekintve hogy csak 850W-ot tud még jó, és ha bele építem azt a két tranzisztor párt akkor azon a két tranzisztoron is esik terhelés és már nem melegszik annyira. Amúgy az erősítő soha sem hagyott cserben még, és elég jól löki a hang(falakat)sugárzókat, még ha csak 850W-ot tud is.
Szia! A TDA IC-k mute (némítás) lába és az IC egy meghatározott másik lába közötti feszültségkülönbség függvényében a bemenetre érkező jel 80-90dB elnyomást kap. Ennek az adott IC adatlapján kell utána nézned.
A mute bemenetre az ellenálláson kívül kondenzátor is kapcsolódik, együttesen határozzák meg a beavatkozás időállandóját (késleltetését).
Sziasztok!
Segítségeteket szeretném kérni! Van egy KPOK CSA-500X erősítőm és hang(falat)sugárzót szeretnék hozzá vásárolni! A gond csak ott van, hogy nemtudom hány ohmos. Erre szeretnék választ kapni. Segítségeteket előre is köszönöm!
Ez az orosz-ukrán végfok 4 ohm-os a keresés szerint.
Idézet: Szerinted. Az itteni cikkben szereplő egyszerű D osztályú kapcsolásnak is szebb hangja van mint a legtöbb kommersz gyári B osztályúnak, és akár több száz W-on is. „Ha már teljesítmény kell, akkor "D" osztályú végfokok kellenek, de azok borzalmasan szólnak”
Igen, elképzelhető, bocs a szubjektivitásért!Sajnos nem sok "D" osztályú erősítőhöz volt szerencsém, kb. hármat, négyet hallottam, illetve javítottam, és hát nyilván ahhoz tudok viszonyítani!!Amiket eddig hallottam, azoknak a hangminősége jócskán lemarad a Conductor-omtól, illetve a B5 végfokaimtól, igaz azok "A-B" osztályúak!Főleg a B5, az ami nálam amolyan etalon féle "A-B" osztályban, de ez már szerintem ízlés dolga, hogy kinek mi jön be, kinek milyen hangkép tetszik, illetve a rákötött hangfalak minőségétől!!A "D" osztályú végfokok elsősorban hangosításra szokás használni, hatásfoka, teljesítménye miatt, de találkoztam már házimozi erősítőben is vele.Persze mindig vannak kivételek!!
Szia.
Teljesen egyet értek veled ebben. Kd végfoka vélhetőleg azért jobb a többinél mert nincs bent átfogó negatív visszacsatolás, csak lokális. Valamint a félvezető készlete is elég jó minőségű. A D osztályú végfokok mostani pl a Szigma-Delta modulációra épülve már azért hallgathatóak. De pl engem sem hoz úgymond "extázisba" :no:
Így már érthető, nekem pl. a B5 elég messze van az etalontól, attól még a Quad is jobban tetszett. A D osztályúak közül pedig általában az önrezgőknek van szebb hangjuk, simán szólnak úgy mint a conduktorod, ami nem éppen a csúcs hangzás, de hangosítani tökéletes.
Ez is tipikus példája annak hogy minden ember más hangzásképet szeret! A Quad hangjától meg én nem ájultam el, de egyébként sem preferálom az olyan erősítő kapcsolásokat, amikben ic van, de ez (csak) az én dilim!
![]() Egyébként igen, a Conductor nem egy szép hangú végfok, abban is van ic, de én is csak házibulira, illetve kölcsön szoktam adni haveroknak "Garázsbulit" csinálni! Kipróbáltam már én is pár kapcsolást, de (eddig) a B5 szólt legjobban a Tannoy hang(falaim)sugárzóimmal..
Hali! Igazad volt az volt a ludas ki cseréltem és működik rendesen. Köszönöm szépen a segítséget és annak is aki hozzá szólt.
Szívesen!
Örülök,hogy megoldódott a probléma!
Üdv mindenkinek.
Egy elég buta kérdésem lenne, de kíváncsi vagyok rá. Sokan írják, hogy hidalni szeretnének mondjuk egy TDA ic-t (autós ic pl.: TDA 8560q) és a válasz a legtöbbre ami olyan ic hogy belül van hidalva, mi az akadálya, hogy én még egyszer hidaljam? Például ez az említett ic is egy autós végfok IC ami bír 2 ohm -os terhelést is. Mi történne ha én hidalnám és rákötnék egy 4 ohm -os hangszórót? Elnézést a kérdésért. A válaszokat előre is köszönöm.
Sziasztok!
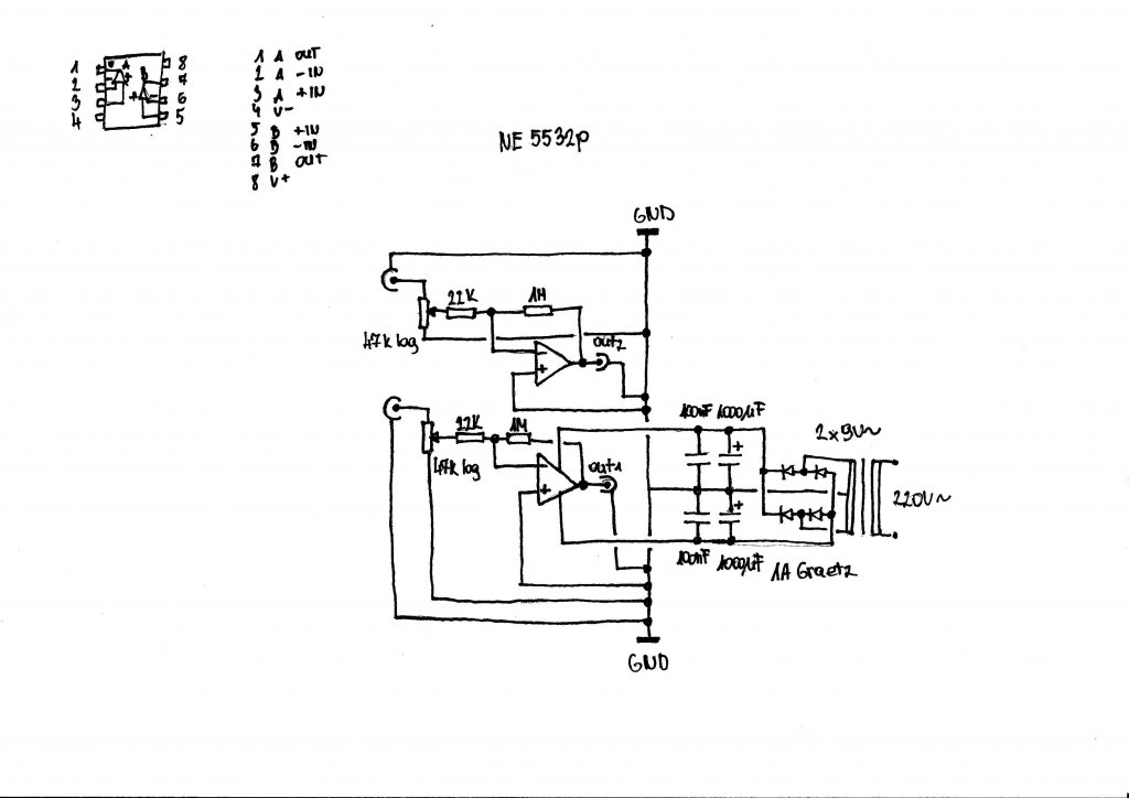
Biztos olvastátok Mayan cikkét "egyszerű kísérleti erősítők"címmel... abban van egy előfok aminek a kapcsolása monoban van lerajzolva; nem vagyok nagy agy ebben a témában de szeretek kísérletezni.A józan paraszti észre hivatkozva /ami lehet nem túl helyénvaló/ "megalkottam" a sztereo változatot ,ami nem tudom működőképes-e ebben a formában. Nagy segítség lenne ha valami hozzáértő szaki lecsekkolná hogy jó-e a kapcsolás.Előre is köszönöm!
Sziasztok!
Milyen erősítőt ajánlanátok ezekhez a Fostex hang(falak)sugárzók meghajtásához? Bővebben: Link
Szia!
Egyszerűen, csak kétszer kell megépítened a kapcsolást. Mivel te kettős műveleti erősítőt használsz így elég egy darab IC. A rajzodon nem látok hibát. Minden jót. B |
Bejelentkezés
Hirdetés |







