Fórum témák
» Több friss téma |
Szia!
Minden jól van bekötve? A panel tuti jó? Csak azért kérdezem,mert én is összeraktam az elektronikát, csak nem maratott panelen, hanem csőszegecses bakelit lapon és nekem működött. Bár a végleges összeszerelés a rovar hálóval el maradt.
Ha biztos vagy abban, hogy a panel jó, akkor nézd át az alkatrészeket. (bár a panel mindig megér még egy misét, ha még sosem üzemelt)
A kondik nem ütöttek-e át és a diódák jók-e benne, stb? Amennyiben nem találsz hibát így sem, kezdd el módszeresen kivenni a kondikat, hogy lásd, melyikben ágban van a hiba. Előfordulhat olyan kondihiba is, hogy a műszer mérőfeszültségén nem mutat átütést, de hálózatban igen. Nem drága alkatrészek, szerintem érdemes próbálni cserélni őket.
Köszönöm a tippeket!
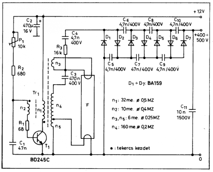
Én is arra gondoltam, hogy megérne egy kondi cserét mert egy régi fekete fehér tvből származnak a kondik is meg a trafó is. A tirisztor, diódák, meg az ellenállások újak. A trafót hogyan kötötted be mármint a rácsra menő ágakat? A malomkeréken ahogy a leirásban irja nálam egy vastagon szigetelt drót valamint egy vékony drót van kivezetés. A kettőnek egymás között nincs ellenállása. A kérdés a következő hová kell kötni a rácsokat?
Én nem ezt a kapcsolást építettem meg.
Nekem nem jön be ez a módszer. Én a sokszorozót vagy az eleve nagyfesz trafós megoldást preferálom. A nagyfesz trafó lábain azért illene mérhető ellenállásnak lenni. (szerintem)
Készitettem pár képet....
Sziasztok!
Megépítettem az alábbi kapcsolást és olyan bajom van vele, hogy a nagyfesz. kimeneten, ahol 4-500V-nak kellene lennie ott csak 26 volt van. Mi lehet agond? Előre is kösz. Bye, Palkó.
A fénycső világít?
P1-et próbáltad állítgatni? (bár az ennyit nem jelentene)
Esetleg a tekercs kivezetések nincsenek felcserélve? Az oszcillátor beindul?
Hi!
Igen a fénycső világít, a potmétert próbáltam állítani, de így is legtöbbet 100V-ot sikerült produkálnia. Akkutöltőről próbálom, tehát az a tápellátás, de gondolom az nem jelent semmit. Bye Palkó.
Tekerd oda, ahol a legtöbb feszt leadta.
Aztán nézd át a sokszorozóban a diódákat és a kondikat. Új alkatrészekből van? (átütés esetleg valamelyikben) Az értékek azonosak, mint a rajzon?
Minden alkatrész új. Hülye kérdés: (mert már nem tudom mi lehet) a diódán, ha egyen feszt. mérek, akkorminden diódán közel azonos fesz.-nek kellene lenni?
vagy valami mérés amivel kiderülhet miújság!? köszi bye palkó
Szia!
Alkatrészek tekintetében annyi változás van, hogy a BD245C helyett BD249C-t raktam, ez gondolom nem nagy ügy, a trafót pedig EI33 magra csináltam. Másik ami jelenség, hogy a trafó sípol, nyekereg. Ez rendes működésnél is így van, vagy valami terheli? Csináltam olyat is, hogy a fénycsövet levettem az egészről és úgy mértem a nagyfesz kimenetet, de így is max. 360V-ot tudtam beállítani a potival. (a poti 10k helyett 22k) Köszönöm előre is a segítséget. Bye Palkó
A BD-t nem néztem meg, nem tudom, mi a különbség köztük.
A trafó nyikorgása normális, mert nem 50Hz-et állítasz elő, hanem jóval többet. Mondjuk a túl nagy freki is lehet gond, de nem ez lehet a gondod. Ha cső nélkül jobban felmegy a fesz, akkor lehet a gyenge trafó/tekercs is a hiba forrása. A kimenet rá van kötve a szúnyográcsra, vagy a levegőben van szabadon a méréskor? A nagyfesz kondi ott van a végén a rács előtt? Azt is érdemes lenne cserélni esetleg más fajtára, hátha sok a szivárgása. A cső levétele miatti fesz felszaladás szerintem tipikusan olyan jelenség, ami a trafó alulméretezése miatt van, nem tudja ellátni a fogyasztókat. Vedd le a csövet és a nagyfesz pufferkondit a végéről és így mérj rá, mit mutat a vége. Nem túl nagy a fénycső teljesítménye? (hány W?) Esetleg kevés a menetszám a trafó szekunderén? (esetleg kis keresztmetszet, nem megfelelő vas, stb?)
Szia!
A kimenet csak a "levegőben" van nincs rárakva semmi, még a panelba se forrasztottam semmit, csak a pufferkondi van. A fénycső teljesítménye 6W. A primer tekercs 0,5-ös drótból van írva, én 0,45-ből csináltam, meg a szekunder n4 tekercs 0,2 helyett 0,25. lehet a vasmag miatt esetleg ilyen gond? köszi mindent várom a tippeket a méréssel pedig majd jelenkezem.
Vasmag miatt is lehet eltérés, bár hogy ennyi lehet-e, azt nem tudom. A végén a pufferkondi és a cső nélkül mit mutat?
Bár inkább kisebb pufferrel kéne próbálni, mert az ilyen impulzusos töltésnél különben nem mérsz értelmes értéket szerintem. Szekundernél hány menet van? (esetleg kicsit növelni?)
Hi!
Pufferkondi és cső nélkül 410V ot mutat a kimenet. Csővel puffer nélkül már csak 186V, pufferrel 140V. Próbáltam összeérinteni csavarhúzóval a kimenetet, de épphogy sercen. próbáltam kisebb puffert (1n) de azzal is csak 160V a kimenet. A szekunder tekercs( n4) 160menet, minden a rajz szerint van. Bye Palkó.
Hi!
Most csináltam egy másik trafót hozzá. Most az a jelenség, hogy ha a potmétert addig tekerem, hogy elalszik a cső, akkor megvan 500V van hogy még több is, de ha tekerem visszafelé, amint begyúl a cső abban a pillanatban letörik egész 170V-ig. szóval most már nekem rejtély ez a trafó!. Köszi. Bye
Amikor a cső elindul, akkor megnő az áramfelvétel, ezért esik vissza. Jó eséllyel kevés a trafó még mindig.
Mérted, hogy milyen frekin megy a kör? A 12V betápot is mérd meg, hogy mennyi amikor megy a cső, illetve amikor nem megy, hanem a rácson van nagyobb fesz.
A táppal nincs gond az stabil 12V, viszont frekit nem tudok mérni, tehát azt nem tudom.
Bye Palkó.
Szia!
Ez a kapcsolás az 1997-es RT évkönyvben van benne. Ott fazék mag volt a trafó, aminek az AL értéke 630. A Freki 20KHz volt 6W-os égő fénycső esetén.
Szia!
Ez így van. Bocsánat, ha hülyeséget kérdezek, de mi van akkor, ha fazékmag helyett pl tv sorkimenőt használok? Aztán mennyire számít, vagy mibe szól bele az AL érték? azt hiszem amire ln csináltam, annak 1250 volt az AL értéke. Lehet e ilyen hiba abból hogy nem fazékmagon vannnak a tekercsek? Köszönöm a válaszokat. Bye Palkó.
Szia!
A diódák azok, amit a kapcsolás ír, BA159. Hát a mérés igen DMM-el történik. Léggyel nem próbáltam. hát az lesz akkor, hogy megpróbálom úgy. Analóg műszerrel biztosan jól lehet mérni, mert van egy régi analóg műszerem??? Bye Palkó.
A vas nagyon nem mindegy, ahogy a kolléga is írja.
A mérésről: szerintem korrektül működik a digitális műszerrel is a mérés, mert igazából nem a csúcs érdekel téged, amit a trafó rúgásai csinálnak. Szerintem a meghatározó, ami a rácson is megjelenik és ami az áramot is adja a légy/szúnyog legyilkolásához, az a sokszorozó végén lévő 1500V-os kondi. Azon kell a feszt mérni, azt töltögeti a trafó. A diódák azért lényegesek, mert a feszültség tűrésükön túl a sebességük sem mindegy. Túl magas frekin nem lesz elég ideig nyitva, lassabban tölt, illetve kisebb feszültséget ér el csúcsban. Mivel van fesz a cső begyújtásáig, ezért szerintem még mindig a trafódnál keresendő a bűnös. (a diódáid ezek szerint jók) Ha jól vettem ki a leírásodból: alacsony frekin elkezd nőni a feszültség, majd ahogy nő a freki, úgy kúszik felfelé a cső begyújtásáig, amikor is leesik. A megfelelő teljesítményű trafónál nem szabadna leesnie, legalábbis ilyen mértékben nem! A csőről jó tudni, hogy a nagy freki miatt kisebb feszültségen is működik, mint a névlegese.
Szia!
Hát igen, akkor be kell szereznem egy ilyen vasmagot. 26mm es fazékmag AL=630. Honnan tudok ilyet szerezni!???? Köszi mindenkinek Bye Palkó.
Sziasztok!
Azért nyitottam ezt a topicot hogy megtudjak építeni egy elektromos légycsapót. Sajnos nekem nincs ilyenem mert a falu közelében nincs ilyen bolt. Ha valakinek van az küldene egy képet a nyák tervről +hogy mi kell hozzá? Mert nagyon meg szeretnék egyet építeni Csak nem tudom hogyan :no: Aki elküldi annak nagyon megköszönném
Viccelsz?
Komoly ára van a boltban is. webshopEzeröccá... Praktiker.... 980Ft low cost boltban 820 Szerinted érdemes építeni...?
Üdvözlök Mindenkit! Él még ez a topik? Megépítetem egy elektromos rovar csapdát. Néhány hozzá szólással korábban találtam a kapcs rajzot és az alapján. A rácsoknál 510 volt egyen feszt mértem. Egyenlőre kísérleti stádiumban van,ideiglenes dobozban. A csali egy 60 wattos villany körte. Konkrétan ló darazsak miatt készült a szerkenytyű. sötétedés után rá is mennek ,de nagyon lassan múlnak ki. Nincs az a csatanásos nyekk. Épített már valaki ló darazsak ellen jól bevált elektromos rovar írtót ?
A sokszorozós megoldást felejtsd el, a trafós viszont működik, annak nincs ellenfél. (Nieleline...?)
A trafós a korábban emlegetett kb 10e-be kerülő nagyobb szerkezet, ezekben nagyfesz trafó van, nem kondiban pufferelt nagyfesz. A sokszorozós saját tapasztalataim szerint a szúnyog/légy kategóriára elég, a nagyobb molylepkékhez és darazsakhoz nem! A trafós széthegeszti azokat is pikk-pakk. Mondjuk ahhoz trafót beszerezni nem egyszerű. A tiédet esetleg próbálhatod tuningolni nagyobb kapacitású kondival a racsfesznél. Az 500V elég, csak oda áram is kell, ami kinyírja.
Esetleg aki tud beszerzési forrást a rovarcsapda nagyfesz trafójához, az megoszthatná itt is.
A puffer kondi most egy 100 n és 56 n párhuzamosan.Sajnos nem volt itthon nagyobb. Ezzel a verzióval már nem akarok foglalkozni. A másik trafós megoldás viszont érdekelne . Trafót miből lehetne bontani ? Esetleg sorkimenő vagy motor gyújtó trafó jó oda? Köszönöm a válaszokat.
|
Bejelentkezés
Hirdetés |















