Fórum témák
» Több friss téma |
Mielőtt kérdezel, a következő két dolgot ellenőrizd!
I. A helyes tápfeszültségek megléte.
II. A kimeneten van-e egyenfeszültség.
Szia! Többnyire nem. Nézd meg az adatlapját. Ha nem boldogulsz vele, írd meg a típusszámát és az aktuális tápfeszültséget.
Az STK 4231/II-t +/-37V, vagy annál kisebb tápfeszültség esetén merném 4 ohm-mal terhelni.
Sziasztok, egy kis segítségre lenne szükségem. Van egy Grundig V303 erősítő, STK 4036 X IC van benne. Rendelni már nem lehet. Milyen STK-val lehet helyettesíteni? Vagy az STK 4036 X -nek a belső felépítése is nagyon nagy segítsége lenne. Köszönöm a választ előre is !
STK IC-k mind sok (8-16) ezerbe kerülnek, és 50%-ban gyárilag rosszak.
Ajánlom inkább, keress egy jó tranzisztoros kapcsolást, építsd meg, és 1-2 ezerből kijössz, és soha nem lesz olyan, hogy nincs hozzá alkatrész a boltban. Én is csak STK-t azért vettem, mert idegennek, kuncsaftnak, nem akartam a készülékét átalakítani, magamnak soha nem vennék olyasmit, amiben STK van, mert nagyon rosszak a tapasztalataim.
Szia! A belsejét itt tudod megnézni.
Köszönöm a választ! Esetleg egy olyan kapcsolás keresésében tudsz nekem segíteni ami kb akkora teljesítményt képvisel mint az STK 4036X *(2db stk van az erősítőbe.) ??
Köszönöm előre is. (Van itthon 4db tranzisztor valamikor egy erősítőbe volt benne csak szétbontottam. 2db BDW84C,2db BDW83C )
Köszönöm!
Belső felépítésére lennék kíváncsi ellenállások,kondik stb. kapcsolására ami gyárilag be van öntve. Nem szívesen szedném szét ez az egy darabot ami itthon van.
Nehezen pótolható végfok IC-k helyére: Bővebben: Link
STK4036 II
STK4036 X Megvan mindkét STK-nak a kapcsolása. Annyi a 2 között a különbség hogy a THD: STK 4036 II THD: 0.3% STK 4036 X THD 0.008% Ez igazából mit is jelent? A másik kérdésem. összehasonlítottam a 2 kapcsolást minden megegyezik csak a 8-as és 11-es lábra nincs kötve semmi (STK 4036 II esetében.) 8-as és 11-es lábra van 1Kohm-os ellenállás és egy 100pF kondenzátor. (STK 4036 X esetében. ) a 4036II-t beépítem és a 8, 11-es lábát nem forrasztom be akkor gondolom működnie kell. Jól gondolom ?
Helló!
Én is építettem STK-val végerősítőt, csak én az STK-4042XI-es típust építettem meg. Egy II-es végű típusnak kevésbé örültem volna mint a XI-nek, mert a II-es gyengébb hangminőséget produkál. A THD az a Total Harmonic Distortion rövidítése, és ez az erősítő harmonikus torzítására utal. A XI-es típus sokkal komolyabban van megépítve (válogatott alkatrészek) ezért jobb a THD-je, ezért szebben is szól. A 8-as és a 11-es láb közé beépített ellenállat és kondi szerintem egy nagyfrekis negatív visszacsatolás, és a gerjedést hivatott gátolni, ha jól gondolom, de javítsatok ki, ha nem így van. Ha egy mód van rá, (és be tudod szerezni) én inkább az STK4036X-et javasolnám beépíteni, pláne, ha az volt eredetileg is az erősítőben.
Sajnos az eredeti már nem rendelhető nem tudom beszerezni.
Nem tudtam, hogy a TDA 7294 100 Wattos, csak azt nem tudom, mibe kerül? A TDA sorozat minden tagjával eddig meg voltam elégedve. Az STK nem rendes IC, hanem hibrid áramkör! Kész kontakthibafészek. Tapasztaltam. Amit helyette vettem 1 évre rá minden ok nélkül újra elfüstölt.
a tda-ról mondanék pár szót igaz nem ide tartozik.Nekem nagyon tetszik a hangja és teljesítménye
db-ja kb 1000Ft Üdv
Akkor az nagyon megéri. Az STK-k azok a hybrid IC-s korszakból itt ragadt dinók. Szedtem már szét, vagy SMD-kből, vagy tok nélküli SMD-kből vannak összerakosgatva, és a rossz ponthegesztéseknél fordulhat elő kontakthiba.
Szevasztok Péter vagyok.
Minap szereztem egy Hitachi ha-3 stereo erősítőt végfok hibával.A két végfokot kicseréltem és mikor bekapcsolom a mágnes kapcsoló nem húz be és nem szól.a végfokok ugyan arra a típusra lettek kicserélve (profi módon) (STK 4044 II) mi lehet a baj merre keresgéljem?köszönöm válaszotokat.
Szia!
Ha sötétben tapogatózol, nézd meg, mit kapcsol a relé, aztán kezdd el visszafelé nézni a nyákot. Próbálj kapcsi rajzot készíteni és ha úgy ahogy kiderült mi vezérli, ellehet kezdeni keresni a hibát. Kondenzátor, vagy ellenállás, ha tönkre megy, látható jelei vannak többnyire, szóval több mint valószínű, hogy valami dióda, tranzisztor, vagy valami más félvezető lehet a baj okozója. Esetleg védelemből csinálja, az esetben zárlat lehet valahol, vagy túl van vezérelve a végfok, stb. Én valahogy így esnék neki! ![]() Üdv.: Jax!
Sziasztok!
Egy igen érdekes hiba kapcsán kérném a segítségeteket! Hozzám került javításra egy végfok hibás Soundwave AA-4000 erősítő. A benne található, egyszer már cserélt STK4231II IC belülről meg volt égve, DC-t adott a kimenetre. Kicseréltem STK4231V-re a jobb hangminőség érdekében, az áramkörét megnéztem, ki van építve a plusz szükséges rész. Volt pár púpos, égett elko, ezeket is cseréltem. Ezen kívül a védelem reléjének egyik kontaktusa szakadt volt, ezt is cseréltem. A jelenlegi állás: Az erősítő a bemenetére kapcsolt szinusz jelet csak nagyon kis hangerőn adja ki torzítás mentesen, ha feljebb csavarom, a szinuszjel átmegy olyan formába, amit alul áteresztő szűrő csinál a négyszög jelből . Az erősítő IC bemenetére a jel még torzítás mentesen érkezik, igaz van egy kis DC komponense (kb. 300mV), ami csak az IC bemeneti lábán tapasztalható. Fontos még, hogy az erősítő csak halkan szól, a kimenet kb. 1,8 Vpp-re kúszik fel, erős torzítás mellett. DC csak 100mV megy a kimenetekre. Mind a két oldal ugyanígy viselkedik. Tápfesz +- 72V, amit az STK IC rendesen megkap.Szerintetek mi lehet a gond? Szívesen veszek minden gondolatot a téma kapcsán!
Szia! Az erősítő mit kezd a némítás funkcióval? A 6 és 9 lábak negatív táp közelében vannak?
Némítás hatására a kimeneti jelszint a funkciójának megfelelően lecsökken, de ugyanúgy viselkedik, mint ahogy már írtam. Mint ha halkabbra venném... A 6. láb negatív tápfesz közelében (-68V), a 9. láb földpotenciálon van.
Az adatlapi kapcsoláson a 9. láb ad negatív tápot a nagyjelű erősítő munkaellenállásának. Ezek csatlakoznak a 7 és 17 lábakra. Megkapják valamilyen úton a negatív tápot?
Az nagyon nem jó. Az adatlapi belső vázlat alapján átlátod a működését? A kimenetnek ilyen mérési eredménynél a pozitív tápon kéne lennie.
A 7,17 lábakról a negatív tápra menő ellenállások megvannak? Ezekbe csatlakozik be a feszültség-utánhúzó kondenzátor.
Nem egészen látom át működését, ha van időd, fűzhetnél hozzá egy kis kommentárt, sokat lehetne belőle tanulni. Milyen ellenállásokra gondolsz? A belső felépítés ábráján, vagy a minta áramkörön keressem?
A bal oldali erősítő részt magyarázom. A TR8+TR9 és a TR10+TR11 tranzisztorokból álló teljesítményfokozatot a TR6 tranzisztor hajtja meg. Ennek van két soros munkaellenállása melyet az ajánlott rajz mint 4,7k-t jelöl. Lehet nálad kisebb értékű, mert itt 10mA a szokásos áram, ahhoz 3,3-3,6k ellenállás illene. Jelöltem, hogy durván 34-34V-nak kell esni mindkét ellenálláson. A TR7 darlington ad előfeszítést a teljesítményfokozat tranzisztorainak, rajta kb. 2V esik, ezért a 7. lábon -1V körüli feszültséget kéne mérni.
Azt gyanítom, hogy a 7. láb és negatív táp között nem folyik elegendő áram az említett ellenállásokon, ezért olyan vérszegény a kivezérelhetőség. Keresd meg a két említett ellenállást, mérd meg az értéküket, majd áram alá helyezve az erősítőt, a rajtuk eső feszültséget. Kiderülhet, hogy szakadtak, vagy nem kapnak negatív tápot esetleg az után-húzó (47uF) kondenzátor zárlatos. A hozzászólás módosítva: Jan 23, 2013
Az általad említett említett ellenállésok mind 4,7k-sok, rendben vannak. A potenciálok mindkét oldalon a következők: Az IC 7. (17.) lába: 71,2V (71,1V), az ellenállások közös kivezetései: 0V (0V), a második ellenállás második kivezetése: -68,1V (-68,2V).
A hozzászólás módosítva: Jan 24, 2013
Ezek szerint a pozitív táp mérhető a kimeneten?
Reloop kollégával megvitattuk a problémát és ő már az elején sejtette, hogy bedöglött az STK IC. Azóta a végére jutottam a témának. Tehát jött az erősítő egy túlhajtott és meghibásodott STK 4231II-vel. Én szépen kicseréltem az IC-t plusz azokat az elkókat, amiket magával rántott. Igen, ám, de a védelem reléje is féloldalasan szakadt volt, ami a kimenetet kapcsolta. Én meg terhelés nélkül szépen túlhajtottam az új IC-t, amit (szétszedve) a végfok tranzisztor-párokat hajtó tranzisztorok kipukkanásával jelzett. IC + relé csere és már működött is!
Sziasztok!
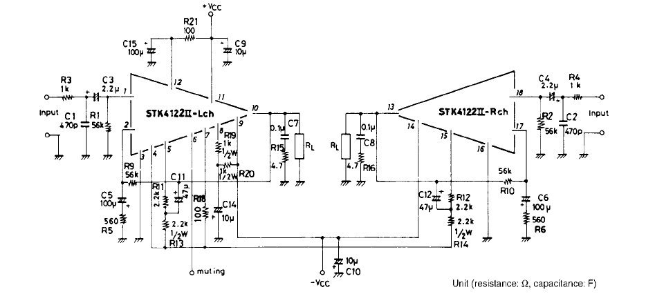
Nemrégen megépítettem az alábbi kapcsolást. Szép hangja van stb. csak az a gondom vele, hogy nagyon nagy az alapzaja. A kérdésem az, hogy hogyan lehetne ezt a zajt csökkenteni, vagy teljesen megszüntetni? Köszi a válaszokat! A hozzászólás módosítva: Ápr 4, 2013
Hello! Nem találtál megfelelőnek, egy erősítős topikot az ezerből?
üdv! |
Bejelentkezés
Hirdetés |






üdv! 




