Fórum témák
» Több friss téma |
Üdv! A célszerű megoldás: kisebb szekunder feszültségűre cserélni a trafót. Esetleg köthetsz rá ilyet, a TDA2050 helyett.
Köszönöm a gyors választ.
A trafó cseréje nem megoldható, mert ettől már csak nagyobb feszültségű van. (24,30,36 voltosak, váltó oldalon) Tehát a trafónak maradnia kell. A 7294-essel az a problémám, hogy ugyebár 1x100W. Én pedig egy sztereo erősítőt építenék a két darab 2050-essel, ami 2x30W. Vagy ha esetleg tud ajánlani valami hasonló teljesítményű kapcsolást, azt is átgondolnám.
A kivehető teljesítményt alapvetően a tápfeszültség és hangszóró ohm-száma (impedanciája) határozza meg. A TDA7294 is ugyan akkora teljesítményt ad le azonos tápról mint a TDA2050. A TDA2050 mindössze kisebb feszültségtűrésű. Nagyon drága lenne a leves, ha a felesleges feszültséget külön áramkörrel - jobb híján - hővé kéne alakítani kivezérléskor. Természetes ez is járható út, egy-egy feszültségszabályzót kell a tápágakba építeni. A bonyolultság és a rossz hatásfok ellene szól.
Szia!
A nagyobb feszültségű transzformátoraid is jók lesznek, mert a TDA2050-es egyszeres tápról is járatható, így több trafód is jó hozzá. Az egyszeres tápfeszültségű használathoz rajzot itt találsz.
Üdv! Csatlakozom a javaslatodhoz. Korábban készítettem már hozzá kiviteli tervet.
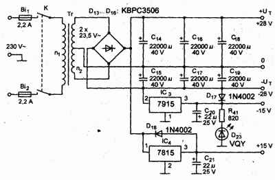
Üdv! Alább linkeltem egy táp rajzot. Át lehet úgy alakítani, hogy jó legyen a trafómhoz? Mellékeltem a trafóról és az egyenirányításról egy-egy képet. Mindenféleképpen ezt a trafót kellene használnom, mert a többi nem megfelelő, és már nagyon zúgnak. (és nincs pénzem toroidra xD)
Valami tápegységes témában kéne ezt kitárgyalni. Ilyen egyszerű áteresztő tranzisztoros-zeneres elég lenne a feszültséget ejtetni. Tranzisztornak két olcsó darlingtont kéne választani.
És a kimeneten lévő feszt a diódákkal szabályoznám, vagy a tranzisztorral?
A diódákkal.Ezt a témát ajánlom figyelmedbe.
Befejeztem a nyákterveket. Az első a tápegység, a második pedig egy új TDA végfok.
1: jel GND 2: jel 3: hangszóró ki 4: táp be "+" 5: hangszóró GND 6: táp GND 7: tartalék GND 8: táp be "-" Biztosítékot hova érdemes rakni? Mert ahogy én gondolom, tennék 1-1-et a végfokok pozitív, negatív ágára, illetve a trafó és a táp közé.
Tápegység: a biztosítékot az egyenirányító híd és trafó közé tenném, ahogy a táp témában rajzoltam. Az egyenirányító híd után az 1-1 4700µF puffer bőven elegendő. Négy nagy kondit jelöltél, annyi nem kell. A negatív tápoldalon a ventilátor 47µF szűrőkondenzátorát ne itt helyezd el, hanem a ventilátor kivezetéseinél!
Végfok: a hangszóró test (GND) a táp testre legyen kötve! A tápot az erősítővel összekötő test vezetéken semmi keresnivalója a hangszóróáramnak.
A Végfokot eről az oldalról néztem, csak kicsit megvastagítottam a vezetősávokat, plussz átpakoltam egy két dolgot. Ismerősöm meg építette és neki működik.
Akkor módosítom a layoutot is, hogy megfelelő legyen. A hozzászólás módosítva: Márc 15, 2013
Elhiszem, hogy működik. Mikor összekötöd a másik csatornával és a hangszín szabályzóval akkor jelentkezhetnek problémák.
Akkor csak pirossal rajzold be a képen.
Az előző hozzászólásom meg törlöm, és zipben elküldöm a lay-t. A hozzászólás módosítva: Márc 15, 2013
Igen, ezt valóban le felejtettem, a terhelést...
Egyforma áramú a terhelés. Kis teljesítményű audió erősítőket hajt meg. Egy aktív 5.1-es hangfal szett trafóját akarom kiváltani, de nincs közép leosztás a csere trafón. 5db közép-magas sávban dolgoztatott TDA2030-at hajtana. Amit még nem írtam, hogy két trafóval váltanám ki, mert a mély meghajtás ügyes módon külön tápról megy, ami ez esetben fizikailag is egy külön táp lenne. A mély meghajtás egy hídkapcsolású TDA2030 egység. Az eredeti trafó feszültségei 2x2x11V, áganként 1,5A Még annyit, hogy zéner nem áll rendelkezésemre. A hozzászólás módosítva: Márc 15, 2013
Próbáltam követni az alkatrész méreteidet és ötvözni a praktikummal.
Ez a rajz tőled származik? Ez mennyire lehetne megoldás az én helyzetemre?
Épp itt muzsikál mellettem, nagy baja nem lehet
![]() Ezen talán áttekinthetőbb, hogy egészben meg van rajzolva.
Ez nagyon klassz!
A pufferek értéke is eléggé kisméretűre választható így ha jól látom?!Az ellenállások értékét milyen áramra számolod? Gondolom a bázis ellenállások értéke úgy van megválasztva, hogy a tranzisztorok bázisa 0,6V-on legyen. Erről a megoldásról hol olvashatok?
Ez a táplálási forma az én vesszőparipám, mert nem szeretem a földhurok búgását hallgatni. Gyári készülékek közül a Quad606-ban találsz hasonló megoldást.
Az ellenállások változtatása minimális jelentőségű, olyan értéket válassz, hogy a teljes táp 25%-nál nagyobb feszültség ne essen rajta. Csak az egyik oldalon fog tartósan folyni az áram. Az erősítő kimeneti DC hibája miatti hangszóróáram folyik itt el! A tápoldalak között lesz pár tized volt eltérés, mely a működésben szinte észrevehetetlen. Minél nagyobb bétájú tranzisztort használsz, annál kisebb lesz az aszimmetria. Teljes szimmetriát nem lehet elérni.
Ahogy néztem a két rajzot, a bázis ellenállás kb 10x-se a kollektor ellenállásnak. Ez így tartható?
Az általam csatolt rajzon 470/4,7K, az általad linkeltnél 1,5K/10K Ha egy komplett rendszerbe illesztem be, akkor a a hangszórók 0 pontját át kell helyeznem az új nullpontra, vagy maradhat az eredeti földvezeték? A hozzászólás módosítva: Márc 15, 2013
Az 1:10 az jó arány. A több csatorna DC hibáinak eredőjéből jön majd ki mekkora korrekciós áramra kell készülni.
Ebben a rendszerben csak egy földpont létezik, mely gyakorlatilag azonos a korábbi szimmetrikus tápéval. A linkelt rajzon "COM" jelölést adtam neki. Egy kiviteli terv például így fest. Eddig két csatorna volt a legtöbb amit ilyen virtuális földpontos táppal kipróbáltam, de nem látom akadályát a bővítésnek. A hozzászólás módosítva: Márc 15, 2013
Ok, bár eredetileg nem erre az IC-re vonatkozó a kérdés, az csak egy véletlen dolog hogy pont ez van benne... Mehetne az erősítős topikba is, de nekem itt is jó...
Klassz kis terv, ha nem gond lementem!
![]() A következő lépés úgy is az lesz, hogy a híd 2030-akat kiváltom 7294-re, a szateliteket, meg egy egyszerű kis tranzisztoros erősítőkkel.
Most vettem észre hogy válaszoltál még.
![]() Bogarásztam az alkatrészeket, próbapanelre már összeraktam, holnap összeforrasztgatom, és be is szerelem! ![]() Köszi a segítséget!
Üdv! A két végfok TDA-ját rakhatom egy közös hűtőbordára - persze csillámmal vagy szilikon lapkával elszigetelve? Vagy más helyet kell kitalálnom neki?
Rakhatod egy bordára.De a csavar köré nem árt egy szigetelő!
|
Bejelentkezés
Hirdetés |


















