Fórum témák
» Több friss téma |
Fórum » TV hiba, mi a megoldás?
De van még hiba is ahogy olvasom.
A hozzászólás módosítva: Szept 6, 2013
Már állok is neki.
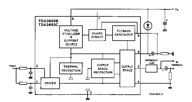
1 láb:1,57 V 2 láb:0 V 3 láb:1,66 V 4 láb: 0V 5 láb:22,8 V 6 láb:24,3 V 7 láb:6,1 V 8 láb:0 V 9 láb:25 V Ezeket mértem.
Most egyenlőre az akaival bajlódom de én zavartalak be benneteket bocsánat.
A Philipsnél majd nem tudom, hogy a gyári BD237 238 párost cseréljem egyben, vagy valahogy tegyem be a nagyobbakat és mind a 2-t kéne gondolom cserélni mert komplementer, de aki előttem csinálta az csak a 237-et cserélte BD241-re és mivel fordított a lábkiosztása érthető is hogyan rakta be... Köszönöm a rajzokat
Köszönöm a rajzot. Ezt kaptam "stevepapa"-tól is, sajnos ez nem jó az enyémhez. Amit utána találtam és feltettem az hasonlít rá.
Az az ic kuka lesz.Ilyen értékeknek kellene lenni a lábakon.
A hozzászólás módosítva: Szept 6, 2013
Sziasztok!
Adott egy Orion TV amiben többszörös hiba következtében kipukkant az eredeti STV9306A jelű IC. Szervizben helyettesítették egy "A" jelzés nélkülivel, amivel a tv működik de a kép felső harmadában egy kb 10 cm széles sávban vízszintesen fekete csíkok láthatók. A szerelő szerint a két IC közötti különbség okozza. Találtam webáruházban az eredetivel megegyező jelzésűt amit meg is rendeltem ITT! de az átvételkor sajnálattal tapasztaltam hogy "A" jelzés nélküli. Reklamációmra a boltból azt a választ kaptam hogy garantáltan működni fog. Szóval az érdekelne, valóban helyettesíthető e az eredeti a jelzés nélkülivel, és az adott esetben más okozhatja e a fennálló hibát. Köszönöm a válaszokat. A hozzászólás módosítva: Szept 6, 2013
Ezeket az értékeket testhez képest mértem, DC állásban a multin.
Akkor a fenti sorozat , amit írtál , azt hogy mérted ?
Ahogy írtam. Multiméterrel egynefeszültség (DC) a fekete mérővezeték a testen és a pirossal pedig végigmentem az IC lábain 1-9-ig. Még mindig azt mondanám, hogy rosz az IC.
Ha azt mérted , ami képet én feltettem , és egyezik , akkor jó az ic .De ha azt mérted , amit te ki írtál egymás alá az szerint rossz az ic.
A hozzászólás módosítva: Szept 6, 2013
Szóval most már többszörösen is a diagnózis az IC kuka... Már kérdeztem ez elején, hogy esetleg az lehet-e rossz, csak sajnos még nem értek hozzá annyira, hogy azt egyből ki merjem jelenteni, hogy rossz. Hát remélem ha csere megtörténik akkor jó lesz. Ha nem akkor kicsit rosszul fog érinteni
De ha az lesz akkor legközelebbi ilyennél már bátrabban merek egyedül is nekiállni. Nagyon köszönöm az eddigi segítségeket.
Sok sikert a továbbiakhoz az ic cseréhez , és meglátod jó lesz az.
Üdv! Még mindíg a Loewe-vel küszködöm! Van egy kérdésem! Ugyebár ez a kapcsolás képes arra hogy valami okból lezárja a videó processzort és az ágyúk előtti végfokokat, ami lehetséges ebben az esetben. A mellékelt rajzon, összeszedtem hogy ez a bizonyos "CUTOFF" szál honnan és hová kapcsolódik. Az a kérdésem, hogy nem e kellene itt valami feszültségnek lenni, hogy ez a bizonyos "CUTOFF" mód ne működjön, és kinyissanak a tranyók és a videóproci? A múltiméter ezen a vonalon semmit nem mér.
Nem valószínű feltettem neked az ic belsejét , és logikáját .
Ez szerint a 17 es lábon egy fényérzékenység alapján automata állítás valósulna meg , ami a te esetedben nincs kiépítve. A 15 , és 16 os láb az pedig fix értékre van beállítva , de a 16 os láb me egyébként az ic ből kijövő jel lenne m, ami látszik is a blokk vázlaton. A logikái kapcsoláson láthatod mikor melyik kapcsoló van nyitva , illetve zárva. És az ic videó processzor ugyan , de inkább szűrő feladatot lát el ,és nem a kép megjelenítéséért felelős elsősorban.
Hát, én már nemtudom! A fene ott egye meg azt a TV-t ahol van!
Itt a vége, feladom!
Várj kezdjük az elején hátha valami elkerülte a figyelmünket.
Jelenleg mit tapasztalsz , ha minden a helyére van téve és bekapcsolod .
Na akkor ebbe az írányba kell elindulni , hogy mi tiltja le a tápot,.
Azt tudjuk , hogy izzós terhelésre is kikapcsol . Kicserélted a TD ic , és ezzel is ugyan azt csinálja.Akkor azt kellene csinálni , hogy minden szekunder kimeneti feszültséget meg kellene mérni úgy külön külön egyenként rátenni a műszert , és amikor kikapcsol melyik szekunder kimeneti feszültség megy le nagyon , meert akkor az terhel be , és akkor azt a kört kellesz tüzetesen megvizsgálni. Remélem nem volt túl bonyolult ezzel remélhetőleg ki tudjuk majd szűrni , azt , hogy melyik irányba induljunk el .
Igen, csak ezt a procedútát én már megcsináltam, és minden feszültség stabíl volt.
Akkor még egyet tudok javasolni mégpedig azt , hogy minden szekunder köri kimenetet ami a tv további részeihez megy megszakítani kiiktatni .Hogy csakis a táp működjön az izzót, azért tedd rá.És ha így is kikapcsol a táp,akkor egyértelmű táp hiba ugyanis én a TDA4106 ra gyanakszok.
Ha a táp csakis magában is kikapcsol , akkor felesleges addig a tv többi részén keresni a hibát .Mert lehet , hogy a semmit keressük .Legyen a táprész tuti egyenlőre aztán majd megyünk tovább.
Szóval mindent bontsak le, és csak a 155V maradjon bekötve!
Igy igaz , és úgy kellene ezt csinálni , hogy a szekunder kör maradjon meg , tehát nem rögtön a trafó kimenetén lévő biztosíték kiemelésével csináld a megszakításokat , hanem a rajzon ahonnan már a fix kimeneteket mutatja ott kellene mindegyiknél csinálni egy megszakítást .De a +155 volton az izzó maradjon rajta.
A hozzászólás módosítva: Szept 6, 2013
De, áljunk meg egy szóra! Ha én elbontok mindent, akkor a táp csak készenlétben fog menni. Az a rész ami őtet elindítaná nem lessz áram alatt, mi fogja bekapcsolni?
Viszont készenlétkor is megvan a +155V a szekunder oldalon.
Hali, újra feltenném a kérdésem, itt a TV, csak ártogat, és nem tudok rájönni a hibájára..
Bővebben: Link |
Bejelentkezés
Hirdetés |






De ha az lesz akkor legközelebbi ilyennél már bátrabban merek egyedül is nekiállni. Nagyon köszönöm az eddigi segítségeket. 






