Fórum témák
» Több friss téma |
Fórum » DCF77 óra Nixie-csövekkel
Én nem ismerem az 1%-ot. Egyáltalán létezik? (Mármint, ami önállóan indul, fel lehet valahogy tölteni és nem kell inicializálni...)
Nemtudom de te a 99% ról írtál , gondoltam hogy van még 1%....
De ha nem létezik akkor sajnos kvarc oszcillátor és frekvenciaosztó kell A hozzászólás módosítva: Dec 11, 2013
Tutira van, csak én nem tudok róla. Tervezzek egyet?
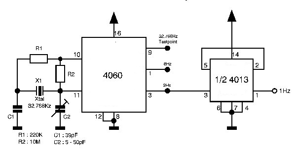
Sokuk inicializálás nélkül tesztelési célokra a megszakítás kimeneten 1Hz -es, 50% kitöltésű jelet ad ki: PCF8583. De megteszi egy 32.768 quartz + CD4060 + CD4013 is. Ez a két megoldás sajnos drágább, mint a kontroller, ami a többi számlálót, dekódert is megvalósítja (a kiegészítésekről nem is beszélve: DCF77 szinkron, beállítás, fényerő szabályzás).
A hozzászólás módosítva: Dec 11, 2013
Sajnos nincs.....Bocs, akkor mégiscsak van.
De a Z560M megérdemelne egy komoly áramkört. A hozzászólás módosítva: Dec 11, 2013
Kérdezd korgs2-t ...
én nem fogom megépíteni .
PIC-et neki...
Minimum egy Tom025, de inkább egy Mule2 áramkört érdemelne.Szerintem biztos van olyan kolléga Egerben, aki felprogramozza.
Ha megfelel akkor küldök postán egy felprogramozott MuleV2 PIC16F628-at.
Ha csak nem az önálló alkotás vágya hajt (ami egy nagyon jó dolog, mert ez is viszi előre a világot) akkor maradj egy bevált kapcsolásnál.
Lehet azt programozni is...!
Köszönöm a felajánlást,de végül is benne van az egyedit alkotni "varázsa",meg az is hogy pic-et nem nagyon szeretem.Lehet( jó tudom) hogy egyszerűbb lenne,de szeretem a kihívásokat
Rendben, Te döntésed, akkor arra mindenképpen figyelj, hogy pontos 1Hz-es időalapod legyen.
A jellel egyenlőre még nem nagyon foglalkozok,úgy is generátorról kapja majd,a lényeg az lenne most hogy csináljak hozzá nyákot,meg maga a számláló része életre keljen.Előbányásztam a csöveket,a négyzetrácsos papírt(igen maradi vagyok tudom
),és indulhat az esti rajzolgatós móka. Köszönöm a segítséget,majd beszámolok a fejleményekről. UI:z561m csövet látott már Valaki bármiben is? Találtam egyet a dobozomban de nem tudom miből lehet.
Szimbólumcső, multiméterben, vagy frekimérőben szokott lenni.
Erre az órajel generátorra esett a választásom,viszont annyi kérdésem lenne,hogy műszerezettség terén nem állok valami jól,be tudom a kondival állítani így is a frekvenciát normálisra?
Egy pontos óra és sok türelem segítségével ...
Vagy létezik esetleg olyan kapcsolás,aminél nem kell állítgatni?
Keress olyan RTC ic-t ami belső kvarcos és van 1 Hz-s kimenete ..
Sziasztok !
Teljesen belezavarodtam az anódellenállás számításába. IN-12-es csöveket fogok használni. Megnéztem az adatlapot, és az itt leírt képlet alapján számoltam: (Uanód - Uégési)/(Ifolyamatos x 6). Tehát (200V-170V)/3mAx6)=1,67 kOmh. A 6 os szorzó ugye a multiplexeres meghajtás miatt van a képletben (6 cső). Enélkül ugye pont 10 kOmh-ra jön ki az ellenállás. Akkor tényleg ilyen kis ellenállás kell ? Köszi
Nálam 22k van berakva, de az néha túl soknak tűnik, egyes szegmensek nem világítanak jól. A Mule nyák tervében is 10k szerepel.
Én is úgy gondoltam , hogy marad a 10k csak ez a képlet kicsit megzavart.
Bővebben: Link vagy összeüssem ezt a kapcsolást esetleg? A lényeg az lenne hogy működjön egyenlőre aztán az órajelen majd finomítok később,apropó,a hálózati 50hz-ből leosztottal mennyit késne/sietne az óra?
Ezt a kapcsolást is elfelejtheted, nézd meg Pesten a köztéri órákat mind hálózat szinkronnal megy ...
A hozzászólás módosítva: Dec 12, 2013
Hát nem vagyok valami nagy szakértője a dolognak, de szerintem az anódellenállásnak nem sok köze van ahhoz, hogy multiplexben vannak-e hajtva a csövek, mert minden cső anódjának saját ellenállása van. A katódok vannak "közösítve", legalábbis a Mule-ban.
Idézet: Hát ez látszik a hozzászólásodból! Az anód ellenállás határozza meg a maximális áramot ami a csövön folyhat , ha a csövek folyamatosan világítanak akkor az adatlapban megadott áramértékre kell számolni , ha multiplex vezérlést használsz akkor ezt az értéket meg kell szorozni a csövek számával ugyanis az időegységre eső áram akkor lesz közel azonos (tehát akkor egyenlő a fényerő). „Hát nem vagyok valami nagy szakértője a dolognak” A hozzászólás módosítva: Dec 12, 2013
Itt az a gond, hogy csak 30v a különbség az Uanod és az Uégési között. Tehát az anódfeszt emelni lehet és az Uégési, se biztos, hogy 170v mert az adatlap azt írja, hogy nem több mint 170v (lehet hogy kevesebb) nekem a trafós mule 1.3-ban megy az in-12 és több mint 220v az anódfesz (mert ott az adatlap azt írja, hogy legalább 200v)
A hozzászólás módosítva: Dec 12, 2013
OK, én elfogadom amit írsz, hisz valóban nem vágom annyira, de ha így van akkor végkép nem értem mi alapján használnak 10-22k ellenállásokat. Ez, hogy jön ki matematikailag?
Legtöbben nem számolgatnak, hanem megépítenek egy kész kapcsolást , ha a"tervező" nagyobb anódfeszt használt akkor ahhoz nagyobb ellenállás jár..
A hozzászólás módosítva: Dec 13, 2013
A csövek égési feszültsége az, ami nem egzakt, az orosz gyártó sem adja meg pontosan (nem több mint 170v) pl. Nálam 240V anódfeszültség mellett 22k ellenállásokkal jól működik az óra. A multiplex miatt elég nehéz belemérni , az anódáramra 0,51 mA -t mérek, ami nem hiszem, hogy igaz lévén a csövek szépen világítanak A gyári adat 2,5 mA.
Akkor majd ha kész lesz az óra (már csak a csövek beültetése van hátra), majd szemre beállítom a legjobb ellenállás értéket én is. Kezdem alacsonyabb anódfesszel és 10 komh-os ellenállással.
Kész lettem az órával. Köszönöm a fejlesztőknek ezt a nagyszerű órát. Az anódfeszültséget 180 V-ra állítottam, és maradtak a 10 komh-os ellenállások. Így nagyon jó lett a fényerő. Nincs derengés és egyebek. Sajnos az egyik IN-12 cső 3-as számjegye csak félig "világít", ehelyett szereznem kell egyet. Ha a dobozolás is kész lesz teszek fel képeket. Sajnos az már nálam lassabban megy.
|
Bejelentkezés
Hirdetés |




De ha nem létezik akkor sajnos kvarc oszcillátor és frekvenciaosztó kell
Minimum egy Tom025, de inkább egy Mule2 áramkört érdemelne.








