Fórum témák
» Több friss téma |
Fórum » Motorgyújtás
Használj stroboszkópot. Azonnal látod hol gyújt. Mással nincs esélyed beállítani. Elég egy egyszerű LED-es strobi is.
Sziasztok!
Lenne egy ducati 125-ös motorom aminek a gyujtás vezetékeit nem tudom hova kell kötni. Kijön 4 száll a blokból, egy piros egy fekete és két barna amiből az egyik barna jelölt. Amit mérni tudtam az az, hogy a fekete a blokkal össze mérve testen van tehát az amper mérő mutatja. Nos nekem itt megállt a tudomány, de a motor kiszerelés előtt működöt csak utána okos ember elvágta és a többi vezetéket kidobta. Az elektronika is megvan de lehúzva róla minden kábel. Eredeti ducati az is. Ha valaki ismeri vagy tudja, hogy kell bekötni segítsen, A hozzászólás módosítva: Feb 27, 2014
Sziasztok!
Elnézést mindenkitől aki foglalkozott az inner rotoros gyújtáskérdésemmel. Mondtam hogy három mágnes, három szünettel van a lendkeréken, ezért nem tudtam hova tegyem a jeladótekercset. Viszont abba a hatalmas hibába estem, hogy átsiklottam afelett, hogy a három mágnesből kettő egyforma, egy pedig fordított pólusú. Na ebből már egyértelmű, hogy az az egy vezérli az elektronikát. Az az egy butának tűnő kérdésem lenne még hozzátok, hogy olyan 70 fok hosszúságot fed le a mágnes. Na most ha én alapjáraton 28 fok előgyújtást szeretnék ( ennyi a gyári), akkor a jeladótekercset úgy tegyem hogy 28 foknál érjen oda a mágnes eleje? És akkor miért olyan hosszú a mágnes? Szeretném megérteni a működését legalább vázlatosan. A gyárin csak egy rövidke mágnes volt. Köszönöm a segítséget előre is.
Üdv! Az a kérdésem lenne hogy babetta tirisztornál lehet alkalmazni elko kondit. Azt olvastam hogy 8µF kell bele, és azt csak jó pár kondiból tudnám összerakni. Van nekem egy 47µF-es 385V-os kondim. Az jó lenne bele, vagy az már túl nagy.
Köszi!
47 k. sok de még szerintem a 8 is. Ehhez kevés a gerjesztő teljesítménye. Talán nem gyári gerjesztővel ok. Igazából a kondi a tirisztor miatt csak egyirányú terhelést kap, nem tud esetleg a trafóval rezgőkört alkotni, de talán nem véletlen hogy senkise rak bele elkót. Még a gyár se. Pedig szerintem olcsóbb lenne. Nem valószínű, hogy bírja a folyamatos töltés/teljes gyors kisütés igénybevételt. Na meg ott az esr, egy elkónak sokkal nagyobb a belső soros ellenállása, nem tud akkora csúcsáram folyni, plusz még melegszik is.
Értem. Jelenleg 2µF van benne és így nyomás alatt ( hengerben ) már nem ad le szikrát. A gyertya tuti jó mivel másik tirisztorral megy.
Bocsánat, a gyáriban tényleg 8 mikrós van. Én amit csináltam abban két mikrós de sokkal nagyobb feszültségre töltődik. A tekercsem nem gyári, a világítóra van rákötve egy 6V-230V os trafó. (ideiglenes) Mivel a kondenzátorban tárolt energia a feszültség négyzetével, arányos, sokkal jobb eredményt lehet elérni a fesz növelésével, mint a kondi nagyobbra cserélésével.
A hozzászólás módosítva: Márc 8, 2014
Ezt ajánlom
Nekem már öt éve tökéletesen üzemel. A feszültség kétszerezés kíméli a gerjesztő tekercset. Ezért ki merem jelenteni, hogy jobb mint a gyári kapcsolás, vagy bár mi amit eddig láttam. Az idő bebizonyította. A hozzászólás módosítva: Márc 8, 2014
Ezt a két kapcsolást használtam. A tirisztor1 nevű nem működött.
A C1-L1 csökkentése ajánlott .(jelenleg úgy emlékszem 560pF/1kV-2uH páros van) Mert az eredeti kapcsolásban alacsonyabb frekvencián üzemel (Kröber CDI) a gerjesztő tekercs mint a Babetta gyújtásnál.
Mondjuk a második kapcsolás az jól működött.
A hozzászólás módosítva: Márc 8, 2014
Nem, babettába, vagy is robi55-be. Az első az miért nem működhetett szerinted? Én ezt használtam régen de úgy hogy a Gate-jén nem volt a dióda, kondi meg az ellenállás.
A hozzászólás módosítva: Márc 8, 2014
Ha a szikrát gyengének találod, akkor valószínű hogy már a gerjesztő tekercsed félig meddig le van égve. Nem a kondenzátorokkal van a baj.
Idézet: „Az első az miért nem működhetett szerinted?” Mert nagyon gyenge impulzust tekercs, ezért a relatíve nagy gate árammal vezérelhető tirisztor típus (BT151-es) nem kap elég vezérlést főleg induláskor. A leéget gerjesztő tekercs, kihat erre is!!!!! (mert pont alatta van). A hozzászólás módosítva: Márc 8, 2014
A másodikkal tökéletesen üzemel. Nem hiszem hogy lel lenne égve hiszen olyan terhelést nem kapott, meg az előző tirisztorral szépen ment. Ezt most csak próbaképpen tettem rá. De szerinted akkor az első kapcsolás működő képes?
A hozzászólás módosítva: Márc 8, 2014
Ha a tirisztor nem százas akkor csinálhatja ezt.
Igen, de kicsit furcsán vannak kapcsolva az alkatrészek (nem a megszokott módon).
![]() De működhet így is.
Nem! Csak fóliakondi jó bele. 1 mikrós.
Jaja ez az. Én még a BT-re gyanakszom hogy nem százas. Ahogy mondtátok más baja nem is lehet.
Én az 1µF kondenzátort keveslem mert a gyári kapcsolásban tényleg 8µF van, méghozzá 160V-os!
Úgy emlékszem hogy ráadásul papír szigetelésű . A hozzászólás módosítva: Márc 8, 2014
Nekem régen 3µF-tal volt, de majd holnap kipróbálom nagyobb értékekkel is.
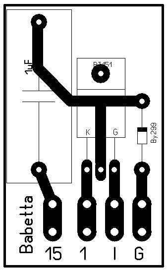
Itt egy kép róla.
Azzal se biztos hogy jó lesz.
Mert egy dolgot nem szabad figyelmen kívül hagyni ezeknél a tirisztoros kapcsolásoknál. Ha növelem a kondenzátor értékét csökken a feszültség rajta ami a tirisztor Anód -Katód feszültsége is. Ez által, hogy a tirisztor kisebb feszültséget kap, megnő a gate gyújtó feszültsége és árama is , avagy az a teljesítmény ami begyújtáshoz szükséges. A képen látható is :Ig0 =a tirisztor maximális A-K feszültsége (VB0), ahol magától begyújt mert a szabad elektronok száma nagyon megnő a kiürített rétegben. Az üzemi állapotnál meg látható, hogy Ig3>Ig2>Ig1 avagy egyre nagyobb gate áram szükséges egyre kisebb anód feszültségnél (lásd:Va+ egyenes). A hozzászólás módosítva: Márc 8, 2014
Szóval akkor meg kell találni azt az értéket ami még elég a trafó megfelelő szikraképzéséhez, és a tirisztor begyújtásához, hogy kellő szikra legyen. Ha jól értem, de nem biztos.
Tényleg ha az 1-es és a 15-ös lábat felcserélem a gyújtásvezérlő tirisztoron akkor meglehet hogy nem működik?
A hozzászólás módosítva: Márc 8, 2014
Jól, és ezt ugye a tirisztor típusa is válogatja.
![]() Ezért is érdemes az anód katód feszültséget duplázással növelni mert szinte "plusz teljesítmény" nélkül, növelhető a tirisztor érzékenysége. Sőt ezt az élelmes konstruktőr már kihasználva tuning-ként árulja is. Bővebben: Link Ebben egy dióda és egy 1µF/400V SMD kondenzátor található 25 euróért . Van üzleti érzék. Idézet: „Tényleg ha az 1-es és a 15-ös lábat felcserélem a gyújtásvezérlő tirisztoron akkor meglehet hogy nem működik?” Dani ne fárassz Működne.
Egy tirisztort mi tud tönktetenni mondjuk egy babettánál. Már a másodikat lövi ki, és nem tudom miért. BT151- et használok, a 800 V os változatot. Rámértem még a gate és katod lábaira, és szakadást mértem. Szóval ki sem nyit. Szerinted mi lehet a probléma?
Utána olvastam a BT adatlapján hogy a Gate feszültség max 5V lehet. Lehet amiatt ment tönkre hogy többet kapott?
![]() Na mind egy. Kicsit még változtattam a kapcsoláson, betettem egy Zéner a Gate-ra. |
Bejelentkezés
Hirdetés |








. 



Működne. 






