Fórum témák
» Több friss téma |
Üdv emberek!
Én azt nemtudom hogy árnyékolásnak csak réz fóliát lehet használni? Esetleg erősíbb alufólia nemlenne jó?
Szerintem azt a rézfóliát nyugodtan el lehet hagyni
Minden harmadikban találtam amit bontottam. De a folytótekercs kötelező.
Ha a gyáriakban jó a sárga akkor neked is jó kell legyen... A csévetest és a vasmag sem szereti az ennél nagyobb hőt,és a huzal sem.
Valamikor régen használtuk sima hálózati trafóban sorszigetelésnek...
Ezzel együtt nedvszivó.vastag,és az átütési szilárdsága is elmarad a mai műanyag alapanyagú szigetelésektől. Használj hosthaphan fóliát (ez szinte minden tekercselőműhelyben megtalálható),szerintem kis darabokat adnak el. De jó a triflexil is csak az vastagabb.
Üdv mindenkinek !
UA78HGASC tudja valaki honnan lehetne beszerezni vagy mivel lehetne helyetesíteni. Köszi
Hát ilyet már nem nagyon gyártanak, max elfekvő készletből kaphatsz valahonnan. Viszont nekem van valahol egy, előkeressem, érdekelne? Szívesen cserélek, ha kell.
Üdv!
Helló!
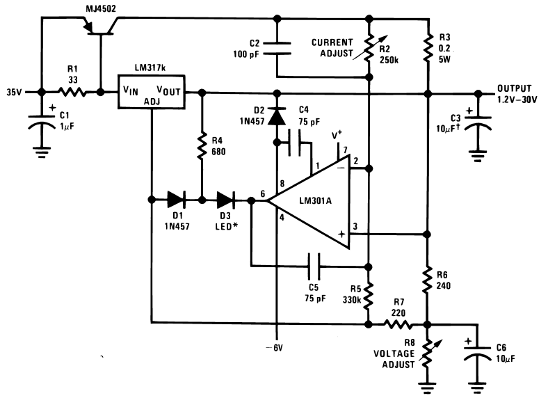
Ez egy pozitív feszes állítható kimenő fesszel rendelkező stabIC, mely 5Amper leadására képes. Ezt helyettesítheted egy LM317-tel, mely 1,5Ampert bír ki, de ha nagyobb kell, akkor egy teljesítmény tranyóval kiegészítve annyit fog bírni, amennyit a tranyó bír. Üdv!
Hello !
Hát igen tudom hogy régi és már régota keresem kb 5 éve de sehol nem találok. Ha meglenne és müködik érdekel . Köszi
Üdv!
Köszi a segitséget ez egy CB tápegység (Botond) régebben már probálkoztam LM 317 el csak kevés A mpert tud ezért elszállt.
Üdv!
Megvan. Hogy működik-e, nem tudom, sosem próbáltam. Az eredeti felirata már majdnem teljesen lekopott, viszont forrasztás nyoma nincs a lábán. Már többször kidobásra ítéltem a cuccot lévén semmire sem tudom használni, csak az mentette meg, hogy amolyan különleges állatfajta. (4 lábú TO3) Hogy mikor, miként, hova küldhetem, priviben, írj!
Helló!
Írtam, hogy akkor ki kell egészíteni az áramkört egy teljesítménytranyóval, és így többet fog bírni. Az első rajzon csak fesz beállításra van lehetőség, az áram nincs korlátozva, a másodikon már fesz és áramszabályzás is van, de ez jóval bonyolultabb. Céltól függ, hogy van-e szükség áramszabályozásra. Üdv! szerk.: esetleg megpróbálhatnád az LM350-t is, lehet hogy az is elég, az ha jól tudom 3A-t bír.
Hello !
Igen értettem amit írtál de ha minden igaz találtam hozzáalkatrészt Tom025 jóvoltábol Köszi a segitségetés a rajzott
Szét szedtem pár kistrafót. Adatok : Primer 300menet (2réteg 6sor soronként 50menet) vezérlés 10 szekunder 10 - 15 menet Vasmag légréses EE19
sziasztok!
ez a kérdés nem kapcsolódik -de talán ide illik: Kapcsoló üzemű táp , gyakran tönkre megy és a táplált cuccokat is leüti. Hogyan lehetne külső alkatelemekkel ezt megakadályozni?s mivel? Gyári : 100--240V ac ---48V dc 0,4A a föbb jellemzői. összeragasztott múanyag házban van , de garancia erre nem terjed ki. a hálózat :átlagos falusi utcai légvezetékes.
Azt hogy netegyen tönkre semmit azt Transiens Suppressor-ral. Ez olyan mint egy bika zener. Záróirányba kell bekötni. Ésa ha meghaladja a tápfesz annak a bizonyos típusnak a feszültségét akkor átmegy rövidzárba. Megakadályozza a túlfeszültséget a kimeneten.
Pl: 47V 0.6kW UNIDIR P6KE47A (FAI) DO-41 vagy 2 db sorba 27V 0.6kW UNIDIR P6KE27A (TSC) RoHS DO-41
Üdv kapcsitáppal foglakozók, és irántuk érdeklődők!
Napokban raktam össze legfrissebb kapcsitápomat. TL494 + IR2110 + 2db IRF730 félhídban. A táp újratekert számítógéptápból bontott EI33-as vassal működik, 70kHz-en. Egyenlőre teszt céljából nincs összeszerelve minden rajta, de a lényegében már működik. Egyenlőre csak az egyik kimenőágat kötöttem be, amiről 47V-ot veszek le, és ezt terheltem be 370W al. Terhelésre kicsit nőt a kimenőfesz 48,5V ra. A fetek csupaszon csak langyosak voltak.
Ez a beállitás nekem is bevált, csak nemszerette mikor hozzaértem a tl lábaihoz
. Most tervezek egy új vezérlést a pákámhoz, elméletileg abba is hasonló kapcsitáp lessz. A vezézrlés és a höszabályzó majd segédtápról üzemel és szabályozza a táp PWM-jét.
Az nemrosszdolog, hogy a 320V- ot szabájzod úgy hogy megfelelőt disszipáljon a páka. Legalább nem kell két kapcsolófokozat. Viszont akkor segédtáp mindenklpp kell.
Esetleg használsz valami alacsony fogyasztású vezérlőt. IR2155 ???
Szép a tápod :kalap:
Mindenképpen kell segédtáp, mert lessz benne digitális hőmérő és szabályzó. Előmelegítéssel és gyorsfütéssel. De ez most nem ide tartozik...
Szia. Azt szeretném kérdezni hogy Eagle-el tervezed a tápokat? Mert kéne nekem valami lib a ferrit trafókkal főleg EI33 érdelelne. Ha nincs akkor csak rászánom magam alkatrész létrehozására.
Üdv!
Van makróm csak SL 5.0-s Ha megfelel elküldhetem.
Érdekel. Kiindulásnak mindenképpen jó lessz.
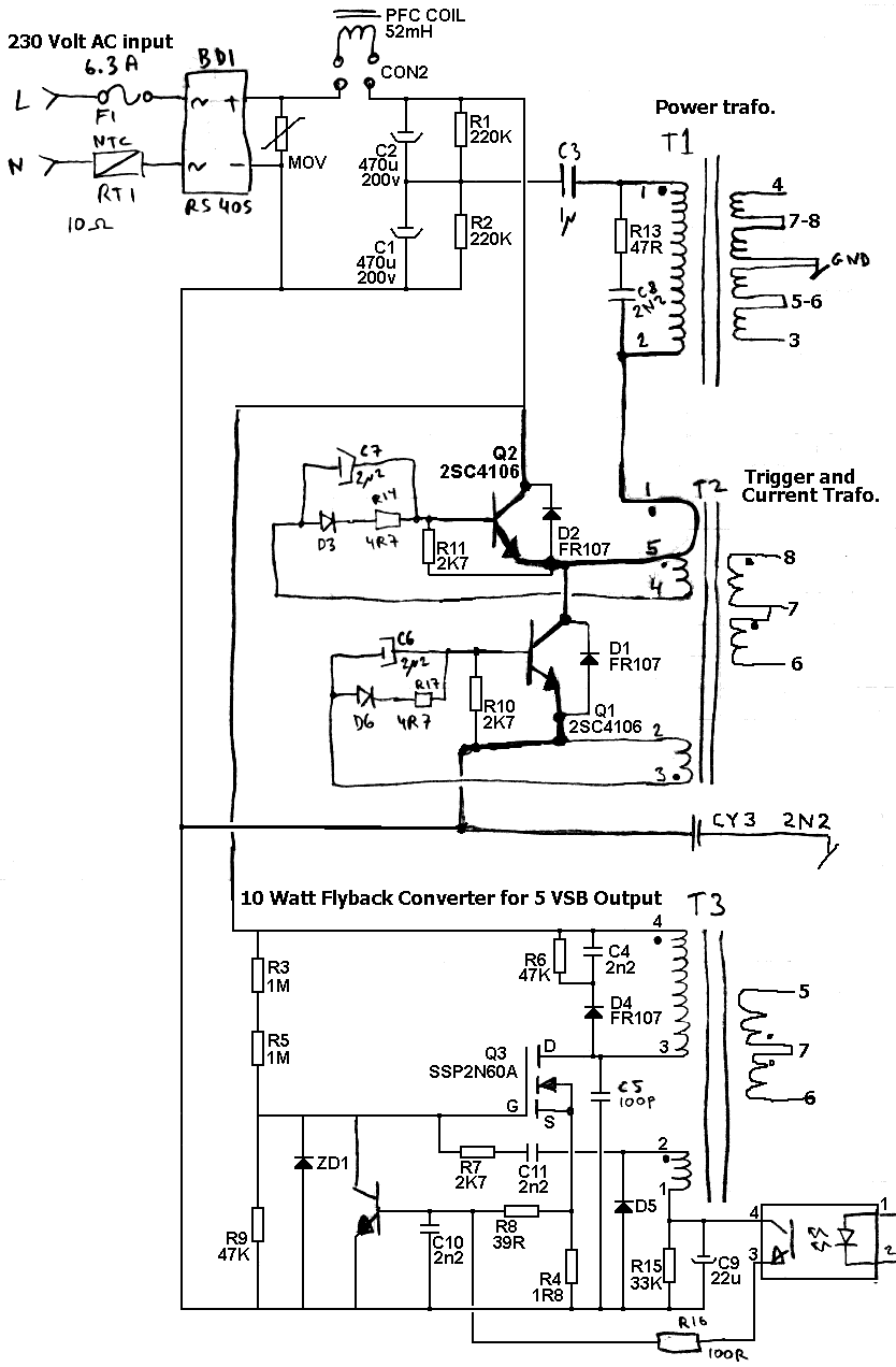
Noshát, ittvan a kért nyákterv a kért tápról , 1-2 apró dolgot módosítottam még rajta a kész áramörhöz képest. Az alkatrészek kommentezve vannak, akár a nyákterv alapján is utánépíthető. A tervbe EE42 van, de kilehet cserélni EE33-ra. Én az EE42 makrójával gyártottam le és a trafót úgy készítettem el hogy a huzalokkal kötöttem be, és nem a trafó lábaival.
Ha valami kérdésetek van csak nyugodtan.
Bocsi de hol a nyák terv?A link csak képekre mutat.Gratulálok a táphoz.
|
Bejelentkezés
Hirdetés |






Minden harmadikban találtam amit bontottam. De a folytótekercs kötelező.



. Most tervezek egy új vezérlést a pákámhoz, elméletileg abba is hasonló kapcsitáp lessz. A vezézrlés és a höszabályzó majd segédtápról üzemel és szabályozza a táp PWM-jét. 




