Fórum témák
» Több friss téma |
Fórum » Csöves erősítő készítése
Ne feledd betartani a fórum viselkedési szabályait, és a topik megmaradásának feltételeit. [link]
A téma átmenetileg fagyasztva lett, hozzászólni nem tudsz!
Hasonló okból kell adaptert csinálnom E283CC vs. ECC83 miatt...Gratulálok a munkádhoz.
Köszönöm. Gondoltam hogy nem én találtam fel a spanyolviaszt, sok itt az ezermester, és a tisztes iparos, csak ötletadónak szántam
Az én EL84PP-mhez ilyen trafót használtam fel. 270V tápfesz mellett 1KHz-en 10W, 35Hz-en 8W-ot tud. Ha emlékszel, beszéltünk is itt róla. PCL86PP-hez szerintem is jobb választás.
Kollégám 6P1P PP utánépítése. Pár évvel ezelőtt építettem egyet és most azt építette után. Capriola rádió PP kimenőkkel. Ez volt az első csövese.
A hozzászólás módosítva: Dec 10, 2016
"Janis disagne". Látszik a bábáskodásod, s a segítséged. Nagyon vagány lett!
Nem nyomja bárány; design(ed) talán.
Ez nagyon baba!
Lehet amúgy külön venni oktál bakelit "csővéget".
Nem tudok róla. De ha lenne is, valószínűleg többe kerülne mint egy olcsó orosz cső.
http://mobile.etronic-parts.com/Tube-sockets-retainer/octal-tube-so...4.html
Lehet ennyiért kapsz orosz csövet, de erről nem kell letermelni semmit.
Akkor ez egy beugratós kérdés volt. Na mindegy én nem találtam.
Most már találtál
A cső csak maradjon cső, készletek végesek.
Nagy dologra adtam a fejem, de nem biztos hogy elég leszek hozzá. Van valakinek valami bevált kimenőtrafó terve EL34-es? Egyszerű trióda módban szeretném járatni, így első próbálkozásnak az se volna baj ha nem tökéletes. Mekkora magok kellenének, ha körülbelül olyan 5 wattot szeretnék kicsikarni belőle?
Előre is köszi! A hozzászólás módosítva: Dec 11, 2016
5W nem fog kijönni triódában.
Sokkal jobban járnál, ha PP-ben használnál 2db EL34-et triódába kötve.
Valami ilyesmi trafó talán jó is lenne, csak át kell számolni az illesztést, és kicsit nagyobb mag is jót tenne a mély átvitelnek.
Szia! Reméltem, hogy egyszerűbb lesz egy SE trafót megtekerni, mint egy PP-t ezért gondoltam, hogy inkább azzal kezdenék. De amint látom egyiket se könnyű
Közben kicsit utánanéztem a fórumon és találtam is valamit ami hasznos lehet. Elvileg ezek az EL34 kimenőinek az adatai: Bővebben: Link EI84-es vasmag kell, hozzá, amelynek az adatai meg itt vannak: Bővebben: Link. Mondjuk rajz nélkül nem igazán tudok rájönni, hogy hogyan jönnek egymásra a rétegek.
Valaki segítene értelmezni?
N1 legalul, közvetlenül a csévén, az n7 a legtetején lesz, szépen sorban, a megjegyzésben leírt szigetelési módszerrel.
Persze a menetszámok az mindegyik rétegre vonatkozik, tehát a primer az 3x 760 menet, a szekunder pedig 4x 79. A tekercsek kezdetét és végét jelöld meg, mert a primereket sorba kell kötni, a szekundereket pedig párhuzamosan.
Arra figyelj, hogy a szekundereket jelöli 1-2-3-4-el. Ezek nyilván nem egymásra jönnek, tehát a sorrend n1, n5, n2, n6, n3, n7, n4 (vagyis egy szekunder, egy primer, váltakozva). Az ábrán van szó az 56. menet kivezetéséről. Ez a trafó a 79 menettel 8 Ohm -ra van számolva, az 56. menetkivezetés 4 Ohm . (Ez nem kötelező, de - ha kivezeted, akkor mindegyik szekunderen ki kell vezetni, és ezeket is összekötni. A szekunderek között ne legyen menetszám eltérés - érdemes a kivezetéseket is a tekercs bizonyos pontja közelében kihozni, hogy még tört menet eltérés se nagyon legyen.) Az anódköri tekercsek sorba kötése csak fázishelyességet követel meg.
Olvastam egy EL84 -höz készült PP trafót hogy a primer 2x1200menet, a szekunder 2x46 menet párhuzamosan, ebben az áttételben hány Ohm -os hangszóróra van illesztve a cső?
Nem egyszerűbb lenne azt kérdezni, hogy adott terhelésre milyen menetszám kell?
A hozzászólás módosítva: Dec 12, 2016
Akkor 4 Ohm ra kellene, EL84 PP erősítőhöz, mekkora primer és szekunder menetszám kell 8cm2 EI maghoz. Azt hiszem 8 kOhm-ra kell illeszteni a csöveket.
A szekundert 4 részre osztanám így 1, 4, 6, 8, 16 Ohm-ra is be tudom kötni. Ha a segédrácsot nem a pozitívra akarom kötni akkor hová rakjak a primer tekercsre leágazást?
Sziasztok!
Végre ma meg érkeztek az orosz csöveim is (6N6P, 6N3P) a CHZ féle 2x35W-os erősítőhöz. Már csak a panelba kell be ültessem az alkatrészeket, és jöhet a bemérés, és a meg hallgatás!, remélem nem fogok benne csalódni.
Kezdjük hátulról, visszafelé:
Idézet: „Ha a segédrácsot nem a pozitívra akarom kötni akkor hová rakjak a primer tekercsre leágazást?” A segédrácsot akkor is pozitívra kötöd, ha a kimenő primer leágazását használod fel erre a célra. A szakirodalmi adatok a 43%-ot tartják legjobbnak, de nem lesz különösebb következménye, ha a 4 felé osztott primer tekercs egyforma menetszámokkal készül, és így a megcsapolás értelemszerűen 50%-os lesz. Idézet: „A szekundert 4 részre osztanám így 1, 4, 6, 8, 16 Ohm-ra is be tudom kötni.” Az 1 Ohm -ot felejtsd el, a 4, és 16 Ohm -ot pedig el tudod érni a szekunderek átkötésével (párhozamosan, vagy vegyesen). A 6, és 8 Ohm -ok csak leágazásos kivitelben elképzelhetők, párhozamos szekundereknél 4 tekercs esetében ez 20 kivezetés. Ne bonyolítsd túl..... Idézet: „Akkor 4 Ohm ra kellene, EL84 PP erősítőhöz, mekkora primer és szekunder menetszám kell 8cm2 EI maghoz.” Egy kimenő trafó elég sok kompromisszum eredménye, hiába jön ki egy adott szükséges menetszám, ha az nem fér rá a csévére. Van jó pár trafó számítási kisokos, ahol a képletekbe be kell helyettesíteni az adatokat, és megmutatja, mi az, amit meg lehet csinálni egy adott vasra.
Igen sok a kompromisszum, csak azt nem értem hogy ha 8kOhm ra kell illeszteni akkor az áttétel a primer "+" azaz középleágazás és egyik anód vagy a két anód közötti menetszámmal kell számolni?
Ha az előző példámat említem akkor 2400 / 46 menettel számolok akkor a hatásfokot is figyelembe véve 4 Ohm-ot kapok, ha 1200 / 46 akkor 16 Ohm-ot. Melyik a helyes?
Sok leírásban úgy szerepel, hogy Ra-a. Szerintem ebből kitalálható, hogy anódtól anódig, vagyis a teljes primer tekercs.
mark.budai, Imi65 köszönöm szépen mindkettőtöknek! A téli vakációban lehet nekiugrom!
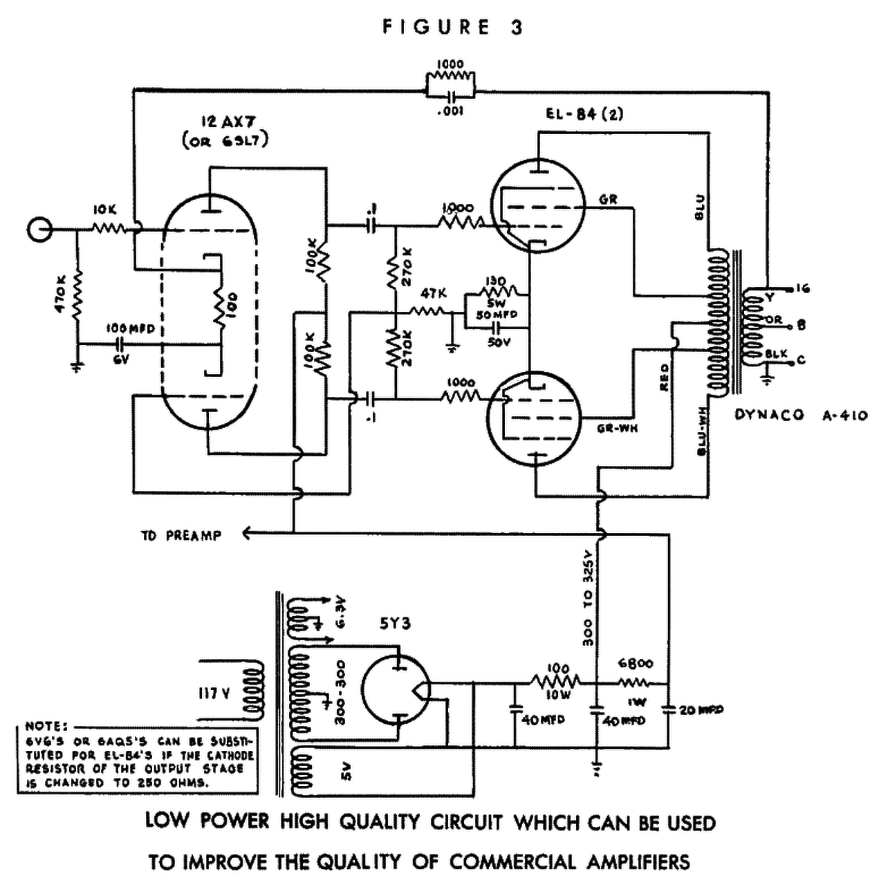
Sziasztok!
EL84 pp-t építettem, de nem igazán vagyok elégedett a hangjával. A mellékelt kapcsolást alkalmaztam. Van valakinek jobb ötlete a meghajtásra? Amivel jobb hangminőséget lehet elérni. Köszi! |
Bejelentkezés
Hirdetés |










