Fórum témák
» Több friss téma |
- Ez a felület kizárólag, az elektronikában kezdők kérdéseinek van fenntartva és nem elfelejtve, hogy hobbielektronika a fórumunk!
- Ami tehát azt jelenti, hogy a nagymama bevásárlását nem itt beszéljük meg, ill. ez nem üzenőfal! - Kerülendő az olyan kérdés, amit egy másik meglévő (több mint 17000 van), témában kellene kitárgyalni! - És végül büntetés terhe mellett kerülendő az MSN és egyéb szleng, a magyar helyesírás mellőzése, beleértve a mondateleji nagybetűket is!
Jut eszembe, hogy fogja-e bírni az LM317 az effekt-áramkör általi kapcsolgatást???
Szerintem most összekeveredtél kicsit.
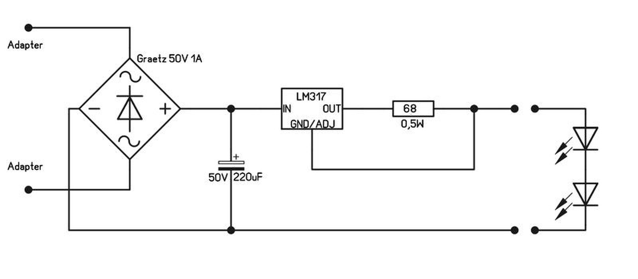
Nézzük csak: Ami Neked van, az egy 230VAC-ből 24VAC szolgáltató transzformátor. Az LM317 pedig egy pozitív feszültség stabilizátor. Ahhoz, hogy az áramgenerátoros funkciót megold, először egyenirányítani kell a 24VAC-t, egy graetz (egészhidas) egyenirányítóval. Ez után következik egy kis pufferkondi, majd az LM317-es áramkör, melyről korábban beszélgettünk. Kérdésedre a válasz: AC feszültség esetén nincs "plusz és mínusz" pont, mivel váltakozó feszültség. Az IC lábszámozását pedig megtalálod az adatlapon. Ma nincs túl sok időm ezzel foglalkozni, de megnézem mit tehetek.
Jó, közben már megtaláltam (Bővebben: Link), de milyen típusú diódával kell építeni? Valamint azt értem, hogy a "két oldalára" megy az AC, de honnan lesz plusz még mínusz? A "két végéből"?
Már megint gyorsabb voltam nálatok: Bővebben: Link. De a diódák típusa még mindig kérdés.
Gyakorlatilag dióda típust hálózati egyenirányításra általában a szükséges terhelhetőség (feszültség és áramerősség) ismeretében kell választani. Itt a sebesség nem számít, mert a ma gyártott diódák gyakorlatilag mindegyik fajtája és típusa használható 50Hz hálózati feszültség egyenirányítására. Szóval ha neked van egy olyan áramköröd, aminek kell mondjuk 1A, és az áramköröd mondjuk 24V on működik, akkor neked olyan diódát érdemes választanod, mi (ajánlásom szerint) az említett értékek legalább kétszeresét elviseli üzem szerűen. Szóval ha 48V 2A -es diódákat használsz, már nagy gond nem lehet. A feszültségnél a váltakozó feszültség csúcsértékével kell számolni, amit az U*√2 képlettel lehet kiszámolni.
("U" egyenirányítani kívánt váltófeszültség szorozva "√2" gyökalatt kettővel (1.4142)). Ha ismered a transzformátorod zárlati áramát, akár olyan diódát is választhatsz, hogy kis ideig még azt is elviselje, bár ez kölcséghatékonysági szempontból nem nagyon szokták alkalmazni. Az pedig, hogy hogy lesz az egyik oldal pozitív a másik meg negatív, azt is tudni kell, hogy a dióda mint alkatrész úgy működik, mint mondjuk a vízvezetékrendszerben a visszacsapó szelep. Tehát csak egy irányba engedi folyni az áramot (vizet). Ha azt is tudod, hogy a trafóból kijövő váltakozó áram két irányba folyik (oda/vissza) akkor átlátva a képen amit linkeltél, lekövethető, hogy hogy lesz az egyik oldal csak pozitív, a másik meg csak negatív.
Ezt az alkatrészt "egyben" is lehet kapni (tehát bent van a négy dióda), Neked csak be kell kötni. Mondjuk ez: Graetz diódahíd.
Ha megnézed a rajzot, a két középső lábra megy a váltakozó feszültség, a két széle pedig a + és a - kivezetés. A működési elvet szerintem egyenlőre hagyjuk, hogy hogyan is lesz "plusz és mínusz". De magad is meg tudod nézni, ha igazán érdekel. Rengeteg anyag van fenn a neten ilyen témában! A hozzászólás módosítva: Dec 27, 2016
Ez jó, viszont a kérdés az, hogy mekkora pufferkondenzátor kell ehhez, illetve az LM317 mellé mekkora ellenállás kellene?
Jössz egy sörrel.
A hozzászólás módosítva: Dec 27, 2016
Hát, a táp 851mA, de kérdés, hogy az effekt-áramkör után mennyi marad belőle...
Tökéletesnek látszik!
Nem az a kérdés, mennyi marad, hanem mennyit akarsz felhasználni belőle.
Ha tudod, hogy pl 250mA -al akarod táplálni a LED -et, akkor 250μF a minimálisan szükséges kondenzátor. Nagyobb lehet, kissebb nem ajánlott, mert akkor nő a kimeneti feszültség hullámzása. Ha van egy kis áramköröd aminek az igénye 1A, akkor annak 1000μF pufferkondenzátor kell minimálisan a tápfeszültség becsatlakozási pontjára kötve párhuzamosan. Kezdőként elég ennyit megjegyezni. A tápfeszültség becsatlakozási ponta nem az aktuális fogyasztó pl LED vagy motor, hanem az az áramköri rész előtti csatlakozás, ami a feszültséget vagy (jelen esetedben) az áramot szolgáltatja / stabilizálja. Tehát a stabilizátor bemenő pontja, ahogy morgo barátunk rajzolta... A hozzászólás módosítva: Dec 27, 2016
Sziasztok, szeretnék segítséget kérni fali kapcsolóval kapcsolatban, teljesen laikusként a témában.
Adott a képen látható fali kapcsoló, amit szeretnék leszerelni és a kábeleket úgy összecsatlakoztatni, mintha a kapcsoló állandóan felkapcsolt állásban lenne, tehát a mennyezeti izzó nonstop áram alatt legyen. 3 szürke színű kábel fut be, 1 felül, 2 alul. Mit kéne mihez csatlakoztatni? Azért szeretném ezt, mert távolról vezérelhető izzókat használok már, valamint mozgásérzékelő kapcsolja a villanyt a helyiségekben, így a hagyományos fali kapcsolók helyét gipszkartonnal és glettel elrejteném. valamiért a csatolt képet elforgatja 90 fokkal balra miután feltöltöm. A hozzászólás módosítva: Dec 27, 2016
Úgy látom a kapcsolód két áramkörös, tehát két fogyasztót tud kapcsolni külön külön.
Felteszem a felső vezetéken "jön" az áram a kapcsolóba, majd az alsó vezetékeken "megy" tovább a fogyasztókhoz. Ha mind a két fogyasztót folyamatosan el akarod látni feszültséggel, mind a három vezetéket össze kell kötnöd. De még mielőtt megtennéd, az ÖSZES automata biztosítót KAPCSOLD LE a villanyóra dobozban!!!!
Az még lemaradt, hogy valószínűleg nem fog menni 18-20 leddel, mert ha 3 V a nyitófeszültségük, akkor legalább 60 V kéne soros kapcsolásnál. Viszont ha csak 10 ledet kapcsolsz sorba akkor elé lesz a feszültség. Két tízes csoportot viszont kapcsolhatsz párhuzamosan, akkor menni fog.
Annyit tegyünk hozzá, hogy minden párhuzamos ághoz külön LM317 szabályozó és ellenállás kell...
Az az érdekes, hogy ez a kapcsoló egy lámpát kapcsol csak és egyetlen billenő kapcsoló van előtte, aminek a hátlapját megnézve látom, hogy úgy van kialakítva hogy egyszerre "kattintja" fel és le a két áramkört. Vajon miért van ez így, ha csak egy lámpa van a szobában?
Szigetelőszalaggal egyszerűen kössem össze mind a 3 kábelt? Természetesen lekapcsolom a biztosítókat és a főkapcsolót is mielőtt hozzálátok.
Igen. De a 68 Ohmos ellenállással kb. 20 mA fog csordogálni, tehát maximum nem lesz egyforma a fényerő a két csoportban, de gondot nem tud okozni ha csak egy 317-es van. Viszont az lenne igazán korrekt, ha kető lenne.
Sziasztok!
Az autómban a DRL jelenleg 6db ledből áll. Olyan a foglalat, hogy egyszerű ledek is belerakhatók ez leegyszerűsíti a cserét, mert nem kell specifikus ledeket vennem. A kérdésem az lenne, hogy tudnátok-e olyan ledet ajánlani, aminek különösen nagy fénye van? Most is nagy fényű van benne, de az erejét kevésnek tartom. Akár smd is jó ha van rajta 2 láb, mert utólag nem tudom ráforrasztani. Köszönöm a segítséget! Üdv! A hozzászólás módosítva: Dec 27, 2016
Gondolom azért van egy lámpa, mert nem rakott fel a szerelő (vagy aki készítette) két különálló áramkörös lámpatestet, így a kétáramkörös kapcsolót se volt értelme felrakni, ehelyett tett egy áramköröst akkor. Ha van fázisceruzád, leellenőrizheted melyík pólus(ok)nak ad feszültséget a kapcsoló bekapcsolt állapotban, és ha csak az egyik vezetéknek, akkor elég azt összekötni a tápvezetékkel.
De ha te már láttad a kapcsoló hátulját is, azt se lett volna nehéz feltölteni ide plusz információt adva ezzel...
De tud gondot okozni ha csak egy szabályozókör van. Ha beállítunk 20mA -t a két párhuzamos ág közt nem azonos áram fog folyni egyrészt az alkatrészek szórása miatt sem, másrészt pedig azért sem mert ezt semmi nem szabályozza. A ledhőmérséklet változásával pedig változik az átfolyó áramerősség is, amit külön külön szabályozni szükséges. Akkor nem nagy gond van, ha az áramot az egy sorban lévő maximálisan szükséges áram felére választjuk, ekkor legrosszabb esetben is ha az egyik párhuzamos kör megszakad, akkor se fogja túllépni a sorra maximálisan megengedett áramot.
Probléma ebből akkor lesz, tegyük fel ha az egy sorra maximálisan 20mA megengedhető az áram, és a kimenetet 40mA -re állítjuk be egy szabályozóról táplálva a két párhuzamos kört, gondolván (nagyon rosszul) hogy majd a két párhuzamos körben az összáram feleződik (nem fog). Valameddig biztos üzemelni fog, de mint említettem az alkatrészszórás miatt, és a szabályozás hiánya miatt, plusz a melegedés miatt, a két körben az átfolyó áramerősség soha nem lesz azonos. Emiatt, az egyik körben több áram fog folyni, tegyük fel 25mA a másikban pedig csak 15mA. Előbb utóbb, az a kör amelyíkben nagyobb áram folyik idő előtti öregedése miatt tönkre fogy menni benne egy LED, így az áramkör megszakad, és az előzőleg 40mA -re beállított szabályozó egy körön fog átpasszírozni 40mA -t a 20mA -r helyett, ezáltal nagyon hamar túlmelegíti azt a kört is, és ott is ki fog égni egy LED. Ehelyett akkor már az is jobb megoldás, ha külön külön ellenállással korlátozzuk a párhuzamos körökben az áramot, és elhagyjuk az LM317 -et. Persze így adtunk a barnának egy pofont. Így gyakorlatilag csak korlátozzuk az áramot, nem pedig szabályozzuk. Az LM317 feladata pontosan a szabályozás ebben az elrendezésben... A hozzászólás módosítva: Dec 27, 2016
Ez a "kevés" fényerő nagyon képlékeny dolog.
Mivel még azt se tudjuk eredetileg milyen LED van benne, honnan találjuk ki, hogy annál melyík az erősebb? Személy szerint F5 Piranha LED -et elég fényesnek tartom a méretéhez képest. F5 Piranha LED... De lehet neked ez is kevés lesz. Az ilyen kis méretű LED -ektől nem nagyon várható el nagyobb fényerő, nincs megfelelő hűtése, szóval technikailag ennyit tudnak... A hozzászólás módosítva: Dec 27, 2016
Egy LM317 is elég lehet: Bővebben: Link
A lámpát hány helyről tudod kapcsolni? Mit értesz az alatt, hogy egy billenő kapcsoló van előtte? A csavarok számából lehet akár alternatív (váltó) kapcsoló is. A képen látható kapcsolónak hány billentyűje van?
Üdv!Autó illetve kismotorkerékpár akkumulátorának töltésére alkalmas áramkört szeretnék készíteni.A lényeg az lenne , hogy automatán szabályozza magát.Valaki tudna segíteni ebben?Esetleg ha lenne valakinek egy komplett kapcsolási rajza az is jól jönne.
Jah persze, ha külön szabályozóalkatrészeket teszünk minden párhuzamos körbe a 4-es ábra szerint.
Úgy persze, hogy jó... A hozzászólás módosítva: Dec 27, 2016
Igen az is elképzelhető hogy alternatív, de szobában nem gondoltam, hogy van olyan, bár lehetséges. Azért is említettem, a hátuljáról készült képet is feltölthette volna a kapcsolónak...
Nem kell aggódni, maximum ~9 LED lesz rajta soros kötéssel.
|
Bejelentkezés
Hirdetés |












