Fórum témák
» Több friss téma |
Fórum » Csöves erősítő készítése
Ne feledd betartani a fórum viselkedési szabályait, és a topik megmaradásának feltételeit. [link]
A téma átmenetileg fagyasztva lett, hozzászólni nem tudsz!
A börze 2-3-4 hetente van a Puskás Tivadar Távközlési Technikumban (06-1-280-25-00) reggel 7 és 11 között.
Szerdán ha minden igaz pont délután dolgozom 15-21-ig, de holnap délután tudunk pontosítani.
Majd megbeszélünk egy napot ami mindkettőnknek jó.
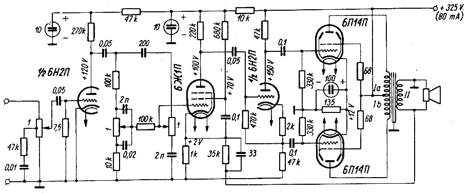
én ellenuttemu erositot épitek 6P14 vég pentodákal
sztereoba persze 4 kell,de meg is hálája 2*15watot ad le
Az biztos jó lesz. Én is fogok majd pp-t építeni pcl86 vagy el84/6p14p csövekkel. Csak a kimenő lesz nekem nehézkes hozzá. Megosztod velünk a kapcsolási rajzot?
Erre van egy halom rajz. Pl.
Sziasztok, kb 2 hete vagyok fent a topicon és nagyon megtetszett a "csináljunk valami életképes csöves végfokot nulla ráfordítással" vonal. Nekem van egy Philips 648A rádióm aminek az összes (vágfok gyártáshoz) létfontosságú szerve (trafók, csövek, foglalatok, hagszóró) használható állapotban van. Van hozzá rajzom is. Alapvetően a lelke EBL21. Szerintetek érdemes vele foglalkozni? Egy mezei CD ki tudja kellően vezérelni az EBL21-et vagy kell elé még valami. Esetleg ha kell tudom előfoknak használni az ECH21-et mert ez van még a rádióban kettő is? Van valami frappáns ötlet a sztereo jel monósítására ezzel az ECH21-el?
Az EBL21-hez bármilyen EL84-es kapcsolás felhasználható, mert az EBL21 az őse az EL84-nek.
Az EBL-el szemezek én is Érdemes vele foglalkozni :yes:
Nekem az elektroncsö.hu féle kapcsolás jobban tetszik bár az el84-re készült de tehetek én bele más csövet is. Az ottani kimenő trafó nincs bonyolítva csak 3 tekercsbő áll két pimer egy szekunder. Neked mi a véleményed az egész cikkről?
Sztem jó cikk, mert kipróbáltam igaz EF86 helyett EF80-nal de simán működött.
Mr Brown: Javalom neked is hogy az elektroncső.hu féle EL84-es A-osztályút építsd meg, az kell neked Persze EBL-el, az eelőfokcső maradhat EF86 vagy 80, attól függ milyened van
Ne szedd szét szegényt. Most már én is köbzolival értek egyet. Szerintem ad helyette neked egy csomó alkatrészt amiből tudsz építkezni a rádióért cserébe.
Szintén egyetértek
Ha a rádió jó állapotba van nemszabad szétszedni Hajrá csövesek közeledünk a 300. oldalhoz csak így tovább
Én a pp-re gondoltam. El84 se már van. Én triódával (ecc85) hajtom a 84-et.
A PP-sem lehet rossz
Én azt néztem ki a 'kicsi-drága' EBl után üdv
Olyan szép nagy csőből kéne erősítőt csinálni mint amit küldtem py500! Hát nem mindennapi darab. De az nem jó semmire csak dísznek sajnos.
Azok tényleg szépek, egy EY88-nak nagyon örülnék
Közben rájöttem hogy azért kéne neked mert 6 voltos. Az a baj hamarabb felfűt mint a végcső. De adhatok neked 2-őt is. Nincs EZ80-ad?
De van, csak ha már óriáscsöves a cél, akkor óriáscsövek is legyenek benne...
Tényleg erre nem is gondoltam. Én nem alkalmazok csöves egyenirányítót amúgy. Jobban szertem a félvezetőset. A kondikat is jobban viseli. Látványnak meg ott vannak az erősítő csövei. A késlelteő meg egyszerű egy relé meg pár cucc. De hát kinek mi a jó.
Nekem is graetz van az elején utána kondi, ez80, kondi, 1K ellenállás, kondi
És kész
Anódsapkát hogy oldod meg? Ja ha kettőt küldök majd akkor azzal rendesen meg tudod oldani ha van hozzá 2x250v-os trafód. És akkor nem lesz benne szilicium
Köszi, de van egy csomó EZ80-am :yes:
Jó lesz az még nekem
Ha tudnál nélkülözni egyet lehet hogy egyszer kipróbálom a csöves egyenirányítást.
Jó lesz az még neked, azt akartam írni..
Nincs ez80-ad?
Nincs. Sajnos
Nekem az anódkivezetés miatt nem szimpi az ey88 pedig 220mA-es. |
Bejelentkezés
Hirdetés |





Nekem az anódkivezetés miatt nem szimpi az ey88 pedig 220mA-es.





