Fórum témák

» Több friss téma
Fórum » Kombikazán működési hiba
 
Témaindító: gpepe79, idő: Nov 29, 2009
Témakörök:
Lapozás: OK   478 / 617
(#) kissi válasza VIM hozzászólására (») Jan 13, 2021 /
 
Igen, értettem, de mitől, ha eddig, huszonéve, jó volt ?! Írtam, hogy tiszta, nem csúszott szét, madár nem fészkelt rá/bele, mellettem nem építkeztek, ezért az áramlási viszonyok valószínűleg nem változtak meg...ezeket megnéztem egyből, mert nekem is ez jutott eszembe. Miért lett jó a karácsony előtti takarítás után tegnapig (bár nem zárhatom ki a kéményt se teljesen, mert műszeresen nem tudtam megvizsgálni!) ?!
Ha az égéstermék visszajönne, akkor abban nem lenne CO, amit a bent lévő érzékelőnek jeleznie kellene (párszor 10 ppm-től már jelez!)?
Miután tegnap megint megmozgattam, azóta jó! Nem lehet, hogy mégis az érzékelő inkább ?

Köszi a segítséget!
(#) bbalazs_ válasza kissi hozzászólására (») Jan 13, 2021 / 2
 
De. Az érzékelő kontakthibás lehet belül, ahol a hőre deformálódó kis lemez van, az időnként nem érintkezik. Nálam is volt ilyen hiba már.
(#) VIM válasza kissi hozzászólására (») Jan 14, 2021 / 2
 
A kontakthibát általában az is okozhatja ha a saruk szegecselése mozog, elfordul a bakelit foglalaton de a belső ikerfém lapja is lehet érintkező hibás. Rá van írva az értéke, hogy hány celsius fokon kapcsol ki. Itt lehet kapni de ez 95 fokos. A nálad készült képet nézve elég feszes a bekötése ennek a klixonnak és nem is ér hozzá a felülethez amin a kontrollt tartja.
(#) tandras246 hozzászólása Jan 14, 2021 /
 
Sziasztok

Saunier duval thema c 23 az alany.
A probléma az vele hogy a fűtés bekapcsol de a láng kB 1 perc után ki vagy be se de a keringető szivattyú pedig megy.
Vagyis fűtene de a láng nem megy. Ha véletlenül elindul akkor meg a láng teljesítménye fel le szabályoz de semmi oka nincs rá.
Valaki találkozot már ilyen hibával?

Válaszokat köszönöm.
(#) kissi válasza VIM hozzászólására (») Jan 14, 2021 /
 
VIM és bbalazs:

Köszi, de nem kontakthibára gyanakszom, mert a "kis pöcök" kiugrik, tehát valamiért túlmelegszik ( vagy úgy érzi!)!

VIM: a feszes bekötés igaz, nekem is feltűnt, nem ér hozzá a felülethez, de a felfogató konzol alapján én úgy éreztem, ill. láttam ( nem túl jó a betekintési szög !), hogy az érzékelőt beledugtam (tövig) a műanyag kengyelbe, de még akkor se ér hozzá a fémhez. Még néztem is, hogy ennek csak a közelében kell lenni , de semmi leszorító bilincs sincs !

Az az érdekes, hogy hetekig jó, aztán meg jelentkezik a hiba...
Az érzékelő belseje szerintem sima "mechanika" valami bimetállal vagy más hőtágulással, ami a nagy hőingadozások miatt ( nyúlás-zsugorodás ) megváltoztathatja a paraméterét. Ennek gyárilag valahány fokon kellene kikapcsolnia, legyen 120 C, a gyártási tűrés miatt szerintem valahol 115-125C között mozog például, de a kopás/fáradás miatt ez lejjebb "csúszott" a teóriám szerint ( mivel a füstelvezetésnél nem látok gondot)!
Még azt nem tudtam megfigyelni, hogy ez üzem közben jön létre ( mikor megy a kazán!) vagy már kikapcsolás után melegszik túl esetleg ( és akkor valószínűleg nem a füstgáz okozza !?)


bbalazs:
Idézet:
„Az érzékelő kontakthibás lehet belül, ahol a hőre deformálódó kis lemez van, az időnként nem érintkezik. Nálam is volt ilyen hiba már.”

Neked is kiugrott a "pöcök" olyankor ? Ugyanilyen kazán?

Köszönöm az eddigieket, más ötlet ?!
A hozzászólás módosítva: Jan 14, 2021
(#) Hutty válasza kissi hozzászólására (») Jan 14, 2021 /
 
Jól látom, hogy ez a gázkészülék a lakás levegőjét használja?
Lehet a kémény tiszta, de nem kap honnan elég levegőt, és így a huzat is gyenge?
Egy nagyon jól sikerült nyílászárócsere tudott ilyen hibát okozni.

Füstgáztermosztátod meg vagy teszteled, vagy cseréled.
(#) kissi válasza Hutty hozzászólására (») Jan 14, 2021 /
 
Szia!

Köszi a hozzászólást!

Igen, a lakás levegőjét használja, de a nyílászárók eredetiek, nem változott semmi a lakásban, csak a kor !

Terveim szerint az érzékelőt megpróbálom holnap beszerezni, ha sikerül itt kapnom...
(#) JZoli válasza kissi hozzászólására (») Jan 15, 2021 /
 
Nem lehet, hogy esetleg szeles időben jön elő ez a hiba? Vagy esetleg, ha hidegebb van a "szokásosnál"? Arra gondolok, hogy esetleg nem függ össze ez a hiba az időjárással? Már több helyen is tapasztaltam ilyesmit.
Ez csak egy ötlet volna, mert elég nehéz megtalálni az ilyen jellegű hibák megoldását.
(#) kissi válasza JZoli hozzászólására (») Jan 15, 2021 /
 
Lehetni lehet, de az elmúlt 20 évben nem volt, tehát valami valószínűleg csak megváltozott (persze az időjárás is...!)!Nem tudtam eddig egyértelműen valami külső dologhoz kötni.

Köszi!
(#) Georgee hozzászólása Jan 15, 2021 /
 
Sziasztok! Adott egy Vaillant Turbotec kazán. Beindítás után a kémény felöli oldalon (fent) fémes csörgős (zörgő) hangja van. Olyan mintha a csapágyba nem lenne zsír. Valaki bontotta már ki a turbót? Mennyire időigényes munka a csapágycsere? Mert ha több órás munka a kiszerelés beszerelés, akkor inkább halasztom tavaszra. Illetve valami a fent említett kazánról tud nekem robbantott ábrát küldeni?
(#) VIM válasza kissi hozzászólására (») Jan 15, 2021 /
 
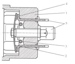
Amit linkeltem klixont az ehhez a kazántípushoz való és csak ehhez a kémény termosztáthoz van ez a visszaállító gomb hozzárendelve (már első alkalommal is tudhattam volna). Azon 95 fok van feltüntetve. Ha azon a részen ahová ez a klixon fel van fogatva és olyan meleg tud ott kialakulni akkor az probléma. Ennek látható nyomai is lennének, vagy éppen tapintható is volna ha éppen akkor old ki. Ha megnézed, hogy milyen érték van ráírva és az egyezik a linkelt értékkel azt le tudod ellenőrizni, hogy forrás előtt lévő vízbe mártva kapcsol e vagy már jóval előtte kiold, mert akkor csere. Ezen az ábrán látható a felépítése, éppen nyugalmi helyzetben van, domború az ikerfém korong zárja a kontaktust. Ha felmelegszik a korong akkor a homorú oldalán lévő nagyobb hőtágulási tényezőjű fém homorúvá "pattintja" a korongot az pedig megszakítja az áramkört. Visszaállítani csak úgy lehet ha nyomást gyakorolnak az éppen felvett állapot domború oldalára ami visszaállítja az alaphelyzetébe, záródnak a kontaktusok.
A kéményt sem lehet figyelmen kívül hagyni, hogy annak lehet valami hiányossága pl. nem jól hőszigetelt és egy erősebb lehűlés megakadályozza a kéményhatás kialakulását amitől a füstgáz nem tud megfelelően távozni. A szél is hátráltathatja ezt.
(#) Dani21 hozzászólása Jan 15, 2021 /
 
Üdv!
Adott egy Saunier Duval RenovaStar gázkazán. Az üzembe helyezése 2006-ban volt, karbantartáson az elmúlt néhány évet leszámítva nem esett át, akkor sem szakember által. Komolyabb cserére eddig nem szorult (összesen egy feltöltő szelep és egy kontrolpanel volt ami cserélve volt benne eddig), de nincs valami "jó bőrben", kb. a beüzemeléstől számított idő felét ment hibátlanul. Na most, a kérdésem az lenne, hogy amikor melegíti a vizet puffogó, tompa kattogó hangokat ad ki, majd amikor forróra melegedett a víz benne (HMV esetén csak), akkor befejezi a fenti hangok hallatását. Ez csak abban az esetben van így, ha szobahőmérsékletről, tehát kikapcsolt állapot után melegíti a vizet, ha fűtésről vált át HMV-re akkor nem. (Feltételezem, hogy azért, mert a fűtés magasabb hőfokon megy mint a használati) Mi lehet a gond? Savaztatni kéne a hőcserélőt? Vagy a keringető szivattyúnak lehet ilyen hangja?
Illetve a másik, ettől független, hogy több szerelő mondta már, hogy valószínűleg tágulási tartályt kéne benne cserélni. A jelenség a következő: 1.5 és 2 bar közé szeretném feltölteni a rendszert, eléri a kívánt szintet, majd amikor bekapcsol a fűtés és melegíti a vizet, a biztonsági szelepen keresztül elkezdi kicsöpögni a rátöltött nyomást, amíg 0 és 1 bar közötti értékre nem áll be. Ekkor még minden működik. Az ezzel kapcsolatos kérdésem pedig az lenne, hogy én a biztonsági szelepre tippelek, az lehet ami elöregedett/eldugult és idő előtt elengedi a nyomást, vagy a tágulási tartály nem tudja biztosítani a helyet a víznek, esetleg mindkettő, "összejátszva"?
A tágulási tartályra nem mértek még rá és nem töltötték még után pumpával.
Köszönöm a válaszokat!
(#) kissi válasza VIM hozzászólására (») Jan 15, 2021 /
 
Köszi, hogy foglalkozol az ügyemmel !

Az enyémbe elvileg ez való ( a Te linkeden valami Renova-hoz való van!): Bővebben: Link, de itt ügyesen eltakarják a feliratot ! Kiszedtem és lefényképeztem, szerintem ez 72C-os ( remélem nem a T175 jelenti a hőfokot!?)!
A múltkori hiba óta nem jelentkezett, ma elmentem, de tévesen 175-öst kerestem és az nem volt ! Azután néztem szét a neten és láttam, hogy kisebb hőfokok vannak ott, így most már a 72C-ost valószínűsítem ! Nem értem egyébként, hogy a füstgáz miért ilyen kis hőmérsékletű max., valamikor olvastam kazánokról és ott 150 -200 C közötti füstgázra történő szabályozásra emlékszem ( faelgázosító kazánok!), ezért reálisnak éreztem a 175C-t !
A kémény soha nem volt külön szigetelve, a téglakéménybe rakták anno a spiro?csövet és a kémény belülről ki volt kenve habarccsal, de semmi szigetelés, így megy huszonéve. Persze lehet, hogy lehűlt és kisebb volt a huzat, de eddig ilyen nem volt !

Ma, mivel úgy is leállítottam a szenzor kivételével, ezért kompresszorral kifújtam, az égéstérből jött kis hamu, de igazából más, sok és durva szennyeződés nem volt, pedig 6-8 bárral adtam neki!

Csatolom az érzékelő fényképét ( egy kis üllőnek támasztottam a fénykép kedvéért ! ).
(#) Kera_Will hozzászólása Jan 16, 2021 /
 
Ciao green25csi beretta kazán tulnyomas vedo (3baros ha jol remlik) szelep csonk helye erdekelne.
Inkabb vizes mint villanyos tema bocs az offert.

Valahol aljan van ez a csonk.
Nem latszik ... lehet belul van es egyik lyukon keresztul erheto el.
Szeretnek egy elvezeto csovet arra a csonkra szerelni(tetni).
Ennek a megvalositásának a lehetosege erdekelne.
Lenyeg , hogy ne maga ala folyassa a vizet csupaszon.
Hanem bevezetve pl a kadba egy slagon keresztul iranyitottan.
(#) VIM válasza kissi hozzászólására (») Jan 16, 2021 /
 
A 36TEX06 az 180 fokos volna, mert a 01 végződésű az 85 fokos. A T175 az a kioldási érték lehet. Szerinted lehet ott azon a helyen ilyen hőmérséklet ahová ez az érzékelő fel van fogatva? Némelyik forrasztóón már ezen a hőmérsékleten megolvad. Lehet, hogy hibás?Bővebben: Link
(#) VIM válasza Kera_Will hozzászólására (») Jan 16, 2021 /
 
Szia! Annak sosem volna szabad folynia. Az arra az esetre van ami most nem teljesül, nevezetesen nincs hová táguljon a fűtési rendszer vize, ezért kinyit és leereszti a felesleges mennyiséget. Ezt már annyiszor megbeszéltük.
(#) Kera_Will válasza VIM hozzászólására (») Jan 16, 2021 /
 
Persze nem kell hogy csorogjon belole . Nem is folyik szaraz most.
Csak amikor beindulna akkor ne csak ugyoda maga ala a foldre padlora mindent elarasztva folyon le .
Hanem iranyitottan pl a kadba iranyitva.
(#) VIM válasza Kera_Will hozzászólására (») Jan 16, 2021 /
 
Lehet, hogy nem is nyomás problémád van hanem a kondenzvíz szifonja nincs bekötve a lefolyó rendszerbe? Ha tágulási tartály probléma van akkor ezt a részt olvasd el ha pedig kondenzvíz akkor pedig ezt a videót nézd meg 2:35-nél látható szifon a jobb oldalon kék kupakokkal.
(#) Macsek01 hozzászólása Jan 17, 2021 /
 
Helló, sziasztok.
A Vaillant VSC 196-c 150-es kazánom 3-utú váltószelepe rendetlenkedik.
3-4 naponta a meleg víz készítése után nem kapcsol át fűtésre,hanem tovább villog a "csap" ami kéri a használati meleg víz készítést,holott a tároló hőfoka már elérte a kívánt 50 fokot. Így előfordul,hogy a kijelző már 96 fokot mutat.Ilyenkor mindig kattogó hangot hallani. 4 napja szét lett szerelve a váltószelep,ami nehezen működött,de bejáratás után újra jó lett.
Négy nap után újra nem működik rendesen.A kazán áramtalanítása és újraindítása ,a hőfok beállító és a fűtés vízhőfok gombjának tekergetése után végre elindul a fűtés,a "Csap" kijelző nem villog tovább.
Mi lehet a baj? Miért csak pár naponként fordul elő?
Előre is köszönöm a segítséget.
(#) kissi válasza VIM hozzászólására (») Jan 17, 2021 /
 
Idézet:
„A 36TEX06 az 180 fokos volna, mert a 01 végződésű az 85 fokos”
Láttál erre valami táblázatot? Akkor ez a jelölés határozná meg a hőfokot ?!
Idézet:
„Szerinted lehet ott azon a helyen ilyen hőmérséklet ahová ez az érzékelő fel van fogatva?”

Nem tudom, de a "füst" megy azon a részen ki, szerintem az lehetne akár ennyi is...
Itt szerintem nem forrasztottak, hanem préseltek.

A készülék azóta is megy... !
(#) horpacsi hozzászólása Jan 17, 2021 /
 
Sziasztok!

Még új vagyok a fórumon egy nagyon égető hibával és tanácsot szeretnék kérni, illetve véleményeket. Hozzáteszem, nem értek hozzá, és feltételezem, hogy ezen kombi cirkóknak külön körön megy a fűtési és a HMV köre, azoknak semmi közük egymáshoz.

2019-ben költöztünk egy házba, ahol egy Ariston BS 24 ff fali cirkó gondoskodik a fűtés és HMV ellátásról. a kazán az előző tulaj elgondolása alapján a konyhaszekrény egyik ajtaja mögé került beépítésre.

1. Egyszercsak elkezdte a kazán kidobálni néha-néha azt a hibát, hogy víznyomás-elégtelenség, miközben a nyomásmérő szerint volt benne 1,1 bar nyomás. Reseteltem a kazánt, eldobta a hibát és elindította a kérésemnek megfelelően a fűtést/HMV-t. Bíztam benne, hogy bármi hiba is van, az tavaszig kibírja.

2. Ezután tapasztaltam olyat is, hogy a HMV-nél egyszer melegebb, egyszer hidegebb volt a víz, de itt sem gondoltam valami nagy problémára.(a hőfok-beállításon nem változtattunk)

3. Külön érdekesség, amit csak az utóbi időben észleltem...a msógépünk hidegvíz-betápon van, de mikor elkezdi magába szivattyúzni a vizet, felbúg a kazán(nem gyújt be).

4. Tegnap történt, hogy már este 10kor (mikor már a fali termosztáttal lekapcsoltuk a fűtést) szerettem volna fürdeni, de nem volt melegvíz. Megnéztem a kazánt, ugyanaz a nyomáselégtelenség hiba (használati kézikönyv alapján). RESETeltem a kazánt. Kinyitottam a töltőcsapot éppen csak sziszegésig, a nyomás ment felfelé, így megnyugodtam hogy a mérő működik. Elzártam a csapot 1,2 bar-nál és mentem fürdeni. Megnyitottam a melegvízcsapot, hallottam, ahogy a kazán beindul. 1 pillanatra volt melegvíz, aztán egy durranás-szerű hang jött a kazán felől, és melegvíz sem jött több.

Kiszaladtam a kazánhoz, abból a fűtési köri biztonsági szelepén folyt ki a víz, a nyomásmérő mutatta, ahogy a nyomás 0-ra esik vissza. Beszéltem egy szerelővel telefonon, aki azt mondta, hogy vélhetően nem jól mért a nyomásmérő, nem mutatta a túlnyomást, aztán pedig "kiakadt" a biztonsági szelep és ezért ment el az összes víz.

Ma ugyanaz a szerelő kijött és azt mondta egy kis nézelődés után, hogy a keringtető szivattyút cserélni kell mert leromlott a teljesítménye, és ezért a lassú áramlás miatt a kazánkörben megemelkedett a nyomás. Valahogy feltöltötte a fűtési kört és elindította a kazánt fűtési módban de mondta, hogy HMV módban a szivattyúcseréig ne használjuk, mert bármikor leállhat a kazán és nagyobb baja is lehet. (Így, hogy ma a kazán ki volt bontva, működés közben lehetett egy kattogást hallani időközönként, de nem tudtam megállapítani, mi az.)

Feltéve, hogy jól sejtem és a HMV, illetve a fűtési körnek nincs köze egymáshoz, tegnap a melegvíz megnyitásakor miért robbantotta ki magából a kazán a fűtési kör vizét? Esetleg a vezérlésben lehet a hiba? Szerintetek van realitása annak amit a szerelő mondott? -> keringtető-szivattyú csere
A hozzászólás módosítva: Jan 17, 2021
(#) Profisixx válasza VIM hozzászólására (») Jan 18, 2021 /
 
Jó reggelt ! bizonyára emlékszel, korábban már írtam és válaszoltál is egy Radiant cirkóval kapcsolatban. Sikerült szereznem egy fekete kis "kockát" amely a gáz szabályozásra lenne hivatott, de ez sajna nem működik, a beszerzett kocka is 38-40 Ohm körüli értéket mutat és ez egy működő cirkóból lett kiszerelve. Az lenne a tiszteletteljes kérésem ,kérdésem, hogy a gáz szelepet szét lehet-e szedni, mivel gyanítom,hogy egy kis dugattyú zárja le a gázt ha már a víz elért egy beállított hőmérsékletet, talán lehetne tisztítani ezt a szelepet ?Ha igen,akkor hogyan fogjak neki ? Mit gondolsz erről? Tiszteletem.
(#) VIM válasza Profisixx hozzászólására (») Jan 18, 2021 /
 
Jó reggelt! Nem tudom, hogy hol tartasz vagy mi a probléma még mindig. A gázszelep az belülről patyolat tiszta "szokott" lenni és a szervó tekercs hibásodik meg ha meghibásodik. A mágnesszelepet az elektronika által az NTC-k és a vízáramlás kapcsolótól kapott értékek figyelembevétele után vezérli azt. Ha teljes terheléssel indul a főégő akkor valószínű, hogy a vízáramlás kapcsoló fel van akadva ami a reed relét kapcsolja még akkor is ha nincs HMV vételezés. Ha ezt a reed relét leveszed a helyéről, így távol kerül az őt működtető mágnestől, ezért nyitott marad a kontaktusa és nem tud "beleszólni" a HMV induláskor maximális főégő működtetésbe. Ha szeretnéd, hogy más is segítsen, készíts felvételt a kazán ezen részeiről, hogy látni lehessen a gépészeti elemeket. A gázszelephez kár volt hozzányúlni.
(#) VIM válasza horpacsi hozzászólására (») Jan 18, 2021 /
 
Szia! A nyomás mizériáról már sokat beszéltünk. Ha ezt az elolvasod, választ kapsz ez irányú kérdéseidre. A feltöltő csap is lehet hibás az esetleges szivárgásért (nem zár rendesen) de ez elég rövid idő alatt kiderülne, hogy az tölti túl a rendszert. A szerelővel beszéld meg a problémát de ne oktasd ki, Te pedig tájékozódj megfelelően ezen a téren.
(#) antiktelefon válasza VIM hozzászólására (») Jan 18, 2021 /
 
Amennyi pénzt és időt elszórt, és amennyi veszélyes dolgot fölöslegesen megpiszkált, abból már szerelőt is hívhatott volna...
Nem is értem, megmérette valakivel a tekercset, stimmelt az ohmos ellenállása, ezután vett egy másikat? Vagy hiányzik a történet fele, vagy a történet nem logikus.
(#) Aperol hozzászólása Jan 18, 2021 /
 
Sziasztok!
Renova Star C 24 E kazánunkban fürdés közben rejtélyes mintázat szerint le-fölkapcsol a láng. Elkezdem engedni a melegvizet, a láng rendben belobban, jön a melegvíz rendesen 5-7 percig. Egyszer csak a láng lekapcsol, 30-60 mp-ig hideg víz jön. Majd újra belobban a láng, folytatja a melegítést megint kb. 2-3 percig, ekkor újra lekapcsol a láng. És ez ismétlődik a tusolás alatt végig. Amikor a probléma először jelentkezett, a készüléken beállított vízmelegítési fokozat 2-es volt (1-2-3-max közül), próbaképp föltekertem 3-asra, de ott is leáll. Amikor rendben melegít, a vízhőfok 50 C, amikor kikapcsol, általában 55 C-t jelez már (de kapcsolt már ki 50 C mellett is). A láng nélküli várakozás alatt 55-ről visszaesik 50-re, aztán bekapcsol a láng. A várakozás végén néha úgy kapcsol vissza, hogy előtte felvillan a piros hibajelző led is kétszer, aztán bekapcsol a láng. Tudnátok segíteni, mi lehet ez?
(#) Profisixx válasza VIM hozzászólására (») Jan 18, 2021 /
 
Szia VIM! Az áramláskapcsoló ezidáig nem került szóba, nem emlékszem,hogy erről írtál volna nekem, de semmi gond, ellenőriztem, és állandó rövidzárt mérek az áramláskapcsolónál, ami tulajdonképp egy reed relé,ha jól gondolom. Ez talán nem teljesen jó így,ugye? Az állandó mágnes abban a kis fekete csőben mozog és ott van beragadva? …. A motorindítót kicseréltem, 2µF értékűre, eredetileg ilyen volt benne, sikerült kiderítenem, de ettől semmi sem változott, a gázszelepet nem szedtem szét. Néhány fotót felraktam a cirkó belsejéről,remélem ezek segíthetnek ä pontosabb hiba megállapításban.Tiszteletem
(#) antiktelefon válasza Profisixx hozzászólására (») Jan 18, 2021 /
 
Gerinctelen alak van, privátban fél oldalon át beolvasol nekem, aztán letiltasz. Miért nem ide írod ki, ha már úgyis floodolsz.
Megeshet, hogy ilyen részt is küldtél, de nem tőled idézem, mert privátot nem lehet közzétenni:
Mindezeken túl bizony szeretem a veszélyes dolgokat (megpiszkálni ahogy írod ), *egy rakás extrém sport felsorolva*
Arra azért felhívnám figyelmed, hogy semmilyen extrém sport beli tapasztalat nem véd meg téged és a családodat szénmonoxid mérgezés vagy gázrobbanás esetén. Másokat nem veszélyeztethetsz.
A minősíthetetlen hazugságokat meg senkitől sem tűröm el. Hozzátenném, hogy én egy üzenetet sem írtam neki privátban.
(szerk.: bocs az offért mindenki mástól)
A hozzászólás módosítva: Jan 18, 2021
(#) Profisixx válasza antiktelefon hozzászólására (») Jan 18, 2021 /
 
Indokolatlan sértegetésed határozottan visszautasítom! Sem a legutóbbi, (kettővel feljebb) sem az ezt megelőző hozzászólásaidban egyetlen használható tanácsot nem adtál (pedig ez a fórum erre való) csak kóstolgatsz (!). Senkit nem veszélyeztetek, fogalmam sincs honnan vetted ezt az őrültséget, nem kellene teljesen dilettánsnak nézni a másikat, egészen bizonyos lehetsz benne ,hogy a helyére tudok csavarni egy hollandert, és le tudom ellenőrizni,hogy szivárog-e? Ha be tudok hajtogatni egy ejtőernyőt úgy hogy az ha kell ki is nyíljon 5000 méterről,talán sikerül egy hollanderrel is megbirkóznom, hogy az ne szivárogjon. Egyetlen szó sem volt az üzenetemben ami hazugság lett volna, ezt sajna csak kitaláltad. Nem tudom mire vélni sértődöttséged, de ha nincs semmiben sikerélményed és ez határozza meg minden megnyilvánulásod,hozzászólásod, kérlek ne rajtam igyekezz helyre hozni sérült lelkivilágod, nem én vagyok a te embered. Az üzenetemben sem kértem mást csak annyit, hogy ha nem tudsz ,nem akarsz segítő információt adni, csak provokálsz ,akkor kérlek ezt fejezd be. Bocsi mindenkitől , ezt nem itt kellene ,de nem tudtam szó nélkül hagyni. kellemes estét kedves antiktelefon
(#) Gafly válasza Profisixx hozzászólására (») Jan 18, 2021 /
 
Viccesek vagytok.
Vagy nem?
Következő: »»   478 / 617
Bejelentkezés

Belépés

Hirdetés
XDT.hu
Az oldalon sütiket használunk a helyes működéshez. Bővebb információt az adatvédelmi szabályzatban olvashatsz. Megértettem