Fórum témák
» Több friss téma |
Fórum » Adatlapot keresek
Kondenzátor adatlapSziasztok!A képen látható kondiról lehet valahol olyan adatlapot találni, ahol meg van adva az ESR értéke? Nekem nem igazán sikerült. Jelenleg 4,8Ω körüli értéket mérek rajta, nem tudom hogy ez jó-e? Egy ilyesmi áramkörben van,Dc 12v-os kimenettel, ahol a 230v-al soros 10Ω/ 2W-os ellenállást cserélni kellett. Ezért gondoltam hogy a kondikat is cserélném, de ha jó a mért érték, akkor viszont hagynám. Úgy sincs ilyenem itthon de van 4,7uf-os, az nem okoz gondot ha a C1-C3 3,3uf helyére beteszem? A két kondi közötti L1 induktivitás 100uH. A hozzászólás módosítva: Márc 17, 2025
Az az ellenállás amit cserélni kellett, egyebn biztosíték is. Nézz körül az áramkörben, lehet, hogy zárlat van valahol.
Köszönöm. De jó lenne tudni, hogy a régiek még mennyire jók, erre viszont sehol nem találok utalást.
Nincs zárlat, ellenállás cserével elindult. Lehet hogy csak spontán ment ki?
Időnként az is megesik, mint ahogy az üvegbiztik is elfáradnak minden látható/mérhető ok nélkül.
Van több adatlap a neten a "Rubycon LLE series" elkókról (sok adattal)... LED tápokhoz használatosak.
Elég ha egymás mellé teszel egy régebben gyártott és mostanában készült, azonos paraméterű elkokat, látvány magáért beszél. Régiek sokkal tovább bírják, ezért is butaságnak tartom, ha valaki évjárat szerint cseréli az alkokat és persze mérés nélkül mindet. Erre sokan uszítanak és van rá "vevő" is, sajnos.
A hozzászólás módosítva: Márc 17, 2025
Az akár jó is lehet, a 400V-osak pár Ω-osan simán jók szoktak lenni. Kapacitása jó?
Az az ESR érték teljesen jó ahhoz a kondihoz, esetleg mérhetsz rajta szivárgó áramot is, de attól nem pukkan el a 10Ω. Ha az egy fuse resistor volt, akkor azok ilyen alkalmazásokban öregszenek, és hajlamosak "spontán" is tönkre menni.
A kapacitása az egyiknek 3,1uF, a másiknak meg 3,05 körül van a műszer szerint.
Én is erre gondoltam, mert csak az ellenállás döglött meg. De csere után működik.
Tchip TC1628 adatlapSziasztok!tud valaki segíteni egy adatlap beszerzésében , Tchip TC1628 távirányító ic-hez?
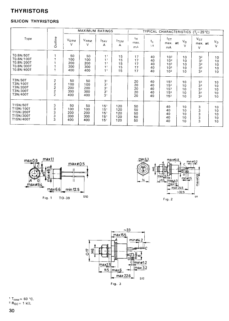
Tungsram T08N200 adatlapját keresem TO39-s tokozásTungsram T08N200 tirisztor adatlapját keresem TO39-s tokozás
Szevasz!
https://www.alldatasheet.com/datasheet-pdf/pdf/1146409/FUMAN/TC1628S.html Ezt persze fel is kell programozni. Üdv: StMiklos
Szia!
Nincs abban semmi különös: határadatok 0,8 A 200 V. A minimális gyújtóáramot meg kikísérletezed. Hűtőcsillag nem árt neki. A hozzászólás módosítva: Júl 17, 2025
Ez ugyan a MEV katalógusából van, de az volt a TUNSGRAM jogutódja.
Köszönöm! Erre az adatokra van szükségem.
Egyértelmű a jelölésből magam is rájöttem. Viszont az adatlap azért van, hogy az abban megadott paraméterek szerint tervezzünk.
Adatlapot keresekSziasztok!Keresem a PP601-43 Westcode8346 tárcsa tirisztor adatlapját vagy valami adatot róla. Google nem a barátom! Li-ion akkuSziasztok!A képen látható akku celláról keresnék valami normális adatlapot. Ez egy Hoverboard akkumulátorában van, csak a pakkból 2-3 db megdöglött. Cserélni szeretném, de nem találok róla infót, hogy mekkora áramot tud folyamatosan leadni, mekkorával kell tölteni, szóval hogy kompatibilis legyen a többivel. A guglin kerestem, de csupa olyan leírást találtam, amiből ez nem derül ki. Köszönöm.
Ott van rajta 1200mAh
A töltőáram 0,2 C azaz 240mA a maximum 600m A töltő feszültség 4,15V A folyamatosan 600mA-rel terhelhető. Adatlap: http://en.hylnkj.cn/products_detail/45.html IMR18650-1200mAh Battery model:IMR18650-1200mAh Model IMR18650-1200mAh Rated capacity 1200mAh@ 0.2C Nominal voltage 3.7V Impedance ≤60mΩ(Charged state) Standard Charge current 240mA Max.charge current 600mA Max. Continous discharge current 600mA Cycle Life ≥ 150 times of charging and discharging Approx weight About 34g Operating temperature Charge:0°C ~ 45°C Discharge:-20°C ~ 60°C
Köszönöm. Az világos volt hogy 1200mAh-ás, csak az nem hogy folyamatosan mekkora áramal terhelhető. De az a 600mA cellánként nem kevés egy hoverboardnak? Az aksi jelenleg 10S-2P formátumban van kötve. 2 cella párhuzamosan és ebből 10 sorban. Azon gondolkodtam ( de nem értek hozzá ), hogy ha nagyobb kapacitású cellákat szereznék ( 2-3000mAh-okat ), amik folyamatosan 10-20 A leadására képesek, de a 20db helyett csak tízet és azokat építeném be, az jó lehetne?
Tény azokkal a cellákkal tovább bírná, de kérdés, hogy a BMS panelom lévő MOSFET-k mekkora áramra vannak méretezve. Általában ezek a MOSFET-k több 10 A folyamatos áramot elbírnak. De a melegedés csökkentése miatt több darabot párhuzamosan kötnek. Feltehetően bírni fogja hőguta nélkül. Jó volna tudni a panelon lévő MOSFET típusát. Szoktak a panelon helyet hagyni pluszba beépíthető FET-knek a megnövekedett áramfelvétel miatt..
Jelenleg 2db fet van bent, RU7088R jelzésű. Gugli szerint 70v/80A.
Elméletileg bírnia kell. Impulzus üzemben van használva és a diagram szerint nagy áramok elviselésre alkalmas. Egy ilyen eszköznél nagy áramok az induláskor lépnek fel. Utána már kisebb áramnak van kitéve. A teljesítmény igény nem változott meg a motor ugyanaz. A panelon van külön hűtőlemez vagy csak a panelon van kialakítva fóliáből?
TO-263-as tokozású, a panelon van kialakítva neki hűtő felület.
|
Bejelentkezés
Hirdetés |










