Fórum témák

» Több friss téma
Fórum » Labortáp javítás
 
Témaindító: very, idő: Ápr 30, 2007
Témakörök:
Lapozás: OK   5 / 38
(#) rszegedi hozzászólása Márc 25, 2009 /
 
Sziasztok!

Megépítettem Attila86 által tervezett tápot Bővebben: Link és az lenne vele a gond hogy csak 3,5-3,7 volt jelenik csak meg a kimeneten és nem tudom a potikkal szabályozni sem. Ha valaki járt már igy esetleg vagy ha valakinek van valami ötlete hogy merre induljak el a hibakeresésben akkor azt megköszönném.
(#) proli007 válasza rszegedi hozzászólására (») Márc 25, 2009 /
 
Hello!
Így nem lehet megjavítani valamit, hogy nem jóó.. nem jóó.

Meg kell mérni a feszültségeket.
- Pufferkondin
- Segédtáp feszültségeket
- Referencia feszültséget
- IC tápfeszültségét a lábakon, ki-bemeneti pontjait.
(És egy kérdést, csak egy topiban tegyél fel, mert a modik harapósak lesznek.)
üdv! proli007
(#) rszegedi válasza proli007 hozzászólására (») Márc 25, 2009 /
 
Szia!

Pufferkondin C9: 29V
segédtápnál a 78l05ön megvan pozitiv fesz 5,8V
de a 79l05ön nem mérek feszültséget vagyis csak nagyon minimálisat 0,7V és a C7es kondin is csak 0,7V van és a C3as elkon is 0,7
Az RC4136on: 7-11lábon mérek:5,3V
Referenciafesz azt hol mérjek?

Előre is köszi hogy segítesz.
(#) proli007 válasza rszegedi hozzászólására (») Márc 25, 2009 /
 
Hello!
Hát akkor első körben nincs meg a -5V-os táp!
- Meg kell nézni, hogy a D2 dióda jó irányban van-e beforrasztva, vagy nincs-e zárlat a C3 kondi körül. A 0,7V igen csak egy dióda nyitófeszültségének tűnik! Lehet nem is minusz, hanem plusz 0,7V?
Meg kell mérni a bejövő váltófeszültséget a D2 katódján is. Eljut oda, vagy valami szakadás van.
- Az 5,8V a plusz stabi után is kicsit magas! Nem lehet annyi.
- És a segédtápot melyik ponthoz képest mérted? Mert ennek a tápnak, a GND pontja, a labortáp plusz kimenetével azonos. (már ha a K1 kapcsoló be van kapcsolva.
- A referencia feszültség, a TL431 anódja és katódja között van. Értéke 6,25V.
üdv! proli007
(#) rszegedi válasza proli007 hozzászólására (») Márc 25, 2009 /
 
holnap akkor megmérem a referenciafeszt is meg a többit is amit irtál.az 5,8Vot a 7805 kimenete és a gnd között mértem.
(#) rszegedi válasza proli007 hozzászólására (») Márc 26, 2009 /
 
szia!
Megtaláltam 1 hibát amit elkövettem mert a segédtáp bemenete nem váltót kapott hanem már egyenirányítottat. Miután váltót kapott ujramértem azokat amit eddig írtál.
Referencia feszültsége a TL431-en és 6.2V.
7805-nél 4,97V-ot mérek
7905 nél -4.93V-ot mérek
RC4136-os 7,11es láb között pedig 4,4V
Viszont a kimeneten igy most szinte niincs is fesz (0,3V)
(#) proli007 válasza rszegedi hozzászólására (») Márc 26, 2009 /
 
Hello!
A műveleti erősítő a kapcsolásban +5 és -5Vot kap, ott nem lehet 4,4V!
üdv! proli007
(#) rszegedi válasza proli007 hozzászólására (») Márc 27, 2009 /
 
Szia!
Igazad van és ma megnéztem mégegyszer és rájöttem hogy fordítva néztem az ic lábkiosztását .Szóval megvan a 7es lábon a -5V és a 11es lábon az 5V.Akkor igy nem a segédtáp a hibás,ugye?
Üdv!
(#) proli007 válasza rszegedi hozzászólására (») Márc 27, 2009 /
 
Hello!
Most, ha mát a tápfeszültségek és a referencia rendben van,
- meg kell mérni az IC4 lábain a feszültségeket, a táp pozitív kimenetéhez képest, ami jelen esetben egyben az analóg GND pot is. Akkor lehet tájékozódni annak működéséről.
- Ez után megmérni, a T1-T3-T2 tranyók bázis feszültségeit, szintén a GND ponthoz képest.
üdv! proli007
(#) rszegedi válasza proli007 hozzászólására (») Márc 28, 2009 /
 
Szia!
IC4 lábain a feszültségek:
1-es -0,1V 8-as -0.33V
2-es 3V 9-es 3V
3-as 4.3V 10-es 3,5V
4-es 4.3V 11-es 4,8V
5-ös 2,3V 12-es -3,6V
6-os 2,3V 13-as -0,1V
7-es -5,2V 14-es 0V

T1 B: 0V
C: 30V
E: 0V

T2: B: 0V
C: 30V
E: 0V

T3:B:0V
C:30V
E:0V
(#) proli007 válasza rszegedi hozzászólására (») Márc 28, 2009 /
 
Hello!
Átnéztem a mért adatokat, egyenlőre nagyjából minden rendben van.
- Ha megnézed, az IC4C kimenete (10) +3,5V-on van. Ez kinyitná a végtranzisztorokat, így lenne kimenő feszültség. De az IC4D kimenete (12) viszont -3,6V-on van. Ez viszont zárja a végtranzisztorokat. Tekintve, hogy az R11/R12 ellenállásokon a két feszültség összeadódik, így a T2 tranzisztor bázisára már 0V feszültség jut csak. Ettől a tranzisztorok zárva vannak. (látható is, hogy minden bázis-emitter feszültségkülönbség 0V.
- Az IC4D az áramkorlátot működteti, tehát az nem engedi a tranzisztorokat kinyitni. Így a táp kimenetén nulla volt van. Ennek az IC-nek a 14-es (-) bemenetén 0V van, viszont a 13-as (+) bemenetén minusz feszültség van. Így a kimenete is minusz táp közelében lesz (-3,6V).
- Az IC4D az R1 shun ellenálláson eső feszültséget hasonlítja össze az R9/P1/P2 által leosztott "áramreferencia" feszültséggel. Az R1-en nem folyik áram, tehát azon nulla volt a feszültségesés. (mint ahogy látható a 14. láb feszültségéből)
Viszont a referencia felől nem érkezik feszültség (illetve kis mínusz azaz -0,1V van a 13-as lábon). Tehát a P2 poti vagy le van szabályozva nullára, vagy az R8/P1/P2 láncban szakadt valami.
- Az áramkorlát működését, a D7 Led-nek is mutatni kellene jelenleg. A P2 potival 0..Imax*R1 feszültséget kellene tudni beállítani (Ha a táp végárama 2A és a shunt ellenállás értéke 0,15ohm, akkor ez a feszültség 0..0,3V), amit az IC 13. lábán, vagy a poti közepén mérhetőnek kellene lenni.
- A korlátozáshoz szükséges feszültséget úgy lehet beállítani, hogy P1 trimmerrel a P2 tetején, beállítjuk a 0,3V-ot.
üdv! proli007
(#) rszegedi válasza proli007 hozzászólására (») Márc 30, 2009 /
 
Szia!
Beállítottam a p1 trimmerrel a 0,3V-ot ami el is megy P2-es poti felső lábára maj utánna már -0.3V megy tovább. Jó ez igy?
üdv.

Jah és még azt vettem észre hogy most a kimeneten van 0,3V de ha a feszállító potit elkezdem felfele tekerni akkor lefele megy a fesz kb 0.2V-ig.
(#) proli007 válasza rszegedi hozzászólására (») Márc 30, 2009 /
 
Hello!
Hát az semmiképen nem jó. (eredetileg csak mérési hibának gondoltam a -0,3V-ot)
- Meg kell nézni, honnan jön a mínusz feszültség. Mert ez pont akkora, mint ami a kimeneten van (persze az plusz, mert nem az analóg GND-hez méred, hanem a negatív kimeneti ponthoz.
- Lehet a C8 zárlatos, vagy a panel vezet át valahol a mínusz kimenetre.
- Ha a potit tekered és a tetején nézed és ahogy tekered csökken a +0,3V, akkor a csúszka terhelődik.
Ha nem csökken, akkor szakadt a poti közepe, vagy nincs beforrasztva (esetleg a két panel közötti átkötés nincs meg)
- Aztán mérni kellene R7 két lábán is, hogy nem-e az IC felől jön a feszültség. (erre van a legkisebb esély, mert szerintem az jól működik.
Nem írtad, hogy a Led ég-e.
üdv! proli007
(#) Lánglurkó válasza didyman hozzászólására (») Ápr 8, 2009 /
 
Szia!

Köszönöm, amint lesz rá lehetőségem, akkor be is építem.
(#) rszegedi válasza proli007 hozzászólására (») Ápr 14, 2009 /
 
Szia!

Sikerült folytatnom a hibakeresést. Végülis arra jutottam hogy kicserélem az ic-t. Miután ezt megcsináltam a kimeneten meg is jelent a feszko. Már csak annyi hiba van hogy ha üresben állítom a feszültséget akkor nagyon pontosan tudom állítani de ha leterhelem akkor valahogy ha 10V felé viszem a feszt akkor teljesen kinyit a tranyo és ráküldi az összes feszültséget, vagy ha pl rákötöm a panelfúróm akkor ha csak 5V-ot is adok neki és lefogom szintén felugrik maximumra a feszültség.

Köszi a sok segítő választ.

Üdv.
(#) proli007 válasza rszegedi hozzászólására (») Ápr 14, 2009 /
 
Hello!
- A jelenség olyan, mintha pozitív visszacsatolás lenne valahol az áramkörben. Esetleg gerjedés. Nézd meg a C1/C13 kondikat, hogy megfelelőek-e és kerámia kondik-e.
- Meg kellene próbálni függetleníteni a feszültség és az áramszabályzót. Vedd ki az R12-es ellenállást. (És egyben mérd meg, hogy az R11-és R12 egyformán 2,2kohm-e.) Óvatosan próbáld meg terhelni a tápot, vigyázva, mert ilyenkor nincs áramkorlát. (én az R12 helyére, egy diódát raknék, úgy, hogy a katódja lenne az IC 12. lába felé. Akkor az áramszabályzó, nem tudja nyitni a végfokot, csak zárni.
- Minden esetre mérni kellene a feszültségeket, amikor normális a működés, és amikor felugrik, és keresni a különbségeket.
(Kicsit gyanús, ez a túl sok össze-vissza működés, valami egyszerű fatális hibára gyanakodom.)
üdv! proli007
(#) scooby_ hozzászólása Ápr 16, 2009 /
 
Sziasztok!
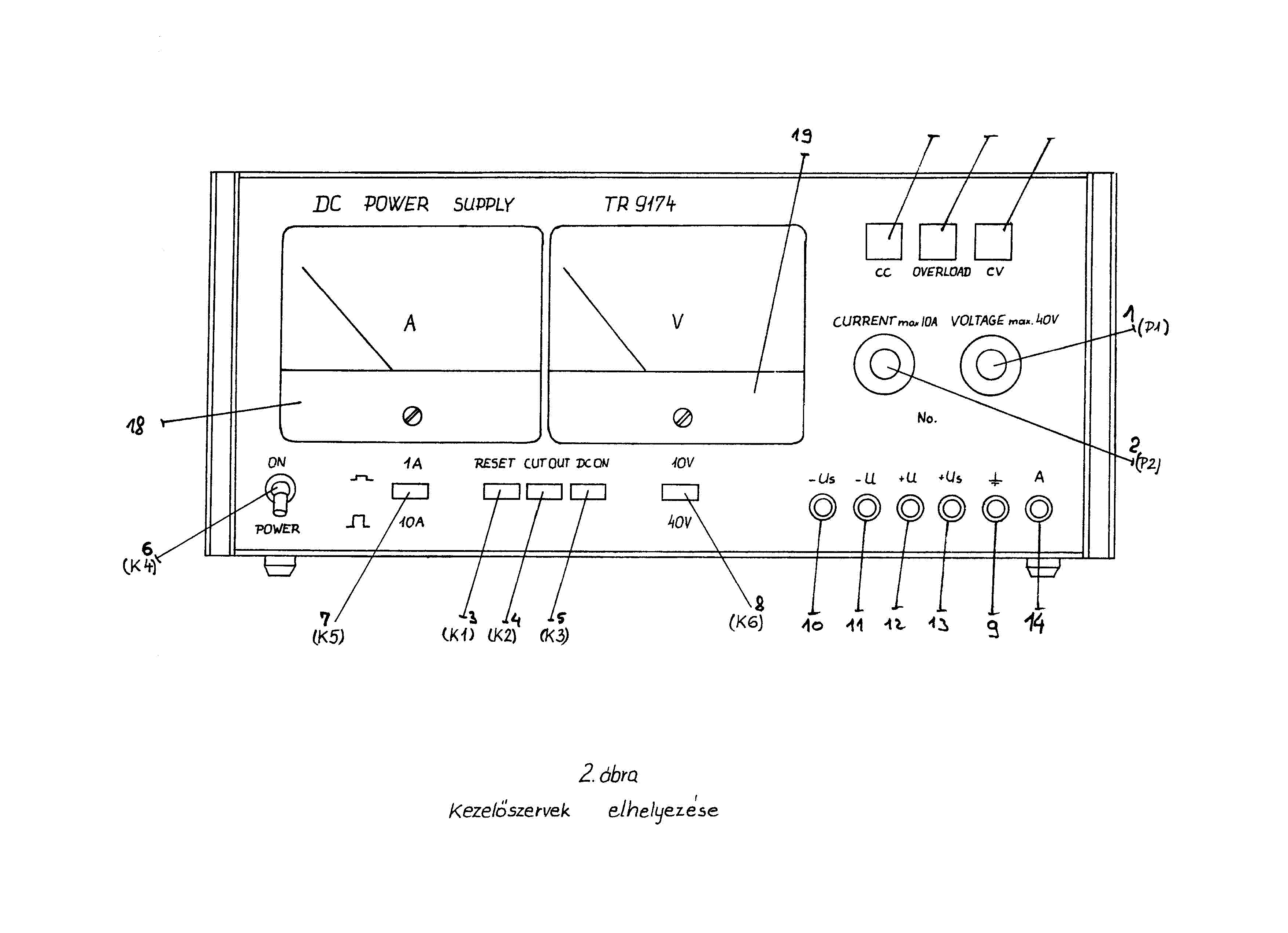
Van nekem egy Magyar gyártmányú Radelkis TR 9174-es táp előlapja.
Benne van a Power bekapcsoló gomb a két depez(az Amper mérő műszer mutatója nincs meg) a gombsor alul,a kimeneti "aljzatok" és a lámpák.
Az volna a kérdése,hogy hiányzik e még valami,és hogy tudom e pótolni.
Egyenlőre eléglenne egy kapcsolás is

A segítséget előre is köszi!
(#) Sebi válasza scooby_ hozzászólására (») Ápr 16, 2009 /
 
"Van nekem egy Magyar gyártmányú Radelkis TR 9174-es táp előlapja."
"Az volna a kérdésem,hogy hiányzik e még valami,és hogy tudom e pótolni."

Igen. Maga a tápegység. Hiszen csak az előlapja van meg.

Gépkönyv 2mega felett van, csak mail-ben mehet.
(#) scooby_ válasza Sebi hozzászólására (») Ápr 17, 2009 /
 
Szia!
Közben letöltöttem,megvan a kapcsolás is
A kapcsoláson a "K"-val jelzett panel megvan,rávannak kötve a depezek,működnek is.
A táp valóban hiányzik,mit csináljak vele?
Érdemes utánépíteni?
Vagy építsek egy kisebbet ami stabilizált?
(#) Sebi válasza scooby_ hozzászólására (») Ápr 17, 2009 /
 
Ezt nem érdemes utánépíteni, ha semmi nincs belőle.Az az igazság, hogy az előlap is baromi nagy - persze, ha van sok helyed, az más. Először is azt próbáld meg elképzelni, mire fogod használni: mekkora fesz., áram az, amire szükséged lehet. (ez 10A-es volt)
Ha már építesz, egyszerest nem érdemes, mert gyakran kell kettős tápfesz pl műv. erősítős áramköröknek.

Nézz be ide , jól ki van tárgyalva a téma.
(#) scooby_ válasza Sebi hozzászólására (») Ápr 18, 2009 /
 
Oké,megnézem!
Nekem elég max 5A-en 30V...bőven!
Stabilizáli hogy lehet?
(#) scooby_ válasza Sebi hozzászólására (») Ápr 18, 2009 /
 
Amugy télleg nem kicsi táp lenne ez,és zavart is hogy nem ad le PL 2x40V-ot!

Amúgy van rajta két potméter:Voltage(gondolom feszültség) Current(ez az Amper?)
És a potik fülött egy egy szám "ablakocska van,ami elvált ahogy tekerem a potenciát(0-nál) és 0-10ig vált...
(#) scooby_ válasza Sebi hozzászólására (») Ápr 18, 2009 /
 
Na! Találtam egy 30V-os trafót,rajta egy panellal meg szűrőkondival mag egy fura műanyag szürke 4 lámú valami van rajta ~~+- jelekkel!
A depez 30V-ot mutat,és a multiméter is...,nem tudom hágy Watt és amper
Ez a trafó egy Orister(Orion SE1015)erősítőböl származik!
(#) Imi65 válasza scooby_ hozzászólására (») Ápr 18, 2009 /
 
Érdekes dolgokat mesélsz! Ezek szerint nem igazán volt még dolgod (működő) labortáppal. A feszültség, és áram potméterek helikális kivitelűek, ami azt jelenti, hogy a csúszka egy spirál-pályán fut, és a szokványos 270 fok helyett 10 teljes fordulatot tehet meg. A potméter pozíciójának vizuális meghatározásához (ide egy pötty, vagy vonal nem elég, hiszen nem tudhatod, hogy ez hányadik fordulathoz tartozik) találták ki ezt az "ablakos" számlálót (30V-os táp esetén egy fordulat 3V). Az áram maximális értékét szintén beállíthatod, ennél nagyobb áramot a tápegység nem képes szolgáltatni. (10A-es tápnál fordulatonként 1A-t jelent a "tekerő")
(#) Imi65 válasza scooby_ hozzászólására (») Ápr 18, 2009 /
 
Ha jól emlékszem, az erősítő 2X15W-os volt. Ehhez egy 45-63VA-es trafó lehetett hozzá. Ez 30V-on 1,5-2A-t jelent váltóáramon. Egyenen nem lesz ennyi sem.
(#) scooby_ válasza Imi65 hozzászólására (») Ápr 18, 2009 /
 
Hali!
Köszi a felvilágosítást!
A potik nem működnek(hacsak nem én baltáztam el valamit)csak átfut rajtuk a feszültség és nem állít semmit,a 10 fordulatnál meg olyan mintha kikapcsolan.
(#) Imi65 válasza scooby_ hozzászólására (») Ápr 18, 2009 /
 
A feszültségszabályzás többségében úgy van megoldva, hogy a fesz potméter kap egy állandó áramot, és ez az áram, valamint a poti aktuális értéke ad egy feszültséget, amit összehasonlítanak egy virtuális 0V-al. Ha ettől eltér, akkor a szabályzás a helyreállítására törekszik. Az áramszabályzásnál meg egy figyelő ellenálláson eső feszültséget hasonlítják a potin esőhöz, ha eléri, akkor megindul az áramhatárolás. Rajz nélkül - persze - csak találgatok.
(#) scooby_ válasza Imi65 hozzászólására (») Ápr 19, 2009 /
 
Hali küldtem rajzot

Táp.JPG
    
(#) proli007 válasza scooby_ hozzászólására (») Ápr 19, 2009 /
 
Hello!
Inkább, ezt ajánlanám.. De még ez is "zaccos".
üdv! proli007
(#) Imi65 válasza scooby_ hozzászólására (») Ápr 19, 2009 /
 
Szerencsére Proli007 is küldött egy linket, amin azért jobban látszik a tápegység rajza. Ez kísértetiesen hasonlít a hasonló képességű HIKI tápra, csak néhány eltérés fedezhető fel rajtuk. Én kezdeném a segédtápegységek, és a referenciafeszültség ellenőrzésével (+-15V, és +10V). Aztán megnézném, hogy a tirisztoros előszabályzó kimenetén (a 22000 µF -es kondin "hogy áll" a feszültség (van-e miből finomszabályozni). Aztán az áteresztő tranzisztorokat, és azok vezérlőáramköreit nézném meg.
Következő: »»   5 / 38
Bejelentkezés

Belépés

Hirdetés
XDT.hu
Az oldalon sütiket használunk a helyes működéshez. Bővebb információt az adatvédelmi szabályzatban olvashatsz. Megértettem