Fórum témák
» Több friss téma |
Fórum » Labortápegység készítése
Ezek kicsik. Maximum pár watt hőteljesitmény lesugárzására alkalmasak, itt pedig akár 50W is előfordulhat.
OK köszönöm a segítséget!
Szia !
A táprajzon az IC 4-es és 11-es lába fel van cserélve !!!
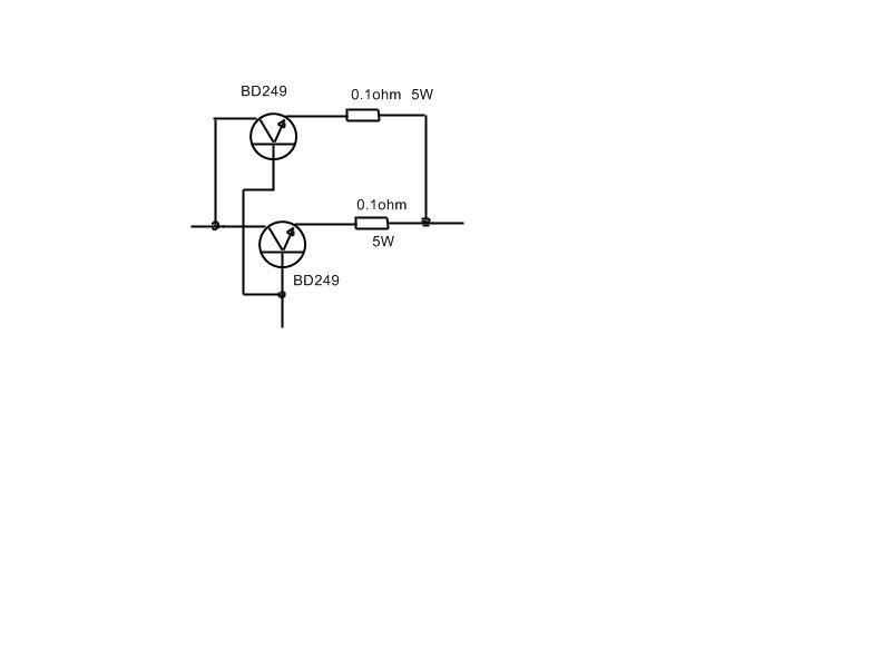
Áteresztő tranyós áramkört építettem.Párhuzamosan van 2db BD249.Csak az egyik fűt, gondolom nem egyforma a nyitófesz.Mindenképp el kellene osztanom a terhelést a kettő között, mert a hűtőborda így 80 fokos.Gondolom, ha mindkettőn egyformán esik a fesz, megoszlik a hő is.Külön hűtője van mindkettőnek.Ha külön kapnák a bázisfeszt, és a kollektorokat összekötöm, az jó megoldás-e?Mert akkor a kimeneteken(kollektorokon) különböző feszültségek vannak(n tized V).Másik kérdésem , köthetek-e párhuzamosan több stabIC-t? Vagy esetleg LM2576-ADJ IC-ről tud-e valaki működési elvet?Adatlapot találtam, de más értékekre nem tudom hogyan kell beállítani. Milyen lehetőségek vannak?
hegusp
Párhuzamos kötésnél kisértékű áramkiegyenlitő ellenállásokat szokás az emitterekbe iktatni. Pár század ohm már elég lehet, de 0.1 ohm már biztosan.
Így jó lesz? Stab IC-vel mi a helyzet? Vagy ne kísérletezzek?Mert csak 1A-t bír az IC, elvileg a kettő elbírná a 2A-t.De ha nem oszlik meg az áram pont felesbe, akkor fűst, vagy nem?
kösz az infót proli007.Csak én beszélni little angolt.Igazából arra volnék kíváncsi, hogy más induktivitás értékkel, vagy más diódával mit okozok az áramkörnek, és mit jelent pl az hogy feedback(az egyik lába az IC-nek),stb.Lehet ,hogy le van írva ott, de azt nem tudom elolvasni.
hegusp
A tranyók párhuzamositása igy jó.
A stabkockákkal kapcsolatban: Elvileg jó lehet (nem csináltam még igy több ampert).... Annyi biztos,hogy az egyik mindig jobban dolgozik-fűt mint a másik.
Proli007 helyett válaszolnék .... A feedback lábon érzékeli a kimenő feszültség nagyságát,ettől függ az új bekapcsolási ciklus inditása közvetve.
Az induktivitás megváltoztatása hatással van a működési frekvenciára, a benne tárolt mágneses energia határozza meg végülis. Csökkenteni az értékét az adatlap ismerete nélkül nem tanácsos, tudni kell a kapcsolóelemen átfolyó maximális áram értékét,és a működési frekvenciatartományt is.
Lehet párhuzamosítani, de valami kapcsolás szerint be kell állítani azonosra a kimenetet, így egyformán dolgozik, és nem egymás ellen (5,01V;4,98V 30mV különbség az IC kimenetein, és mindenki akarja tartani a sajátját, tehát fűt az egész). Keres rá, valahol megvan a kapcsolás itt a HEn, valószínűleg ebben a topicban, de nem biztos.
Idézet: „5,01V;4,98V 30mV különbség az IC kimenetein, és mindenki akarja tartani a sajátját, tehát fűt az egész” Tápegységeknél ez így nem igaz, "felfelé" nem tud érdemben mit csinálni egy soros áreresztő, legfeljebb nem nyit ki, így csak a magasabb feszültségű terhelődik (míg le nem esik a feszültsége az alacsonyabb szintre). Motorok, trafók párhuzamos üzemére viszont igaz, mivel ezeknél kétirányú lehet az energiaáramlás.
Sziasztok!
El kell mondanom,hogy nem nagyon értek az elektronikához,de szükségem lenne egy olyan tápegységre,amely állandó 18V egyenfeszültséget képes előállítani és az áramerősséget szeretném szabályozni 0-30 A között.Lehetséges ilyen tápegységet készíteni?Szeretném segítségeteket kérni,esetleg egy kapcsolási rajz is jól jönne. Előlre is köszönöm. Tisztelettel, Lengyel Gergő
Ellentmondásos a feladat.
Addig értem, hogy 18V egyenfeszültség a kimeneten. Még talán azt is értem, hogy a maximális áramot akarod korlátozni 0-30A (nem kis érték ám!) között, de hogy ekkor már szó nem lesz 18V-ról, az törvényszerű. Vagy a feszültség stabil, és akkor az a terheléstől független, hiszen éppen ettől stabil. Vagy az áram stabil (áramgenerátoros üzemmód), viszont akkor éppen a feszültség fog mindaddig csökkenni (akár nulláig is), ameddig az adott terhelés éppen a kívánt áramot veszi fel. Tehát ez az áramszabályozás így elég zavaros. Alkotó
Szia előlre is köszönöm hogy irtál,nekem ez kinai amit irtál,értem hogy mit mondassz,de nekem lövésem sincs hozzá.Elmondom mit szeretnék.Aluminiumot szeretnék eloxálni.Leirom ez mit jelent (nem azért irom le mert hülyének nézlek,csak hogy tudd,hogy mihez kell ez nekem.)15-30%-os kénsavas oldatba kell bizonyos ideig egyenáramot vezetni amelybe az eloxálandó anyagot helyezem be,az anyag felületének nagyságától függ a szükséges áram erőssége,négyzetdeciméterenként 2A.Tehát ha egy 10cm x10cm-es aluminium lemez mindkét oldalát szeretném eloxálni,akkor 4A-re van szükségem,de ha ennél nagyobb alutárgyat szeretnék kezelni akkor nyilván ennél sokkal többre,de ez csak akkor müködik ha (az oldat hőmérséklete max 20 Celsius fok)és a feszültség 18Volt egyenfeszültség kell,hogy legyen.Ezt nem én találtam ki ezt igy csinálják (gyárilag is)szerinted ezt lehetséges megvalósítani hobbi szinten is?Örülnék,ha segitenél.Előlre is köszönöm.
Tisztelettel Lengyel Gergő
Szia.
Ez amit szeretnél, csak akkor működik, ha az oldat ellenállását tudod szabályozni. Ugyanis 18V feszültség esetén, csak akkor folyik az oldaton keresztül 4A, ha az oldat ellenállása 4,5 ohm. Ohm törvénye: I=U/R . A fizika törvényét sehogy sem tudjuk megkerülni
Szerintem ide nem kell semmilyen stabilizátor.
Trafó, és egyenirányító, esetleg puffer, de talán az nem is kell. Ha esetleg nem jönnek pontosan a parméterek, akkor majd változtatsz az időn, és azzal szabályozod az eloxálás mértékét. Totális OFF, de az eloxáláshoz kapcsolódik. Régebben én is csináltam ilyesmit, de túl macerás. Ettől sokkal egyszerűbb, és még talán jobb is a trisó. Már hosszú évek óta, trisós vízben főzöm a hűtőbordákat, amitől nagyon szép egyenletes lesz a felületük, kivilágosodnak, és makulátlanul foltmentessé válnak. Ez az "oxidációs" módszer vitathatatlanul egyszerűbben kivitelezhető. (a trisó egy filléres vegyszer, és kb. 3 perc főzés bőven elég. Még a nagyon régi, ócskavastelepes bordák is ujjá válnak tőle) Alkotó
Gege001!
Éppen ma is letisztogattam egy bordát, és arról pár fotót felraktam ide. Ha gondolod. ott megnézheted mit lehet ezzel a módszerrel csinálni, sőt futólag átnéztem, és van ott egyéb leírás is, ami még hasznos lehet. Alkotó
Szia én is próbáltam már a trisós módszert,ez müködik,de ha szinezni szeretném az aluminiumot akkor már nem tartós az oxidréteg,és nem egyenletes a felület.Ezért lenne nekem jobb az elektromos módszer.Igazad van az idővel lehet játszani,szerinted milyen trafót és milyen egyenirónyítót kellene használni,illetve lehetne-e VOLT és AMPER-mérő müszert beiktatni az áramkörbe,mert ezek segitségével legalább körülbelül ki tudnám számolni a behatási időt?Van nekem egy akumlátor töltőm amelyen van egy STARTER funkció,ami azt jelenti,hogy direktbe tud helyettesíteni egy akumlátort és el tudok vele inditani egy autót pontosabban inkább el tudtam,mert az egyenirányító megadta magát,de a trafó müködik.Mikor még müködött a készülék megmértem és STARTER funkcióban 48V-ot adott le és a ráirt paraméterek alapján 140Ampert.Ez a trafó jó lenne szerinted erre a célra?Tudnál esetleg kapcsolási rajzot mutatni,illetve milyen egyenirányító kellene?Vagy mi a véleményed a dologról.Tudom,hogy rengeteg a kérdésem,de tényle jó lenne ha sikerülne megcsinálni.Köszönöm!
Tisztelettel Lengyel Gergő
Még egy utolsó fejezet a PIONEER által javítgatott LM324-es IC-vel készített tápegységről.
A legutóbbi rajz alapján csináltam egy tesztpélányt, és annak tapasztalatait írom le. Természetesen én feltételeztem, hogy az általam épített kapcsolás jól van megépítve, nincs benne sem elkötés, sem hibás alkatrész. 1. AC28V-ról járattam, és mindkét trimmert úgy állítottam be, hogy a maximális értéket tudjam a potikkal elérni. Így Uki 30,2V maximum, az Iki pedig 2,44A maximum (árammérővel rövidre zárva). IC 4-es láb +23,8V, a 11-es láb pedig -4,82V. 2. Folyamatosan (tehát bármilyen árambeállításnál) világít az "áramgenerátoros üzemet jelző led. Még akkor is, ha teljesen nyitott a bemenet, azaz egyáltalán nem folyik áram a kimeneten (kivéve amit az R15 terhel, de ezt én nem nevezném terhelésnek. Tehát valami alapvetően másképp működik, mint az jó lenne. 3. A feszültségstabilitás a következő zűrzavaros ügy. Ha 30V-ot állítok be a kimeneten, akkor különböző mennyiségű izzóval terhelve az alábbiak mérhetők. 1 izzó esetén (0,38A) hajszálpontos a feszültség; 3 izzó (1,08A)-nél már durván esik a feszültség 26,1V-ra; 6 izzó (2,08A) már csak 20,1V-ot eredményez. Erről semmiképp nem mondanám, hogy ezt akartuk elérni. Talán újabb kis módosításokkal lehetne ezt a működési anomália tömeget is kezelni, de én már beleuntam. Sajnálom, de ez a kapcsolás a súlyos tévedések képzeletbeli dobozába fog nálam kerülni! Alkotó
Keresni kéne egy másik topikot, mert ez abszolút nem labortápegység téma!
48V és 140A ?! Ez elég durva! Én is csináltam már egy olyan töltőt, ami képes volt a trabantomat annó beindítani, de az egy elég komoly kis szerkezet még ma is. Küldj egy két fotót arról a bizonyos töltőről, kicsit hitetlen vagyok "140A ügyben". Alkotó Idézet: „3. A feszültségstabilitás a következő zűrzavaros ügy.” Ha kimeneten ilyen vezeték van ne csodálkozz.
Szia!
A led azért világít, mert 38V a betáp. Az R6 értékét növeld 33kohm-ra. Én is tapasztaltam némi feszültségesést a kimeneten terheléskor, de nem ekkorát. Viszont ezt az R16 és R17 1Kohm-ra vagy kisebbre 680ohm-ra való cserélésével, szinte megszűnt.
Niedzella!
Mint az köztudott, te nem nagy racionális szempont semmilyen témában sem. Ezért nyomatékosan kérlek, ne próbálkozz velem. Keress magadnak más játszótársat. És főleg ne próbáld rossz irányba vinni a konkrét méréseimet, a szokásos áltudományaiddal. Amit írtam azért tettem, mert ez a táp, ahogyan én megépítettem, nem működik helyesen! Alkotó
Azt azért elég korán kijelentetted, hogy Pioneer tápja ***. Elég sok átdolgozás volt rajta lehet, hogy nem lettek kiszámolva rendesen az alkatrész értékek. De ettől az elviekben működőképes!
Én is nagyalom a T1 emitterére csatlakozó ellenállások értékét. Emiatt nincs meg a kellő áramerősítési tényező, és a terhelésre esik a kimeneti fesz. Megoldás lehet az is, ha a T2-őt daringtonra cseréljük. Az R6 és az R10-essel megvalósuló osztót úgy kell beállítani, hogy a feszültsége épphogy ne haladja meg a D1 katódján lévő feszültséget, táp terheletlen állapotában. Alkotó! Te alkottál valaha olyan áramkört, amit te terveztél a saját elgondolásod alapján? Csillagozva, Norberto
Szia PIONEER!
Kipróbáltam amit írtál. Mind a 33kohm, mind az 1kohm-ok cseréje bevált. Így már az áramkorlát jelzése teljesen jól működik, és a feszültség esése gyakolatilag szintén megszünt (kb. 70mV-ot esik, ha 25Vot állítok be, és kb. 2A-el terhelem meg). Mindenképpen bőven belül van az áltlános stabilitási igényeken. Viszont még mindig van egy javítandó dolog: a minimális áramkorlát, ami nálam 0,3A körül van, Ezt ha nem is nullára, de azért 50-100mA-re jó lenne letolni. Az egyértelműség kedvéért, mellékeltem saját átrajzolatomat, ami azonos a te rajzoddal, csak kicsit másképp helyeztem el ezt-azt, mert nekem így áttekinthetőbb. És persze a mostani módosítás is benne van már. És még egy, természetesen adtam neki egy 2.4-es verziószámot is. Alkotó
Szia!
Ezt a minimális áramkorlátot még nem figyeltem, de holnap megnézem és megírom mire jutottam.
dB_Thunder!
Én sosem mondtam azt amit állítasz (még ha azt is gondolnám, akkor sem használnám az általad leírt szavakat). Csak azt mondtam, hogy a rajz szerint megépítve (hangsúlyozottan a saját példányom), nagyon távol van a számomra elfogadhatótól. Viszont mint láthatod, a legújabb módosítások nagyon közel hozták a megfelelő szint eléréséhez. Én abszolút támogatom PIONEER törekvését, mert ettől egyszerűbben aligha lehet használható labortápot csinálni. Kizárólag e miatt szentelek én is időd és energiát a témára. Erre jó példa a nyákterv is, amit jó szívvel ajánlok mindenkinek, mert most már ki is van próbálva, és tudja amit tudnia kell. Szerintem nagyon fontos, hogy legyen egy ilyen végtelenül egyszerű, mindenki számára fillérekből kihozható labortáp a köztudatban. PIONEER csak elismerést érdemel (meg én is a nyák-ért). Még nem terveztem labortápot. Ehhez én nem vagyok elég iskolázott. Amit én az elektronikáról tudok, az mind önerőből van, de ahhoz eddig még elég volt, hogy mások által készített rajzokat (szerintem) színvonalas minőségben tudjak megvalósítani. Azt viszont jól érzed, hogy némi ellenérzésem van az önjelölt "hozzártőkkel" szemben. Akik jónak vélt, vagy csak jónak mondott, esetleg félkész kapcsolásokat tesznek ki nyilvános helyekre, pusztán saját nimbuszuk növelésére. Más! A te tápod nyáktervét mikor láthatjuk? vagy legalább egy "jól kiszámolt" komlett rajzot róla? Alkotó
Egy kis segítség kéne !
Teljesen beerdőztem a szóban forgó táp kapcsán ![]() Én ezt építettem meg ,ez jó lehet ? Köszi előre is ! |
Bejelentkezés
Hirdetés |














