Fórum témák
» Több friss téma |
Fórum » DCF77 óra Nixie-csövekkel
Szerintem nagy a multiplex frekvencia azert futyul.
VFD csoves oranal a futes erdekes,.. sorba kotni nem lehet a potencialkulonbseg miatt, parhuzamosan a nagy aram miatt, - nagy disszipacio az elotet ellenallason . Mindezt 12V, vagy 5V STAB.rol valo mukodesnel gondoltam. Sorban lehet kotni a futeseket, pl. ugy ha valtakozo arammal hajtjuk (megoldhato egyen aram es H hiddal, es persze a megfelelo elotet ellenallassal ) Szegmenseket meg lehet hajtani valami UDN-vel, az anod kivalasztast hasonloan lehet megoldani mint nixinel. Nixi tapegyseg visszacsatolasat, - kimeneten a puffert modositani VFD tapnak.
Igen,eddig eljutottam gondolatban én is...sajnos olyan 12-14 kHz-en fütyörészik, majd ha öregebb leszek már nem fogom hallani, akkor újra előveszem
(Tényleg valaki nem csinált órát plazmakijelzőből, nekem van egy pár (régi flipperből) az milyen király lenne UDN6118A-val meg UDN7180A-val lehetne hajtani. :violent: VFD órám már van, a mikrosütőből szedtem ki, még a TV-t is be tudja kapcsolni egy órára ) Az eredeti kérdésre visszatérve, találtam dcf-es 6 csöves órát pic-kel, de az 50Hz-ról veszi az alap frekit és be kellene fordítani a C-ben írt progit, esetleg valakinek van erről tapasztalata:Bővebben: LinkBővebben: Link
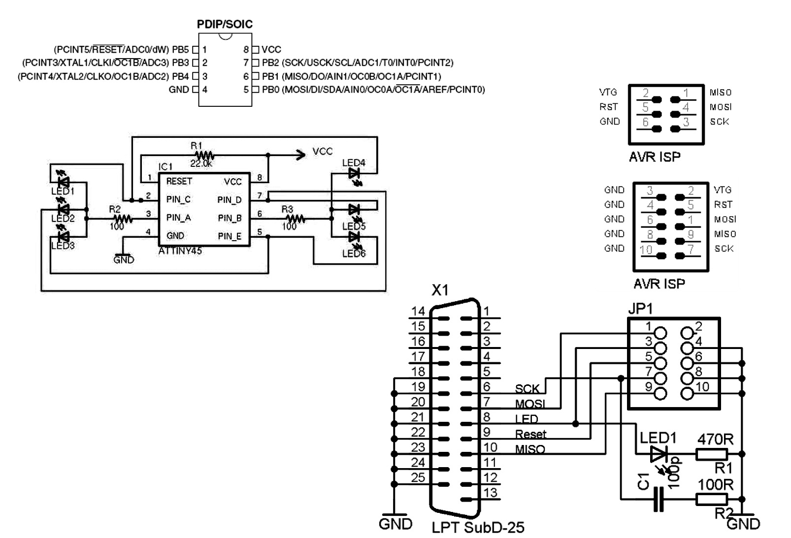
Ez tényleg guszta, kár, hogy nem ezzel kezdtem, de a pic hez volt programozóm. Atmegát mivel lehet égetni?
köszönöm, ez valóban jónak tűnik.mindig átnézem a kapcsolásokat, efelett valahogy átsiklottam.poén, hogy a hivatkozott kosbo.com -on lévő kitet viszont már láttam.
azok a dotmatrix vfd-k gyönyörűek
, mondjuk 30 rugóért találtam legolcsóbban (a kicsit ! talán 64x128-as volt), viszont sajna semmi ingyenes progit(kapcsolást) nem találtam hozzá.egy figura csinált egy ilyen kisméretűvel dátumkijelzős órát,nagyon szép, de levette a kódot
Én elég durva módszert választottam. A párhuzamos portra kötöttem be 5db kábelt és ráuszítottam a ponyprog-ot. (A ledet és a soros RC tagot nem kötöttem be.)
Nézegettem a kapcsolást, hát az atmegás is elég bonyolult. A Topi led-es órájában meg benne van a 7 szegmenses dekóder , ezért kell neki 28 lábú pic, a szegmensvezérlés eleve elvisz 7 kimenetet.
Egyre inkább érdeklődök a nixie órák iránt, meg is néztem a kapcsolási rajzokat, egy egyszerűbbet talán össze tudnék rakni. Én nem értek a PIC-hez, de AVR-ben viszonylag jó vagyok, RTC-vel is dolgoztam már, ezek nem jelentenek gondot.
A kérdésem az, hogy kinek mennyire vált be az, hogy az egyszerű áramkörök a csöveket egymás után gyújtják be? nem jelent ez a fényerősségben jelentős romlást? Hány csövet lehet így meghajtani? Nem lenne jobb megoldás, ha minden csövet, kapcsolgatás nélkül hajtanánk meg közvetlenül?
De, jobb megodás lenne... csak:
Vagy a uC i/o fogy el, vagy kiegészítő IC-t (multiplexer, shift regiszter) kell még pluszban használni. A közvetlen multiplexelés egyszerűbb. :gumicsirke:
Hol van a határ?
Mennyire zavaró a fényerőcsökkenés, és hány nixie csövet lehet meghajtani multiplexelten?
Csak empirikus válasz tudok adni: a Tom025 féle órában 6 csövet multiplexel a pic, az előtét ellenállással (anód) be lehet állítani a fényerőt (az eredményt lásd a (#483841) hozászólásnál mellékelt képen).
Találtam egy kapcsolást , Arvin Schnell munkája. Ígéretesnek tünt (külső bcd dekóder, 100Hz multiplex freki, ledes óra dcf vevővel, extra stuff rs232 stb.) A kódot módosítottam (baltával kivágtam az első számjegy 0 kioltó rutinját /nop/). Most itt ketyeg az asztalon, de természetesen nem szinkronizál dcf-re. Ha valaki megnézné a kapcsolást, az Arvin féle dcf vevő kompatibilis a conrados vevővel? Itt véget ért a tudományom. Arvin oldala: link
Szia!
Kompatibilis... A Conrad modul két kimenettel rendelkezik (normál - invertált), a programnak megfelelőt kell a bemenetre kötni. Tápfeszültség tartomány: 1.2V .. 15V - A kapcsolásban 5V Terhelőáram: max. 1mA - A kapcsolásban 5V/22kohm =0.2mA Szia
A kapcsolásban van egy jumper, amivel invertálni tudja a jelet én a conrad-os kimeneteit használom helyette. Sajnos nekem se a rendes, se az invertált nem írja be az időt. Szkópon látom, hogy jön a jel másodpercenként, de nem szikronizál.
Szia!
Megnéztem a programot, a DCF77 jel dekódolásánál a szintek idejét méri. A Wand órához én is hasonló eljárást készítettem, az sem dekódol. A probléma az, hogy a zavar jelek miatt lényegesen kisebb értékeket hoz ki a program a szintek idejére. Sokkal messzebb vagyunk Frankfurttól, mint az eredeti fejlesztő. Kiírattam az egyes szintek idejét és 10-50ms -os időket is kaptam. A zavaró jeleket - valahogy - ki kellene szűrni: analog szűrővel vagy a digitális szűréssel a pic programjában. Sajnos nagyon nehéz a mérés, mert az adatokat az RS232-n lehet vizsgálni. A kiértékeléshez számítógép kell, ami zavarja a vételt... Szia.
Köszi , megpróbálom csökkenteni a zavaró tényezőket, azt hittem ha látom hogy van jel a szkópon az már elég. Nézek egy - itt már kipróbált - kapcsolást (másodperc kijelzés nélkül) és avval belövöm a vevő helyét. Üdv!
Módosítottam a kapcsolást, elhagytam az anódokat meghajtó a 4028-as ic-t és a Vicsys által használt pic programmal beindítottam az órát. Vagy 10 percnyi működés után szinkronizált a dcf jelre(legalább mostmár tudom, hogy a dcf modul működik). Ma reggel már nem tudtam kivárni, hogy legyen időszinkron. Kérdésem lenne, milyen messzire lehet a dcf-vevőt elvezetni az órátol és milyen kábellel (utp?), hogy egy biztosabb vételi pontot találjak?
Szia
Úgy emlékszem 1.5m-es kábellal még ment simán. Monitor, mobiltelefon és kapcsoló üzemű táp ne legyen a közelében, mert az zavarhatja. Nekem jó vételi körülmények között min. 1,5perc max 3 perc kellett a szinkronhoz. Valaki már írta, hogy neki csak hajnalban szinkronizál naponta 1x.
Szia! Fura madár ez a DCF 15 cm-rel odébb tettem az antennát, most jól szinkronizál
. Nézegettem a te általad használt pic progit, meg az Uwe honlapján lévőt. Látom kicsit más frekin mennek, egyéb módosítást is kellett rajta végezned, hogy jól működjön? Üdv!
Sziasztok!
Egy kérdés. Építettem egy nixie órát csak az a baj, hogy bevillannak olyan számok is amik éppen nem mennek. mi lehet a baj? mindent megnéztem már. tranyák, időzítés. valami árnyékolási baj lehet? köszi!
Szia! Beleástam magam az Uwe féle programba: a dispSec változóban benne van a másodperc számlálása, ha az óra kijelzése helyett (dispStd) ezt a változót íratom ki, az óra szépen mutatja a másodperceket. Sajnos mivel csak 4 biten megy ki az anód vezérlés a 6 csőhöz újra vissza kellett tennem a 4028-at. Az anód vezérléséhez igy 0-5-ig egy számot írok ki a kimenetre, természetesen a felső 4 bit megmarad a számjegyek kódolásához. Ha a scan rutinban a scan0...3 mintájára újra beillesztettem az óra kijelzést (scan4,scan5) összeomlott a kijelzés. Valahol bele van kódolva, hogy csak 4 cső meghajtása fér bele az időzítésbe. A kérdés , hogy hol?
Az előző hozzászólásomhoz, a másodperc és perc kijelzésre módosított valamint az eredeti (thx Uwe) kód :
Szóval persze hogy nem működött ! Meg el is írtam. (a swap-ok helyett movot másoltam át) De ez már jó / 6 nixie cső, dcf, másodperc kijelzés/
Szia! Érdekes dolog a szellemkép kérdése, a Tom025 féle órában az óra tizeseinél halványan dereng a másodperc (ha nagyon nézed...) Az általam összeütött 6 csöves dcf nixie-ben az első kíratott cső szellemképes volt, a második kevésbé (és így tovább) ezért átvariáltam, hogy ott két üres kiíratás legyen. Nem láttam a progit, amit használsz, össze kéne vetni a mások működő progijával...
SZia! A progit most nem tudom elküldeni, mert azt öcsém írta és most épp nincs otthon, de egy fotóm van a hibáról. Plusz a kapcsirajzot is mutatom
Nálam akkor volt "szellemkép" amikor kicseréltem az anódmeghajtó tranyókat optócsatolóra. Gyanítom, hogy nem tudott elég gyorsan és/vagy eléggé lezárni.
Ezen a képen látszik az egymásra íródott számjegyek: Bővebben: Link
Üdv! Gyanus nekem, hogy a kezdő 0 kioltása miatt valamilyen határozatlan helyzetben van az anód vezérlése, ezért látszik halványan a másik szám. Vedd még hozzá, hogy eredetileg a kontraszt növelésére ezek a csövek pirosra vannak festve, vagy piros plexi előtétet használtak. Akkoriban senkit nem érdekelt hogy milyen szép a cső belseje
. A meztelen csöveknél a hiba is jobban látszik. A félvezető sebessége biztos, hogy beleszól a dologba a "fütyülős" simple dcf nixie clock a nagy multiplex freki miatt tiszta szellemkép volt. A Vicsys féle órát 6 csőre bővítve egy 4028 beiktatva szintén sokkal szellemképesebb lett az órám mint amikor csak tranyók és a 74141 volt benne. Én quartzot próbából arányosan kisebbre cseréltem, mert nem tudtam a progit változtatni és csökkent a zavar (mondjuk akkor nem volt jó órának, de legalább láttam valamit)
Annyira nem zavaró de mégis csak egy szám menjen már egyszerre, ne több. Gondoltam árnyékolásra, esetleg nem zárnak a tranyák rendesen.... Ha bekapcsolom az érvénytelen 0 engedélyezést akkor nagyon zavaró, de azt hiszem a fotón is pont úgy van. Na majd valamit csak kitalálok.
Üdv! Kitettem a dcf vevőt az ablakba 2m utp kábel végére, príma a szinkron, bár nem 1-2 perc alatt jön meg. Az Uwe progijába beleírtam, hogy a 30. és 40. másodperc között írja ki a dátumot, plusz betettem egy gombot, amivel durván be lehet állítani a kezdeti idöt (ha lenyomom csak előre tekeri az órát, aztán úgyis besznkronizál majd). Kezd tetszeni....
A szellemkepre reagalnek. Mielott egy csovet begyujtasz, erdemes az elozot kikapcsolni, mert ha pl az egyiken kint van az adat (katod), atvaltasz masik csore (anod), es kirakod az adatot.. Amig az adat kiiras (valtas) megtortenik, az elozo adat egy rovid ideig ervenyesul, es ezen a rovid idok osszeadodnak. Ezert lathato lesz.
En pl. igy irtam : - mindegyik cso kikapcs (anod ki) - n. cso katod bekapcs - n. cso anod bekapcs |
Bejelentkezés
Hirdetés |




(Tényleg valaki nem csinált órát plazmakijelzőből, nekem van egy pár (régi flipperből) az milyen király lenne UDN6118A-val meg UDN7180A-val lehetne hajtani. :violent: VFD órám már van, a mikrosütőből szedtem ki, még a TV-t is be tudja kapcsolni egy órára
) Az eredeti kérdésre visszatérve, találtam dcf-es 6 csöves órát pic-kel, de az 50Hz-ról veszi az alap frekit és be kellene fordítani a C-ben írt progit, esetleg valakinek van erről tapasztalata:
, mondjuk 30 rugóért találtam legolcsóbban (a kicsit ! talán 64x128-as volt), viszont sajna semmi ingyenes progit(kapcsolást) nem találtam hozzá.egy figura csinált egy ilyen kisméretűvel dátumkijelzős órát,nagyon szép, de levette a kódot

Szóval persze hogy nem működött ! Meg el is írtam. (a swap-ok helyett movot másoltam át)
De ez már jó
/ 6 nixie cső, dcf, másodperc kijelzés/ 
. A meztelen csöveknél a hiba is jobban látszik. A félvezető sebessége biztos, hogy beleszól a dologba a "fütyülős" simple dcf nixie clock a nagy multiplex freki miatt tiszta szellemkép volt. A Vicsys féle órát 6 csőre bővítve egy 4028 beiktatva szintén sokkal szellemképesebb lett az órám mint amikor csak tranyók és a 74141 volt benne. Én quartzot próbából arányosan kisebbre cseréltem, mert nem tudtam a progit változtatni és csökkent a zavar (mondjuk akkor nem volt jó órának, de legalább láttam valamit)





