Fórum témák
» Több friss téma |
Fórum » RIAA korrektor
Témaindító: Ghost Rider, idő: Aug 25, 2006
Szia!
Itt a teljes SM! http://data.hu/get/1817637/marantz_sr4320_ET.pdf.html" target="_blank" rel="nofollow" >Bővebben: Link A teljesség kedvéért4
HFM1-et azért érdemes építeni, mert aki megépíti annak egyben azonnal lesz egy hibátlan MC RIAA-ja is.
Egyszerűen a bemenetet zárjuk rövidre és a második tranzisztor emitterére kell becsatolni egy 3300 mikrós kondival és már szól is MC pick-up ról, nagyjából 12 ohm lesz a lezáró impedancia. Ha zajosnak találjuk a kapcsolást, akkor ebbe a pozícióba forrasszunk be egy BD tranzisztort és a zaj eltűnik...
Nem rossz!
Kíváncsi leszek a szimulációra.
Szia
Az enyém Pioneer 5MC típusú a hangszedőm. Állítólag 2,2mV a kijövő feszültség. Lehet,csak piszkos a pick-up,azért van "monós" hangja. Majd ha lesz porpisztoly kifújkálom. Bár szerintem lehet jobb lenne egy új hangszedő ami MM,azokat jobban kedvelem,sokkal dinamikusabb a hangja és nem adódik össze a két csatorna monová azaz jobb teret ad mint ez az MC.
A legtökéletesebb tűtisztító a nyelved. Emeld meg a hangkart és nyald meg egyszerűen a tűt alulról.
Ha "mono-s" a hangja, ott valami gáz lehet...
Mindegyiknél 20dB körül van csatorna elválasztás. Meggyőződésem, hogy 2-3 dB -es csatorna szétválasztás különbséget észre sem veszel. Sokkal inkább elfedik ezt a hibát az egyéb (torzítás, zaj, stb.) paraméter különbségek. Nem lehet, hogy mono hangszedőd van ? Tényleg: vajon ki, és mi célból vásárol manapság mono hangszedőt, 2-3 db MC hangszedő áráért ?
Honnét ismered ennyire scooby nyelvét ?
Ejjha!
kicsit gusztustalan! De ha így kell,megsteszem
Biztos hogy nem mono a hangszedőm,mert 4 láb jön le róla,tehát sztereó.
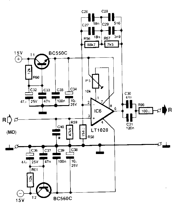
Lehet hogy a riaa-nak van nagy zaja,úgyhogy majd megépítem az LT1028-ast.
hehe, kis csintalan.
Én sem gondoltam komolyan, amint a beszúrt smile-ből is jól látható.
Sok féle lemezem van. Most például egy orosz nyomású "disco" lemezt hallgatok. Az első sercenés után felugrottam, hogy ellenőrizzem a hangszínszabályzók állását. Talán a macska eltekerte... De nem. Ez ilyen. -10 – -15dB hiányzik. Amikor egy eredeti nyomású Yello vagy Bob Marley lemezt hallgatok, akkor ugyan ilyen érzésem van ...csak ellenkező előjellel. Úgy látom, Te komolyan veszed a bekelites Hi-Fi -t. Talán érdemes lenne beszerezni egy mérőlemezt ! Ha összekutyulom a próbálgatásokkal a rendszert, és arra jutok, hogy valamit elkötöttem a nagy igyekezetben, akkor felteszem a mérőlemezt, és mindjárt tisztázódnak az alapvető kérdések : – nem cseréltem-e meg a hangszóró vagy a pick up polaritását? – tűerő, antiskating OK? – áthallás nem romlott-e? – a frekvencia menet változott-e ? Az előző hozzászólásom utolsó mondatát / kérdését komolyan gondoltam. A legolcsóbb is 130 ezer forintnál kezdődik. De minek?
Összekötöttem a korrektort az "erősítőmmel",kicsit lehet túlzásba vittem ezt a mélytelenséget. Most alig van mély.
Szerintem hagyom a fenébe ezt a korrektort,mert nem jutok vele előre. Megépítem az LT1028-at,hátha avval még van remény.
TINA-ban is van oszcilloszkóp,meg is mértem,semmi érdekeset nem láttam.
Találtam még két korrektor rajzot. A Technics ezt az IC-t használta a korektoraiban.
Csemegézni jó lesz.... Még nem teszteltem a korrekciós hálózatot, de az IC adatlapján találtam ezeket az RIAA rajzokat. Ha valakit érdekel akkor ide felrakom az IC adatlapját.
Új tű került a lemezjátszómba és bátorkodtam készíteni egy felvételt a HFM-1-el.
Szia!
Ez nagyon jó! Iszonyatosan jó hangja van!!
Nem rossz!
Még nem néztem az adatlapját az IC-nek,de mingyárt megnézem. Én megtaláltam a Belcanto riaa nyákját,le is másoltam. Kapcsolom a nyákot és a hozzá tartozó kapcsolást.
A görbe nem mindig mond igazat,szinte SOHA!
Annyira nagy dolgot a te korrektorod sem produkált!
Kapcsoltam a dolgait!
Én még sohasem hallottam a HFM1 MC átalakításáról. Te ezeket honnan veszed?
Nekem bejön a hangja!
Így új tűvel még szebb.
Köszi!
![]() Hát igen a régi már megjárta a hadak útját. Valamikor még a kilencvenes évek elején vehettem.
Összeállítottam a HIRAGA-t egy meghallgatás erejéig.Igaz még csak fél táppal működik mert nincs 470Volt-om csak 300, de így is hallgatható igaz az árnyékolás hiánya hallatszik egy kicsit.Csináltam hangmintát a mostani állapotáról.Meg képet a tesztüzemről.Eddig szépen működik.A hangja is barátságos a füleimnek.Most valamiért a Shure nem szólt olyan szépen inkább valahogy a Technics-et hallottam jobbnak.
Idézet: Ez mind a Korrektor ? Hoppá én meg azt hittem hogy amit építettem az nagyon nagy ! Most már látom hogy ilyen korrektort biztosan nem fogok építeni . Csövesből 1 - is elég . Jó sokat melóztál vele gondolom , jöhet a dobozolás ! „Összeállítottam a HIRAGA-t egy meghallgatás erejéig”
Ekkorára sikerült.
Inkább a táp a nagy, ki akartam próbálni az eredetit ezért lett ekkora.Így dobozolás nélkül ráadásként jön valami angol rádió is. A dobozolás még egy nagy kérdés
Az english rábigót majd kiűzöd ?
Idézet: Ez meg semmi egy - két órai meló ! „A dobozolás még egy nagy kérdés”
"Ez meg semmi egy - két órai meló"
Hát nálam jó ha kész lesz karácsonyra
Komoly elhivatottság a hiraga projekt. Gratulálok. Sajnos én vegyes félelemmel nézem, ennyi energiám sohasem lesz. A lemezjátszó fotó meg óriási
|
Bejelentkezés
Hirdetés |















