Fórum témák
» Több friss téma |
Fórum » Csöves erősítő készítése
Ne feledd betartani a fórum viselkedési szabályait, és a topik megmaradásának feltételeit. [link]
A téma átmenetileg fagyasztva lett, hozzászólni nem tudsz!
Sziasztok!
Épített már valaki 6H13C-vel már erősítőt? ...olyan szép cső
A fűtéslözepelés jó úgy is, mert nincsenek olyan nagy feszültségek, az SRPP-t csak úgy tudnád máshova közepelni, ha külön fűtőtekercsről menne. Nem hiszem, hogy azzal lenne gond.
Köszi, minden megoldás érdekel csak ne búgna már, mert szép hangja van.Nyákosnak indult de már közelebb állok a légszerelthez,akkor guggolok fölötte még egy napot.
Anny baj legyen, majd akkor hétvégén otthon megnézem. Azért köszönöm !
CHZ ép most épít vele : Én Dénes Péterrel beszéltem egyszer, és Ő is épített vele nem is egyet. Azt mondta nagyon jó hangú cső !
EcoPityu SE-t épített vele ( 6AS7-tel, az az amcsi megfelelője ) az elektroncso.hu-n is fenn van
Az hogy lehetséges, hogy a GU50-nél 350V-os tápfesz mellett 1K-s segédrács ellenállással kb semmit nem csökken a segédrácsfesz? Magyarul hiába van ott az ellenállás akkor is 350V körüli a segédrácsfesz. Az adatlapból az derül ki, hogy max 250v lehetne ez a feszültség. A másik meg, hogy az előfeszhez a próbák során kiderült, hogy 330 Oh-os katódellenállás kell, hogy kb 30V essen rajta, így kb 90mA-es legyen a katódáram. Most méregettem és 50V esik az ellenálláson, ami közel van az anód max disszipációjához. Csinálni kellene valahogy negatív előfeszt és beállítani normálisan, mert ez így nem jó. Trafóra már sajnos nem igazán férne semmi, meg már sikerült megszüntetnem a zörgést is, így nem szívesen szedném szét.
Ha szkóppal közvetlen a táp kimenetét néztem (nem emlékszem milyen méréshatárba délelőtt volt) nem láttam brummot.A jelölt pontokon pedig jól kivehetően látszott, tehát nagyságrendekkel nagyobb ott . Ettől még lehet szűretlen a táp?
Ma végre sikerült elindítanom a 3000W-os toroidot, és 10A -es kismegszakító kibírta
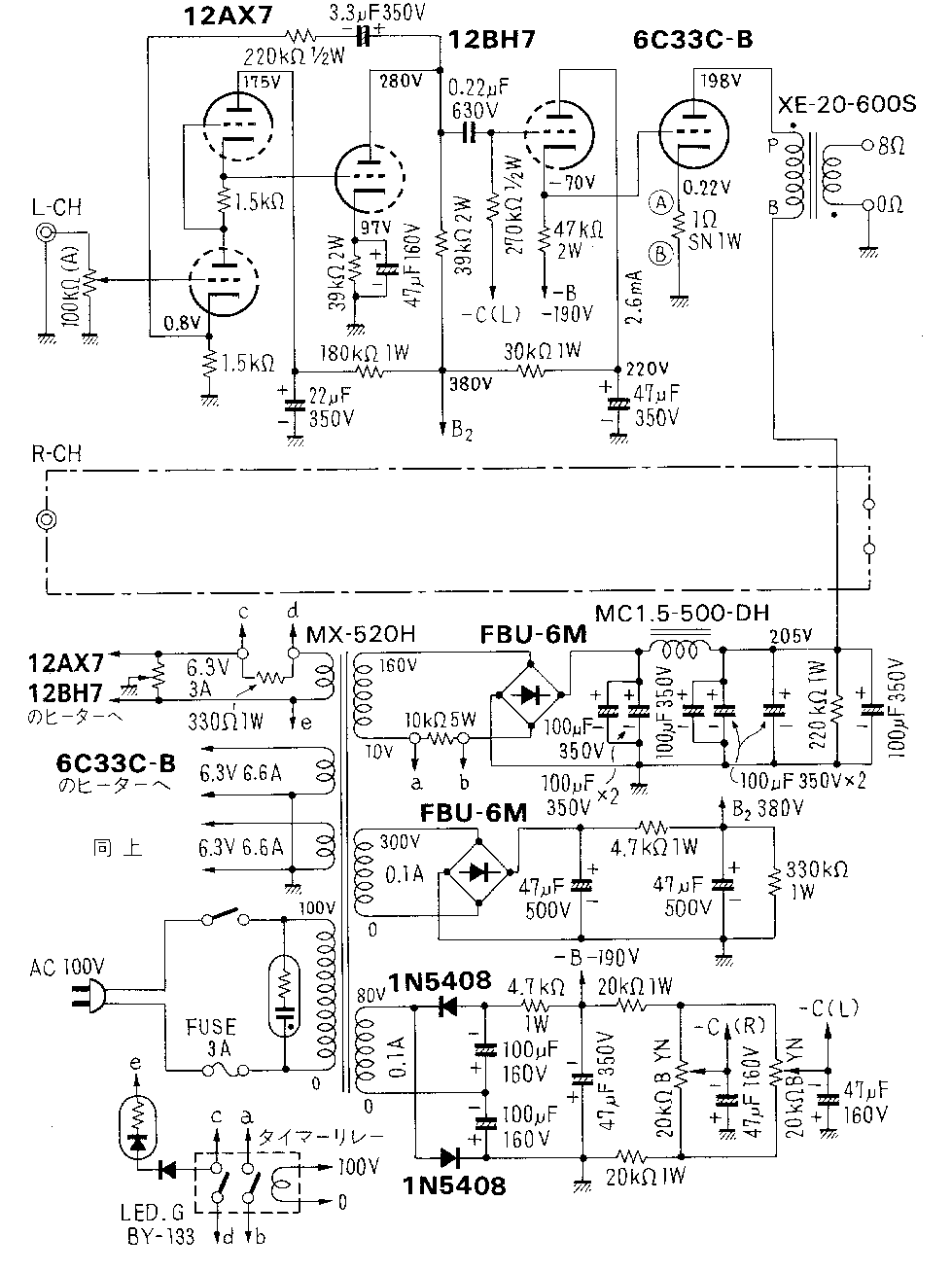
![]() Próbaképpen tekertem rá 5 menetet, és megmértem a feszültséget, ami 4,3V ra jött ki. Ebből az egy menetre jutó feszültségnek 0,86V jött ki, így már lehet elkezdeni tekerni, és meg sem állni 1627 menetig , és 1400V-ig Ami kb számításaim szerint 480 méter huzal lesz![]() 3 db tekercset kell rá készítenem: 1400V váltó a GU-k anódfeszéhez. 420V váltó a GU-k segédrácsnak, amiből megcsapolással 330V váltó az előfokoknak, 90V váltó a 6C33C-k anódjának és ezenkívül még egy 220V váltó a 6C33C katódoldali negatív feszültségéhez. És lesz egy harmadik tekercs az előfeszültséghez kb 140V váltó. Huzal már megvan, jövőhét végén elkészül a trafó(cska)
Akkor viszont az előfok szed össze valahol valamit és ott már az erősített jelet látod, ami ki is kerül a végfokra és onnan a hangfalra is. Szóval a bemenet környékén kellene szétnézni.
köszi
.. a börzén vettem egyet, mert megtetszett...de akkor vennem kell hozzá mégegyet
annyi baj legyen, majd hétvégén otthon megnézem. Azért köszönöm !
a börzén vettem egyet Ha a mostani nagy börzén vetted akkor te vitted el a testvérét annak amit sikerült vennem 2 darabot a 6H13C - ből . Fejhallgató erősítőnek szánom őket
végülis ez is erősítő
Ahogy Kócos írta, mi CHZ-val egy kapcsolást fogunk megépíteni (SRPP), ami aztán át lehet alakítani PP-re, de két triódát párhuzamosan kötve.
a 6H13C-ben is és a 6AS7-ben is két trióda van. ~4W-ra tudsz építeni egy csőből sztereó erősítőt.
Fűtéseket így kellene bekötni .
Brummot a szkóp AC mV-os állásában nézted ? Csak úgy van értelme ..
Ha a 39 K másik végén nincs brumm, akkor a táp szűrése jó, de itt már kicsi brumm is problémás, mert a visszacsatoláson keresztül rákerül az SRPP bemenetére és utána felerősítve továbbjut.
Zoli lerajzolta, hogyan kell az SRPP fűtését kiközepelni, én csak akkor javaslom, ha külön fűtőtekercsen van a 12BH7-től, mert annak másik katódja -70 V-on van, igy ott a fűtés-katód feszültség -140 V -ra kerül így, vagy csak 30 V körülre kell közepelni, tehát R3-nak csak 15 K legyen akkor. Ha a kapcsoláson feltüntetett feszültségek közelében vagy, akkor elvileg egyik csőnél sem kritikus a katód-fűtés közötti feszültség , tehát az miatt jó a testre is közepelni, de ha mégis a fűtésen kerül be a brumm, akkor a felemelés segíthet.
Csak nem csövekből épült,ilyen zártszelvényekből nem az igazi.
Köszönöm a segitségeket mindenki részéről.Változás történt,ha a bemenetről lekötök minden vezetéket,és a készülék földjét rákötöm a sasszira,teljes csend, csak nagyon közel hallatszik némi zaj,de ez gondolom rendben van. Most hogyan tovább? Ha csak kézzel is közelitek a bemenethez,elkezd hangoskodni megint.
Mongjuk, ha 20 msec-os a brummod, akkor nemigen lehet a 380 V szűretlenségéből, mert greatz után 100 Hz-s brumm van, nem 50 Hz.
Pedig árnyékolt kábel volt benne.próbálgassam a vezeték árnyékolását a nyák földjén máshova kötni? Hátha lesz olyan pont ami a földnél is földebb?
Vannak egészen pocsék árnyékolt kábelek is. RCA-t elszigetelve szereld a sasszitól és a másik bemenettől, a testjéről menjen a harisnya az 1,5 K katódellenállás testjére, ugyanide jön a 220 K rácslevezető testje is és a hangrőszabályozó poti testje is. A közepe a poti másik végére, a poti közepe a 220 K rácslevezető másik végére (ami a rács kivezetésen, vagy ahhoz nagyon közel van) árnyékolt vezetékkel, ennek árnyékolása szintén a 1,5 K testjén legyen.
Ha van rendes mikrofon vezetéked, akkor a benne lévő két ér kötődik így, a harisnyája pedig a 22 µF 350 V puffer negatív (test) pontjára.
Köszönöm,átépitem igy.Még azt kérdezném, most a negativ tápom -140V, nem lehetne ebben a fokozatban valamit változtatni, hogy tudjak nagyobb anódfeszt használni, a trafóm alkalmas lenne rá . Max poti állásnál vagyok az előfesszel, kb.200V az anódfesz, és 240mA az anódáram kevesebbet már nemtudok állitani. A trafóm tudna 220V-ot.
Elfogadhato megoldas, hogy a futest kulon trafora teszem, tekerem? Igy kissebb trafo vasmag is elegendo lenne az anodnak.
Persze, az EL84 orosz megfelelője,ha jól tudom még kicsit "izmosabb" is.
6P14P. Igen, lehet vele mit kezdeni, pl. elküldeni nekem!
Erősítőt, mint Máté írta, az EL84 Ruszki megfelelője. Igen, fűthetsz külön trafóval, talán jobb is, bár ebben nem vagyok biztos.
elfogadható, de hangszererősítőnél nem szabad figyelmen kívül hagyni, hogy ez jelentős többletsúlyt jelenthet ! Hifinél én többször is használtam már külön trafót, ott nem gond a súly
Jah! Jó kis cső , "steril" hanggal ! nem színez annyira, de hamarabb torzít, mint a 6V6/6L6 és társai, de nem annyira, mint az EL84
két db max 17 W körül muszikál, pl VOX AC10, 15, Marshall "18 Wattos", Fender Blues Jr. 4 db az olyan 35 W-ot tud pl VOX AC 30, Peavey Classic 50 (itt kicsit túlzás az 50 W) |
Bejelentkezés
Hirdetés |




végülis ez is erősítő


