Fórum témák
» Több friss téma |
Fórum » Csöves erősítő készítése
Ne feledd betartani a fórum viselkedési szabályait, és a topik megmaradásának feltételeit. [link]
A téma átmenetileg fagyasztva lett, hozzászólni nem tudsz!
Értem. Valami ilyesmire számítottam sajnos. Azért köszönöm.
Doncso
Pont tegnap nézelődtem a vaterán, hogy mit tudnék kukázni folytónak. És én is a mikró trafókat néztem. Sajnos az induktivitásukról fogalmam sincsen. Nincs esetleg tipped rá? Nincs induktivitás mérőm. Tudom hogy induktivitás mérő nélkül is ki lehet mérni, ha más nem lesz akkor megpróbálom.
Ha olyan nagyméretű fojtó kell, van M102 és M85 LÉGRÉSES, szilíciumos vasam csévével. Érd privát.
Mint minden munkád ez is igényesen szépen van elkészítve.A hangjával sem lehet probléma.Azért kérdeztem, mert van többféle EL84se kapcsolásom, és mint írtam,most csinálom Én is a projektet.Szeretnék többféle kapcsolást megépíteni.Ezek közül fogom a hangzásilag a számomra legmegfelelőbbet kiválasztani,és véglegesíteni.
HGY!
Igértél két kapcsolást PCL82 hajtással...
Nekem is ígértél az EAG AE-782/A kimenőkhöz 6L6-os kapcsolást. A szekundereket párhuzamosan kötöttem, és a 15 Ohm helyett most 4 Ohmos. Jelenthet ez problémát, ha átalakítanám 6L6-ra a jelenlegi EL84PP véget? Egy kicsit felül lenne illesztve a 6L6 nem? Mert az EL84PP-nek 8K-s Raa kell, a katalógus szerint, és a 6L6PP-nek pedig 5K.
Az egyik. 10 W, 2,4-4,8 Kohm illesztés kell neki.
Ezt a kapcsolást ugyan ismerem, de érdekelne a cikk, csak kérlek vedd ki az autómatikus méretezést, mert ilyen piciben el nem tudom olvasni...
Ahogy azt ígértem megírom az eredményeket az PCL86os átépítése után. Ezt a kapcsolást valósítottam meg, amit Luki linkelt be. A minősége fényévekkel jobb ahhoz képest, amit először építettem. Dinamikus hangú, jellegzetesen csöves, nekem tetszik. A magasokra se panaszkodok, pedig csak egy tv hangkimenőt kapott (igaz a nagyobb fajtákból valót). Később lehet rászánom magam, hogy tekerjek kettő darab rendes kimenőt valami SM magból, mert úgy gondolom hogy megéri foglalkozni vele, a hangjában meghálálja a kis pcl. Még egyszer köszönöm mindenkinek a segítséget!
A másik. Ha sok az 50 W, 1 meghajtócső + 2 végcső, ez 25 W-ot jelent 4 K illesztéssel. Ha 12 W elég akkor 1 meghajtó+1 végcső
Ezt a kapcsolást meg Bonavolta oldalán láttam, félelmetes, viszont itt is nagyon szeretném látni rendesen az egész oldalt, mert ott nincs hozzá semmi leírás.
Próbáld meg így: Méretezés: Ne méretezz (képek automatikus méretezése)
Akkor a második úrja
Teszteltem a pacsirta hálózati trafót, hogy jó lesz-e a sztereó EL84 SE-nek. Egyenirányítónak EZ81-et kapott. 2db 12W anóddisszipációra beállított EL84-et tettem rá. A tápfeszültség 265V-ra állt be. EL84-ek fűtőfesze terhelten 6,2V. EZ fűtőfesze 6,5V. 1 óra után a trafó vasa langyos, a tekercs egy kicsivel melegebb volt. Jó kis cucc ez!
Érdekes, hogy gyári PP-ból csinál SE trafót, és csak fél primert használ. De inkádd érdemes hozzá gyártani megfelelőt.
Az első teljes cikke:http://www.tubetown.de/info/sed-technotes/docs/technoteNo33.html
Gery78: 6L6 holnap
Nagyon szépen köszönöm, így már tökéletes! Valamelyiket hallottad szólni, mi a véleményed róluk?
Paravicini v. Danielak? (A Mesterek zöld utat engedtek egy jövőbeni megvalósításhoz, csak kérdés melyiknek álljak neki?!)
Ekkora légréses SE trafót már nem lenne egyszerű összehozni... Meg aztán egyszer már lebeszéltek itt a fórumon a hozzáértők a végcsövek (főleg triódák) párhuzamos kötéséről.
Behoztam a munkahelyemre a két darab EZ81-et. Tungsram-Dobozos-új vagy magyarul NOS
mindkettő.Ha erre jársz...
Köszi Barna! Akkor legalább lesz tartalék mert 1db EZ81-et találtam. Képzeld el, hogy német szöveg van a Tungsram dobozon. Nem tudom mikor tudok érte menni.
Gratulálok, örülök hogy jó lett a cucc.
Jó kis kapcsolás,Én is megépitettem. Jobb kimenővel még jobb lenne,ha van egy pár SM65-öd, vagy nagyobb vasad, megérne egy tekercselést,meg egy kis plusz munkát.
Képzeld a két darab börzés zsír PCL86-nak a dobozára (amit tulajdonképpen te túrtál nekem) az volt írva hogy gyenge meg búg, pontosabban az egyik dobozára aminek nem egyezett a srűorszáma a másiknak meg a dobozába tett papirra a cső sorszámával ellátva na ez egyezett is. Na mondom kapzsi voltál Barna de legalább csak 200 forintot buktál. Bedugtam őket az erősítőbe ahol ugye közel ideális körülményeket igyekszik biztosítani az ember a csövek műköséséhez és csodásan zenélt mindkettő. Hamar kb 20 másodperc alatt beállt a munkapont (nekem a késleltetés csak 15) és ott is maradt, nagy hangerőn sem hallottam hogy torzított volna. Kb fél órát járattam de csak nem akart a kukába kerülni egyik sem :yes:
Sziasztok
A börzén vettem a képen látható kimenőt, de 2 szekundere is van. Kimértem az ellenállásaikat, eléggé hasonlóak. A fekete és a fehér közé kötöttem be a hangfalat, jól szól így. Talán 2 4Ohm-os szekunderrel rendelkezik és fehér-piros közé lehetne 8 Ohmos hangfalat bekötni? A műszerem eléggé pontatlan, mert a jobb oldali értéknek a két másik összegének kellene lennie.
Csak mértem PL509 SE-t.
A Paravicini kicsit bonyolultabb, de jó. Viszont a kompenzációk (van benne bőven) valószinűleg az eredeti gyári kimenőhöz méretezettek. A DC csatolt (Danielak) sokkal szimpatikusabb, egyszerűbb, kisebb impedanciájú kimenő trafót igényel-csakhogy van benne egy kis pozitív! visszacsatolás. No itt legyél okos. Amúgy a fenti 3 "enhanced trióda" Mellesleg az RT évkönyvben lében lévő PL 509 13W-os kis átalakítással akár jobb is lehet. Az tiszta triódának van kapcsolva. Csak nehezebb meghajtani. Csodák nincsenek
Csodára nem vágyok, csak csodálatos hangra
Mindet nem tudom megépíteni (már csak a tápok különbözősége miatt sem), ezért keresem a legjobb (ill. mások által legjobbnak tartott) kapcsolást.
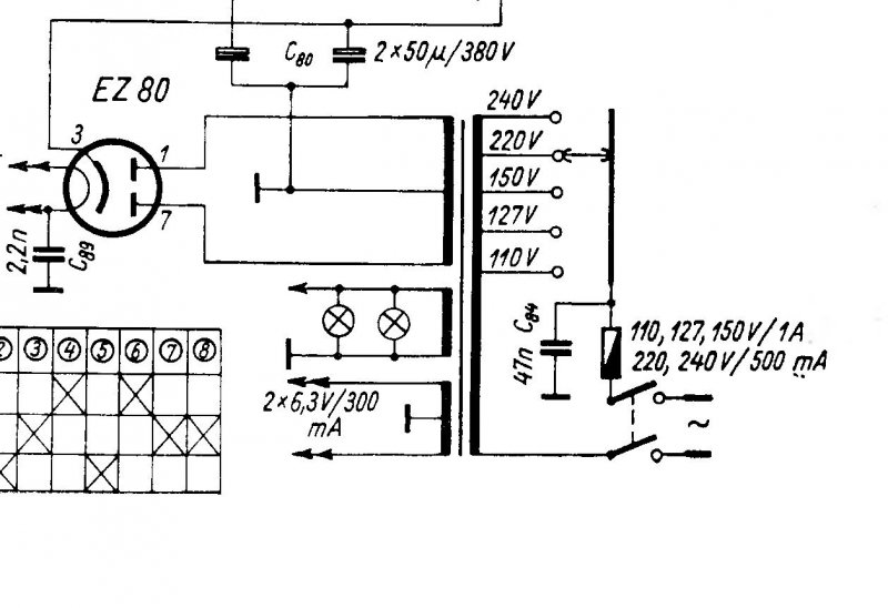
Pacsirtánál az EZ-nek eredetileg nem volt külön fűtőtekercse hanem a többi csővel együtt volt? Én most az izzólámpák helyére kötöttem hogy külön legyen és a katódját összekötöttem a fűtéssel. Az újabb (nem pacsirta) rádiókban is így volt már. Ez így jobb?
Csöves anódkésleltetést szeretnék tenni a GU-50 II-em tápjába. A hálózati trafóm 320-0-320 szimmetrikus.
Az 5U4S csövön úgy kb 20V esik. Szóval a 320V-om nagyjából meglenne utána is. Egyutas egyenirányításon gondolkodom még a csöves késleltetés mellé, állítólag jót tesz a hangnak. Van ebben realitás? Vagy Graetz híddal asszimetrikusból megcsinálni az anódfeszt ugyanolyan jó? Valamelyik esetben el lehet hagyni a fojtót a tápból (vagy akár a végfokozatból)? Elnézést a sok kérdésért, csak nem szeretném teljes mértékben az eredeti kapcsolást használni, ha lehet kicsit javítani rajta.
Én egy SE gitárerősítőbe építettem be .. zárlatos lett, fortyogott.... volt egy másik, betettem azt ... Most jó .... még ...
Az EAR859 hálózati trafójának pontosan jó az APX 100 hálózatija. A feszültségek, leágazások teljesen ugyanazok. De akkor csak PL509/519 lehet a végcső a fűtőfesz miatt. De ez inkább ELŐNY az orosszal szemben.
Hátrány, mint említettem hogy 500 V tápfeszhez kb 5K-s kimenő kell. És miért járassunk egy nem ilyen üzemódra való kisimpedanciás, nagyáramú csövet 500V-on? Inkább kísérletezzél, alapkapcsolást tudok adni 509SE-hez. |
Bejelentkezés
Hirdetés |









