Fórum témák
» Több friss téma |
Fórum » Spektrum-analizátor
Témaindító: (Felhasználó 518), idő: Okt 26, 2005
Témakörök:
Sziasztok!
Máma méregettem egy kicsit sávszűrőn és észre vettem hogy a tl074 ek kivezetésein csak 0,02 Vot mértem. Nem lehet hogy ezek az IC k rosszak?
Szereztem új ICket de nem lett jó. Bekapcsoláskor felvillan pár led aztán semmi. A ledeken folyamatosan sor 3,05 V oszlop 0,5 V van. Ha a 7660 ic lábaihoz hozzá érek felvillannak és a fesz leesik a ledeken kb 2,2 és 0.3 V ra. sávszűrőknél most is csak 0,01-0,02 V van. Már nem tudom hogy mire gyanakodjak. Senkinek sincs valami ötlete??
Kíváncsiság miatt mivel már nem tudom hogy mi lehet a baj egy régi tl074 es IC beleraktam fordítva hátha az a baj. Bekapcsolás után égve maradtak a ledek de az IC hamar felmelegedett.A c35 ös kondi a képeken fordítva van a kapcs rajzhoz képest azt is megfordítottam de semmi. Még mindig senkinek semmi ötlete??
Legyen szíves valaki segítsen mert egyedül nem jövök rá a probléma okára.
Valaki akinek bármi ötlete van kérem ossza meg velem mert már nagyon elkenődtem hogy senki nem akar v. nem tud segíteni, sajnos egyedül nem tudok előrébb jutni. Annyira nem vagyok jártas az ügyben, a tl074 esek kivezetésein a 0,02 V az jó érték v. kevés?
A tl074 esek 11es és 4 es lábaik közt 8,94 V ot mértem. Ha a multi egyik vezetékét a GNDhez teszem a másikkal hozzá érek a 7660 os 7es lábához világítanak a ledek és 0,75 V ot mértem.
Csak telefonnal tudok sajnos. Szkópon az nincs csak multim. Megpróbálok szép képeket csinálni és felteszem.
Talán egy fokkal jobbak ezek.
Hát ebből nem látni semmit. Szkóp nélkül nem tudok sajnos segíteni, de ha végképp nem megy elküldheted postán és megjavítom neked.
Helló mindenkinek. Nem tud valaki egy kisebb 5x5-ös spektrum analizátor kapcsolást? Vagy esetleg egy 10x10est "lebutítani" 5x5ösre? Az Attila86 által tervezett kapcsolás tetszik, csak túl nagy meg még nem csináltam kétoldalas nyákot. Köszönöm.
hali. 6x5 led-est tudok neked adni. Én a bbs féle alapkacsolást használtam fel. Külön ic-vel működnek a kivezérlésjelzők. Nem multiplexes üzemmódról van szó. Kicsit költségesebb, de egyszerűbb. Legalább is nekem. Üdv.: András
Az Attila86-félét úgy tudod "butítani", hogy nem az adott LEDsor-meghajtót használod, hanem egy 5 LED-est, és a multiplexert szétszeded, azt hiszem, pont 2 félre lehet bontani… A sávszűrőkből pedig azokat hagyod meg, amik "közölnek", tehát minden másodikat.
Szerk.: LM3914/5 helyett az 5LEDes meghajtó, ami szerintem nagyon jó és olcsó: AN6884
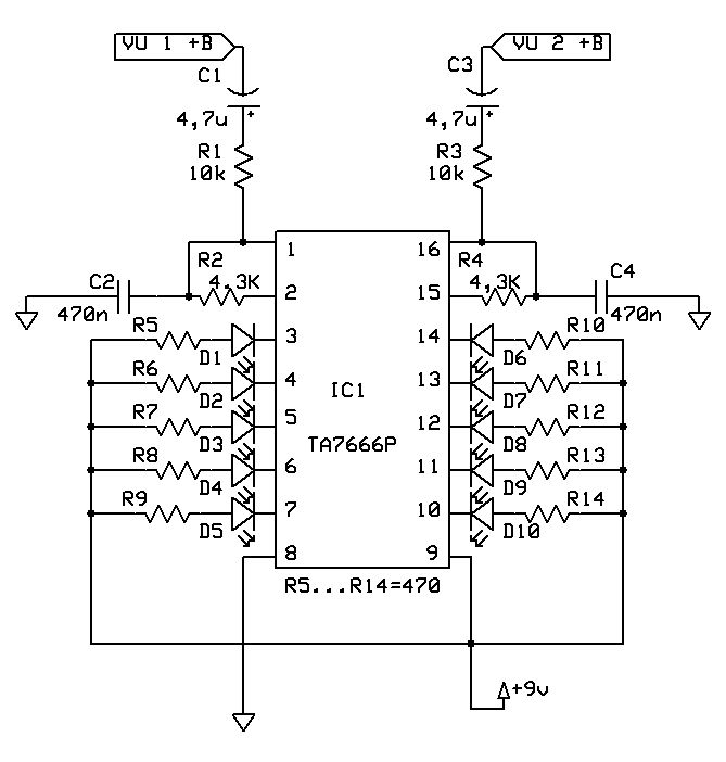
Helló. Találtam egyet a BSS-en Bővebben: Link de nekem előerősítő után lenne, úgyhogy gondolom nem kell megépíteni az előerősítő részét. Kivez.jelzőt meg TA7666P IC-kel valósítanám meg. De az nagy gond lenne ha a TL074 helyett LM324-et használnék? Nem kell neki +- 12V, aztán nem kellene annyit "vesződni" a táppal. Köszönöm
Ez annyira tökmindegy, csak az adott elem a dolgát végezze a helyén
Mindegy a LEDsor-meghajtó is, és a műveleti IC típusa se szent írás…
Kösz szépen
Nekiállok össze"dobom" a kapcsolást, meg egy nyákot is tervezek, aztán már csak az anyagiakon múlik a megvalósítás. Még egyszer köszi az útbaigazítást!
Szívesen. SMD-re tervezném, ha nem jelent technikai gondot, bár ez még nem lesz túl hatalmas. Csak ahhoz egyszerűbb alkatrészt bontani
![]() (nem úgy, mint a 400LED-esem, ami csak fél-SMD, de hatalmas… nem baj, ilyen lett)
Áhh... én meg az SMD... Majd talán akkor ha elkészül a forr.álomásom. Mondjuk nekem csak 2x25ös lesz, de azért az is jó kis ujjgyakorlat beforrasztgatni. Majd lesz még alá oldalanként egy-egy öt ledes kivez.jelző.
Ja, ha valamit építeni kell forrasztási gyakorlat gyanánt, egy spektrum-analizátor nagyon jó ötlet erre
Nyáktervezés se a legegyszerűbb. Főleg hogy nem csináltam (vasaltam) még két oldalas nyákot. Majd ha kész lesz a terv leellenőriznéd? Bár ez inkább csak a holnapi nap folyamán lesz.
Lehetséges, én a néhány oldallal ezelőtt (is) felpakolt PDF anyagból építettem az enyémet, ott is van egy 5LED-es verzió.
Kösz, megtaláltam. A kivezérlésjelző az adatlapban lévő alapkapcsolás lesz. Hát most már majdnem kész a kapcs.rajz a sávszűrőhöz, lassan nekiesek a nyáknak.
Helló. Csatoltam a kivezérlés jelző nyákját meg a szávszűrő(k) kapcs.rajzát. Le tudnád ellenőrizni őket? Nagyon megköszönném
Eddig jutottam az éjjel. De a sávszűrő nyákja kifogott rajtam. Még próbálkozok vele, de lehet hogy megkérek valakit hogy csináljon egy nyákot hozzá.
Nekem nem nyitja meg
Dolgozom az ügyön
Helló, akkor felteszem .jpg-be. PCB-Express-el csináltam a terveket. Kösz
Igen, ez az alkatrész oldal felőli nézet. Megőrjít a sávszűrő. Szenvedek, de egyre rosszabb lesz a nyák
Nekiesek újra, aztán lesz ami lesz!
Miért, mi benne a durva?
A visszacsatolás alkatrészeit mindjárt az IC mellé tedd, csak a többit lógasd ki jobban, hogy elférjenek közvetlen a kivezetések mellett a tagok… |
Bejelentkezés
Hirdetés |












Mindegy a LEDsor-meghajtó is, és a műveleti IC típusa se szent írás…
Dolgozom az ügyön 


Nekiesek újra, aztán lesz ami lesz! 



