Fórum témák
» Több friss téma |
Mielőtt kérdezel, a következő két dolgot ellenőrizd!
I. A helyes tápfeszültségek megléte.
II. A kimeneten van-e egyenfeszültség.
Élesztés.
Igen, teljesen igaz, amit írsz, sőt. De aki esetleg nem ennyire járatos, azt félrevezeti a BE ellenállás funkciója.
Szia!
Az az ellenállás jelen esetben kis kivezérlésnél linearizálja az erősítő működését. Amikor a nagy tranzisztor csak kevéssé van nyitva, az első tranzisztor emitter áramának egy részét elengedi a kimenet felé, megkerülve a végtranzisztort. A végtranzisztor ilyen esetben csak akkor nyit, ha az első tranzisztor emitterárama elég nagy ahhoz, hogy az ellenálláson akkora feszültség legyen jelen, ami elég a végtranzisztor nyitásához.
Kétségtelen érdekes tervezési szempont. De a végtranyó nincs eleve 20-30 mA-rel nyitva? Ez feltételezi a kb. 0.6 V-os BE feszültséget. Én egyébként azt látom problémának, hogy egy tranzisztort egyszerűbb kinyitni, mint lezárni. Mindegy hogy árammal, vagy feszültséggel vezéreljük.
"A kollektoráram azonnal követi a bázisáram változását" Hát ez elég merész kijelentés. Végtelen határfrekvenciáju tranzisztorokra biztos igaz. De ettől még messze vagyunk. Az a sok lajhár technológus igazán csipkedhetné magát.
Ha nyitva is van a végtranzisztor, közel sincs még a lineáris tartományban, ennek az ellenállásnak köszönhetően viszont a meghajtó tranzisztor már inkább.
A keresztezési torzítás csökkentéséhez pedig elég, hiszen ilyenkor elég kis áramok folynak. A QUAD405-ös erősítőben az A osztályú erősítő egy 47 ohm-os ellenálláson keresztül csatlakozik a kimenetre. Szerk.: Egyébként a másik ok épp az általad említett gyors lezárás.
Logikus a magyarázat, meggyőztél. Eddig ilyesmire nem is gondoltam. Jövök egy pofa sörrel.
Hali!
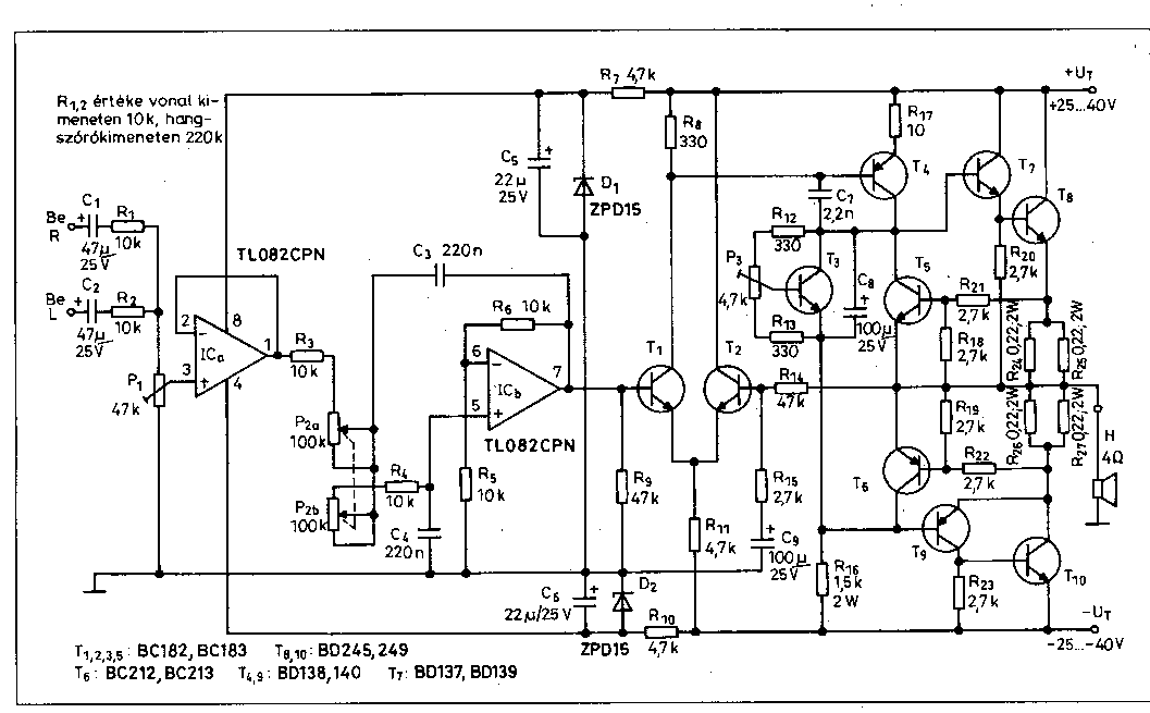
Az egyik barátommal elhatároztuk, hogy építünk egy-egy erősítőt, amolyan ikreket. A választás erre a kapcsolásra esett, de előtte szeretnénk megkérdezni pár audio elvetemültet a kapcsolást illetően. Annyi változtatást eszközölnénk, hogy a végtranzisztorokat védő-ellenállásostól, mindenestül letripláznánk (persze a változott munkapontok miatt más is változik majd). Más fórumokon ezt javasolták a minőség radikális javítása címén. A táplálást kapcsitáppal szeretnénk megoldani, a méret- és súlycsökkentés miatt. Hűtőbordával nem lesz gondunk, lesz min elfűteni a nyugalmi áramot. Ha már valamikor kiveséztétek ezt a kapcsolást, akkor bocsánat, nincs lelki erőm átnyálazni mind a 62 oldalt.A segítséget, véleményeket előre is köszönöm. Üdv: Noja
Hah ... vicces. Tegnap ki lett torolve ez a kerdesed innen mert a JLH topikba is megkerdezted ugyanezt. Ott valaszoltam is ra. Ma megint betetted ide ugy, hogy kitorolted a JLH szot ... no comment.
El kellene donteni mit is akarsz ... Idézet: „Más fórumokon ezt javasolták a minőség radikális javítása címén.” Sokat értenek hozzá. Egyébként a kép neve mindent elárul.
Jó, bocsi fiúk, egyszerűsége miat tetszett meg, tényleg elnézést kérek a zaklatásért...
Ha már erősítőt építünk haverral, szeretnénk normálisat csinálni, és vannak kritériumok, mint pl. galvanikus kimenet, BD vég-tranyók(mert abból kallódik pár a fiókban). De azért kösz a segítséget!
Nem zaklatsz senkit , ha tudunk segitünk !
Idézet: „Ha már erősítőt építünk haverral, szeretnénk normálisat csinálni,” Hát mit jelent nálatok a normális ? Idézet: „pl. galvanikus kimenet, BD vég-tranyók” Ez már fogósabb de nem lehetetlen , erre alkalmas lehet több kapcsolás is .
Sztem hagyd ezt a zaklatas dumat, nem szukseges ...
Ha nincs mas kriterium mint a galvanikus kimenet es a BD vegtranyok akkor ajanlom a 25W Texas kapcsolast. Ez relative egyszeru kapcsolas. Van sajat topikja itt a forumon is. Hasznald a keresot! A topikon belul keresd meg azt a hozzaszolasomat amiben egy kicsit modositott kapcsolast tettem fel errol az erositorol, illetve meresi eredmenyek es egy kep is van az elesztesrol.
Mi az a galvanikus kimenet? Biztos tudom, csak így ilyen megnevezéssel nem. Tán kondis kicsatolás? Vagy pont, hogy közvetlen a tranyóról vagy emitter ellenállásról érkezik a jel? Ez most fogós nekem, mármint a kifejezés.
A galvanikus csatolas az mindig a "femes" osszekotesre utal. Ha kondenzator van a jelutban arrol tudjuk, hogy valojaban nem femes kapcsolatot valosit meg mert a kondi ket fegyverzete kozott szigetelo reteg van. Tehat ugy is fogalmazhatunk, hogy galvanikus csatolasnal van egyenaramu kapcsolat. Ebbol kovetkezoen a galvanikus (vagy egyenaramu) kapcsolatnal nincs kondi a jelutban.
Sziasztok.
Nincs valakinek kapcsolási rajza a Stageline STA-700 tipusú erőlködőhöz?Itt egy link a belsejéről Ez az egyik dolog, amiért írok.A másik meg az, hogy a havernak van ilyen. A problémája az, hogy az egyik csatornán recseg a magas hang. Én láttatlanban azt tanácsoltam neki, hogy a kimenőrészt kell átnézni. Valakinek tapasztalat vele? Köszönöm
Istenem ,de igénytelenül van ez összehányva, látszik, hogy tróger kínai gártmány. Nem ellened irányult, de ez borzasztó, sokkal szebb házi termékeket szoktam látni.
Szia!
Jó helyen fogod meg a dolgot. Az igazi megoldás azonban az lenne, ha el lehetne érni, hogy a végtranyók sohase zárjanak le teljesen. Régebben én ezt úgy próbálgattam, hogy igen kis áramú áramgenerátorokkal tartottam nyitva a végtranyókat a zárási periódusban.
Tudom én, hogy nem ellenem... Én is kérdeztem, hogy így néz ki amit vett, mert nem hittem a szememnek.És amennyibe került, vagy 80ezer volt. Szerintem a feléből meglehetne ugyanezt csinálni és különbül nézne ki.
Én nem vagyok nagy audiós, inkább a dig. technika, de a tanácsom mennyire helytálló. Ha a magas recseg, akkor szerintem a kondival lehet gond a szűrőkörben. Szerintetek?
Vagy lehet, hogy a magas sugárzó kuka közeli állapotban van.
Helló. Nem lehet hogy a ventilátor zavar bele a hangba? Ha jól tudom attól is lehet. De ez csak egy tipp.
Hát így látatlanba nem tudok rá mit mondani, esetleg próbáljátok a csatik illetve a hangfalak felcserélgetésével kizárni a jelforrás, illetve a hangsugárzó hibáját. Ha egyértelmű a hiba, hogy az erősítő a ludas, akkor kellene tovább menni. Egy szkópos vizsgálat sokat mondana.
Hát én is csak látatlanban mondtam rá. Nem áll módomban közelebbről megvizsgálni , csak tanácsot adtam.
Lehet az akár magasabb frekvenciás gerjedés is, ami zavarja a 10kHz-es tartományt , akár egy kondi is okozhatja, vagy elégtelen tápszűrés, ki tudja, ez a rossz ezekbe a tajvani inkábbnemmondom mibe. Ezért lenne jó végigszaladni szkóppal rajta, talán meghatározható lenne a zavarjel frekvenciája és eredete is.
hellosztok van nekem egy Sharp-SX8000H erősitőm deck-el és nem szol az erősitő nme szol itt vannak az adatok nem látok benne semmit ami elfüstölt volna!!
Asztamindenit, egy újabb 1,1kW-os szörnyeteg, csípem az ilyet persze PMPO
. Na viccet félre, ebben egy 2*120w-os STK ic lakik, egy STK4241, van neki a 11-es és 13-as lába, ezt kellene megmérni a GND-hez képest, itt kapja a tápot, kb +-50-70v körüli értéket kellene mérned, ha ez megvan lehet tovább menni.
Üdv minden fórumozónak!
Hajdanában úgy árnyékoltam a kis jelű, kis zajú áramköröket, hogy egy hajlékony réz fóliát vezetékkel a bemenet földjéhez forrasztottam, aztán a rézfóliát nejlonzacskóba csomagoltam, és ezzel a kérdéses áramkört szorosan betakartam, becsomagoltam. Most, mikor az igény újból jelentkezett, se rézfólia, se beszerzési hely. Ha valakinek volna tippje, hogy honnét szerezhetnék ilyen réz fóliát, kérem értesítsen. Nejlonzacskó az van. Előre is ezer köszönet.
Szia!
Én nemrég a Lomexben vettem öntapadós rézfóliát.
Üdv!
a minap kaptam tök ingyen illetve nem teljesen ingyen egy erősítőt(egy régi használt mini hifimbe került). Egy System Fidelity sa-250 es erőlködő lenne nos a gyerek elmondása szerint nem szólt neki. amit nem is csodálok bekapcsolom nem is világit még a kijelző sem gondolom a biztositék miatt. de ki is nyom minden biztositékot. a haverom megpatkolva kipróbálta állitólag nem szólt neki semmit nem csinált. remélem ezzel nem tett benne még nagyobb kárt. nos az lenne a kérdésem hogy jól gondolom e hogy a végfok ment ki csatornánként 2 2 db végtranyó van benne d1047 és b817 a tipusuk nos én nem ismerem ezeket a típusokat be lehet ezt szerezni? vagy esetleg kapcsolási rajz? az ilyesmi jól jönne ha tudtok segítsetek. ja és még vmi érdemes e rá költeni pénzt |
Bejelentkezés
Hirdetés |




Ha már valamikor kiveséztétek ezt a kapcsolást, akkor bocsánat, nincs lelki erőm átnyálazni mind a 62 oldalt.

. Na viccet félre, ebben egy 2*120w-os STK ic lakik, egy STK4241, van neki a 11-es és 13-as lába, ezt kellene megmérni a GND-hez képest, itt kapja a tápot, kb +-50-70v körüli értéket kellene mérned, ha ez megvan lehet tovább menni. 