Fórum témák
» Több friss téma |
Sziasztok!
Lehet valahol kapni szkóphoz raszteres üveg/műanyag lapot a cső elé? Asszem' 10x12cm a méret.
Nyomtass egyet tintasugarasba való fóliára.
Sziasztok!
Nekem lenne egy szép nagy 42 lábas NEC upd299c jelű ic-m, amire nem találtam semmi értelmes adatot, a google nem volt a barátom, s gondoltam itt hátha valaki meg tud dobni valami infóval róla, esetleg egy adatlap is jól jönne. Aki tud segíteni, annak előre is köszönöm.
Szia,
segítséget kérek,egy inverterben - DC12ről - AC230ra - kiégtek (4db) az SJ4836 tpusú, az M szimbólumból következtetve Motorola gyártmányú bipoláris tranyók,sajnos nem találom az adatlapjukat...
HALI!
A segédprogramoknál a kondenzátor értékét kerámiakondenzátorokra érti? Van oylan kondi amin 4 szám van és a legtöbben nincs is betűjelzés! Köszi!
Szerintem mindegyikre amelyiken csak számok és betük vannak. Én láttam már fólia és kerámiát is amelyen csak számok és betük voltak. A betüjelzés pedig csak a tűrését jelenti. Itt vannak a betüjelzések.
Köszi! Nem tudtam van kondenzátoros rész is!
Megint bajban vagyok!
Rádiónak a paneljéből akarok kiszedni tranzisztort csak vagy nincs semmi ráírva vagy egy hosszú számsor! Ebből honnan tudjam hogy NpN vagy PnP?
Meghatározod a műszered segítségével. Diódaméréssel.Alkatrészek vizsgálata
Hello.Van egy philip hifim.Egy STK470 Ic a végfok benne.Viszont a borán van még egy POWER MODULE nevű kb akkor alkatrész mint az STK.Az mi lehet és mire való?
Sziasztok! Van egy három lábu alkatrészem ami ugy néz ki mint a kondenzátor és nem tudom hogy mi az! Ki kellene cserélnem(széttort). Nem tudom leolvasni az adatait. Elore is kossz!
Köszi akkor az a végfoknak a tápját adja.
Segítségeteket kérném.
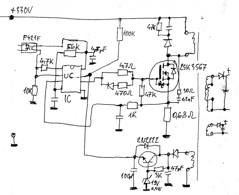
Megkértek hogy javítsak meg egy Hitachi UC18YG típusú akkutöltőt (7,2V---18V Ni-Cd 2,6A). A gond az hogy a 2SK3567 teljesen zárlatos lett és visszament az IC-re a nagyfesz minek hatására lerobbant a teteje és a feliratból csak ennyi látszik „UC ” a többi sajnos eltűnt. Lerajzoltam a kapcsolás primer oldalát, aminek letudtam olvasni az értékét azt fel is tüntettem. Kérdésem az lenne vajon milyen IC kell a kapcsolásba. Gyanítom hogy az UC38XX (42,43,44,45) valamelyike lesz de melyik. Bár ezzel az IC-vel még nem láttam optos visszacsatolású kapcsolást. Üdv:. BeLac
Hali!. Egy ellenállás, aminek a színe: Fehér fekete fehér Narancs Barna, 909Kohm. ... Fura, nem találkoztam még ilyen értékkel, komolyan 909 kiló?
Komolyan. Az 1%-tűrésű sorozatban megtalálható.
E48 sorozat.
Sziasztok!
Nem vagyok tisztában a trisztorok feladatával,működésével és a FET tranzisztorok feladatával és működésével.Nem tudom,hogy miben különböznek a tranzisztoroktól és ,hogy mit csinállnak. Köszi!
Elolvastam a cikket,de sajnos még mindig nem értem,hogy mi a külömbség a tirisztor és a tranzisztor között.Én eddig azt hittem,hogy a tranzisztor is ugyan azt csinálja.
A tirisztor az olyan, mint egy kapcsoló. A tranzisztor is lehet kapcsoló, de leginkább egy változtatható ellenállásra hasonlít.
Hát, erről még nem hallottam.Én azt hittem,hogy a tranzisztor (NPN) át engedi az áramot ha a bázis lábára áram folyik.Ha viszont (PNP),az akkor engedi át az áramot ha a bázis lábára negatív jelet adunk(nem adunk rá áramot).
És, hol itt az ellentmondás? Nem olyan, mint egy ellenállás, aminek változtatni tudjuk az értékét? Vezérelni tudjuk? A Tranzisztor neve is erre utal: transzfer-rezisztor=tranzisztor. Olvasd el még egyszer az egész cikket.
Ha úgy van ,(sajnos még nem hallottam róla :no: )akkor,hogyan kell változtatni az értékét mint ellenállásként?
Én a tranzisztor működését itt tanultam meg. Itt azt hiszem, hogy nem írnak róla.
Ott inkább kapcsoló képességéről esik szó. Az ellenállását a bázisáramának a változtatásával lehet állítani. A Wikipédiás cikk és még sok egyéb weboldal is foglalkozik a tranzisztor működésének a leírásával. Amikor erősítőt készítünk, akkor a tranzisztor bázisáramának a változtatásával érjük el azt, hogy a kollektorárama is megváltozzon, persze sokkal nagyobb mértékben.
|
Bejelentkezés
Hirdetés |










