Fórum témák
» Több friss téma |
Fórum » Inverteres hegesztőtrafó
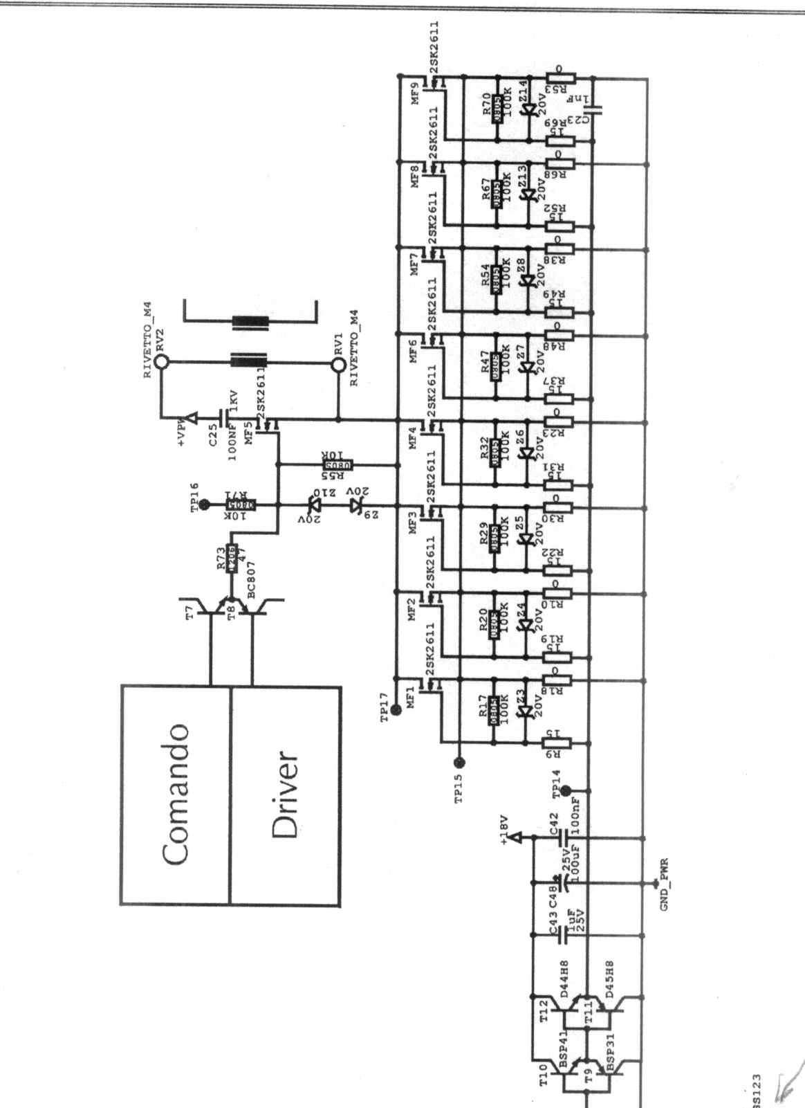
Találtam egy érdekes részletet a gyári rajzon. A trafó primer oldalára raktak egy érdekes megoldást amit csak úgy saccoláskét értek de nem vagyok benne biztos . Talán hasznos rászlet és ha igen valószínűnek tartom hogy másik gápeknél is jogot érdemelne a használata. Aprimer oldali + trnzisztorra golngolok.
Igazad van, bár én arra aszociáltam, hogy nincsenek párhuzamosan kapcsolt IGBT-k... ezt hozzá kellett volna tennem. :hide:
UC3526 a meghajtó olasz gép - ismeri valaki?
Ez szerintem egy vezérelt snubber. Mivel a kapcsolótranzisztorok a trafónak csak az egyik oldalán helyezkednek el az eredeti rajzon,így a főtrafó lemágnesezését vezérelten oldják meg,úgy hogy ezzel még energiát is nyernek . Bár ennek elég gyorsnak kell lenni,mivel ennek a gépnek(Genesis)100kHz a kapcsolási frekvenciája.
Fimer?
Gőzöm nincs-így jött-aztmonta a tulaj,hogy OLASZ a 2 IGB és a diódá helye látszik se trafó se rajz se egyenirányító,azért tettem ki hátha kapok valami támpontot.
Ha Fimer, akkor nyák aljára rá van írva hogy "Fimer" Ahogy elnézem nem mai darab...
Csak a kártya van meg,vagy esetleg a többi része is?
Ha igen,akkor tehetnél még fel képet,nekem ismerősnek tűnik,mintha néhány éve egy hasonló gépet javítottam volna. Ha nincs több alkatrész hozzá,akkor a másik oldalát is lefényképezhetnéd,hátha segít valamit.
Mérjetek üresjárási feszültséget,ennek a gépnek 70V környékén kell lenni az üresjárási feszültségnek. Ezt úgy kell csinálni,hogy 1kohm-os 5W-os ellenállással megterhelitek a kimenetet,és az ellenállás kapcsain mértek feszültséget. Ha ez a feszültség ettől az értéktől jelentősen eltér(kevesebb) akkor a gép beállításai elmásztak. A beállításokat csak olyan szakira bízzátok,aki rendelkezik megfelelő eszközkészlettel és ismerettel a beállítás elvégzéséhez. Ötletszerűen egy trimmerhez se nyúljatok,mert könnyen selejt lehet a gépből.
A régi ER21-nek min.55V gyújtófeszültség kellett. Ez az elektróda híres volt arról,hogy amíg be nem melegedett az íve kialudt. De az inverteres hegesztőknél ilyen csak akkor fordul elő,amikor az ívfeszültség az ív fenntartásához szükséges minimális érték alá tud esni. Ezt vagy beállítási érték elállítódása(elállítása)vagy áram mérőköri hiba okozza.
Csak a képen látható panel van meg persze én szedtem ki a 4db 470mikrós 450V kondit és a 2db IGBT + 2db diódát - nem mai darab de ugyanolyan elven müködik mint az ujjak ahogy nézegetem a kapcsolást-még nemszántam rá magam a kirajzolásra - a másik oldalo nincs alkatrész csak nyomtatott panel-ezért is nehéz kirajzolni.
A furcsa benne,hogy csak 2 db IGBT van benne,ez arra enged következtetni,hogy maximálisan 90-100A terhelhetőségű gép lehet. De akkor minek bele a 4db 470µF-os kondi? Ekkora gépekbe 2db-nál több kondit nem szoktak tenni. Bár az alkatrészekből ítélve lehet legalább 15-20 éves,-és akkor még nem a spóroláson,hanem egy (akkor még)új technológia maximális megbízhatóságán volt a hangsúly.
Szerintem,-ha olasz, akkor egy régi EP-System, de én nem mernék mérget venni a gép olasz voltára. Az eredeti olasz gépekben jobbára a nyákra szerelnek mindent,a franciák és a németek a nehéz alkatrészeket külön szokták rakni. Emiatt gondoltam arra hogy nem echte olasz. A nyák oldali fénykép azért lett volna jó,mert támpontot adhat arra vonatkozóan,hogy melyik gyártó ötlete alapján készült a masina.
Itt a másikoldal-anyit közölt a tulaj,hogy egy nagyáramú sönt is volt a kimeneten-gondolom valami rajta eső feszt viszavezettek a vezérléshez
Hát,sajnos nem jutottam közelebb a rejtély megoldásához,pedig szinte biztos,hogy már volt nálam ilyen gép.
T.Kolégák!
Kikéne rajzolnom 2-3 gépet - a gondom az hogy távolítsam el a lakkot és szétkéne szedni jópár beimpregnált frites trafót-tudom volt szó róla,de hátha van valami ujj hatékony megoldásotok?
Ha PUR lakkos,akkor etilacetát vagy aceton.Ha nem, akkor kromofag és fogkefe. De vigyázz,mert jártam már úgy,hogy a kromofagtól kilágyult egy plazmavágó nyákja.
Előtte próba valahol olyan részen,ahol nem fut vezetősáv.A kromofágot kissé meg kell langyosítani,sokkal hatékonyabb. Ha nagy a felület akkor konyhai törlőpapírból szoktam több réteget a fólia oldalra tenni,és azt áztattam be annyira kromofággal (vagy etilacetáttal)hogy éppen ne csorogjon belőle.Így kevesebb illóanyag tud elpárologni és hatékonyabb a leoldás. De a fogkefe mindenképpen kell a nehezen hozzáférhető helyekhez. A passzív alkatrészeket a művelet után cserélni kell,mert a festék nagy része lekopik,a kondik műanyagja pedig bemaródik. Az alkatrészek eltávolítása után előbb forróvízzel,majd tiszta szesszel a kártyát le kell mosni,újra alkatrészezés előtt. A megfelelő gumikesztyű és védőszemüveg, -de az arcmaszk még jobb- használata kötelező! Egyébként milyen gépeket kellene kirajzolnod?
Meleg, kigőzölögtetett elektródával is ezt csinálja. Ugyan ez az elektróda hidegen és párásan a másik készülékről simán elégethető. Ellenállásom sajnos nincs, belepiszkálni pedig tényleg nem akarok. A legjobb lesz, ha elviszem egy szakszervízbe. Ilyen szinten nem értünk hozzá, tönkretenni nem akarom.Megerősítetted gyanúmat, hogy ez nem természetes velejárója az inverteres gépeknek.
Köszönöm szépen a segítséged!
2-3 db inverter vezérlőpaneljét -szervízből kerültek közvetítőkön keresztül hozzám és valami kemény lakkal van érhetöen lehúzva ,hogy még a páka sem ér sokat a trafókra is megfelel a kromofág-gondolom.
Köszönöm! /ez az "olasz"amit kitettem tegnap az egyik/
Szia,
nem kell előre beijedni, egy szétszedést mindenképen megérne,lehet hogy elengedett valahol a forrasztás vagy laza a csavar a kivezetésen... a munkakábeleket is jól átnézném... Persze ha van garancia...
Szia!
Garncia már rég nincs rá - kb. 5éves gép. De megfogadom tanácsod, - ilyen egyszerűbb problémákkal tényleg megbirkózunk, hátha szerencsénk lesz. Nem biztos, hogy ezen a hétvégén, de mihamarabb átnézem és beszámolok a fejleményekről. Neked is köszi a tippet!
És ezt hogy tudnám kiszűrni? Csak egy vadi új másik relével, vagy van más módja is?
"Vagy a relé kontaktja kopott..."
Na ilyennel még inverterben nem találkoztam. Elégett érintkezőjű relével igen,de kopottal nem. Ott akkora áram folyik hegesztés közben,hogy ha nincs elégséges szorítóerő,az érintkező simán szét ég.Ilyen hibajelenségnél , ha kontakthiba van,az rövid időn belül,füst formájában jelentkezik.
Bizonyos munkaóraszám után mindenhogy érdemes kicserélni...
nem drága...Külünben pedig analóg mutatós műszerrel figyelni a feszültséget a kontaktusokok közt heggesztéskor...ha átlátszó a relé tokja,estleg apró szikrázás észlelhető,ahogy csökken a feszültség a hálózati elkókon,a védelem leállítja az invertert...
Igazad van, de néha kivétel is van ami erősíti a szabályt...
Ha a jólméretezett "lágyindító" ellenálás kiég, és más félvezetőhibát nem találunk,érdemes relét cserélni... Gyári invertereknél nem ritkaság az alulfeszültségvédelem,akkor az ellenálás ki sem ég, a gép újraindul(na)
"Ha a jólméretezett "lágyindító" ellenálás kiég, és más félvezetőhibát nem találunk,érdemes relét cserélni..."
A jól méretezett lágyindító akkor szokott elszállni,ha az invertert nem rendeltetésszerűen használják.A lágyindító bekapcsolási késleltetésére sokféle módszerrel találkoztam már,de az előtöltő ellenállás elfüstölését az esetek 90%-ában vagy aggregátoros üzem,vagy 50-100m-es hosszabbítóról történő hegesztési kísérlet okozza. A maradék 10% azokra a gépekre esik,ahol a relét a főtrafó szekunderéről hajtják,és valamiért nincs szekunder feszültség,-a legtöbbször IGBT vagy FET zárlat miatt. Az undervoltage control igenis ritka dolog. Hobbi szintű gépekben még nem találkoztam vele,mint ahogy az over voltage control helyett is a sokkal olcsóbb varisztoros megoldás a jellemző abban a kategóriában. Ha nem sajnálod rá az időt, olvass vissza,talán egy évvel ezelőtt, vagy régebben folyt a polémia az inverterek efféle védelméről. Úgy emlékszem,talán még rajz részletek is kerültek a fórumra e témával kapcsolatosan. Egyébként,a kivétel tényleg erősíti a szabályt...
Sziasztok!
Beálltam én is az építők sorába. A Maci inverter csinálgatom, a legutolsó módosított Erdgab féle terv alapján. Most kezdem éleszteni a dolgokat. A vezérlő panel működik, jó a lágyindítás a késleltetett relémeghúzás, a visszajelző ledek működnek, a hővédelem relé működésekor a vezérlés megyszűnik ezt jelzi a hővédelem led is, az antisticket is próbáltam az is működik. Grafikus szkóppal mértem a vezérlő jelalakot, 32 KHz körül jár, 48%-os kitöltéssel. A fórumban olvastam hogy a kitöltésnek 43-45% -nak kell lennie, jelent e problémát hogy ez nálam magasabb,esetleg kell e módosítani, mely alkatrésszek határozzák meg a jel kitöltését? A freki jó, viszont a jelforma nem valami szép négyszög,az alsó él nem valami jó, ez okoz e zavart a működésben? Lehet hogy a Tp1-es trafóval nem stimmel valami? Ezt EE-25 ferritből csináltam, légrés nélkül. Végül is összekötöttem a vezérlő panelt a végfokozattal a BZX13-as zéneren 5,4V-t mértem gondolom ez kb. jó is (5,1-5,3 körül írtátok). A végfokban IRG4PC50U-k vannak 3-3 darab. A Tp2-es trafót 6 pár U57-esből készítettem, 20 menet prim. és 6 menet szek. 0,35-ös zománchuzallal, 30 szál primernek, 180 szál szekundernek. A fojtó 2pár U57-re készült fazonhuzalból. Gondoltam csinálok egy főpróbát, mindent összekötöttem figyelve a tekercs kezdetekre végekre. A vezérlés külön trafóról megy külön tápegységgel 12 V-os stabkockával, ahogy Erdgab terveiben is szerepel. Nem adtam egyből 230-at a főáramkörnek hanem fokozatosan toroidról, közben mértem az üresjárati feszt,230V betápnál 50 V-körül mértem. Kezdtem örülni hogy minden ok, nem volt hangja semminek, a poti tekergetésekor sem változott semmi viszont a 47ohm 10w-os ellenállások melegedtek. Nem tudom ezeknek nem mennyire szabad melegedniük? Nem akartam egyből pálcával tesztelni, hanem 4db 12 voltos fényszóró izzót sorba kötöttem és ráakasztottam a kimenetre, a feszültség ekkor visszaesett 30V körülire, pedig az áram csak néhány amper volt (40 W-os izzók),a poti tekergetésekor se emelkedett, a trafónak meg érdekes visító hangja volt. Ekkor gondoltam hogy az áramváltót nem jól köthettem be (PC- tápból sárga porvas, 80 menettel, ahogy a tervben), megfordítottam a bekötést ekkor se változott a helyzet talán a trafónak még rosszabb hangja lett. Majd egyszer csak gondolt egyet a játék leverte a 16A-s kismegszakítót és csönd lett. Érdekes hogy a 400 V-os táp penelon a 470µF-os kondi is melegedett, ide 3 helyett csak 1-et forrasztottam be a próbára. Viszont élesztéskor nem volt leföldelve a segédtáp GND-je, lehet hogy ez is gond volt. Most itt tartok hogy szét kellett szednem a végfok panelt, ebben zárlatos lett 1-1 IGBT a felső és alsó ágból, valamint elszállt a pozitív ágra kötött HFA15-ös dióda. A többi félvezető megúszta. A rajzon a nagyáramú panelen szereplő 2.2uF630V helyett 400 V-ost építettem be, ez megfelelő e, valamint a dióda híd (KBPC) is 400 V-os, bár ezek gondolom nem okozhatták az igbt-k halálát. Teszek fel pár képet a panelokról is. Előre is köszönöm segítségeteket.
Szerintem nézd meg mégegyszer jól a meghajtó trafó kivezetéseit. Nekem ilyen jelalakot produkált,mikor rosszul volt az egyik tekercs bekötve. A visítás is ismerős,nekem is volt.De szerintem a nagyok megmondják mi a problema,én még csak ugatom ezt a dolgot...
István Most ilyen a jelalak,ezzel megy szépen.
Most kezdtem átnézni a dolgokat, a vezérlő trafót jónak találtam, viszont a próba összeállításban elkövettem egy hibát, a főtrafó szekunder kivezetéseit fordítva kötöttem rá a dióda hídra
, úgyhogy lehet hogy ez okozta a rendellenes működéseket. Üresjáratban látszólag jól ment, de terhelésnél már nem volt ereje meg melegedtek a dolgok. Szerintetek ez okozhatta a félvezetők halálát? Még egy kérdés, az U57-es magokból álló főtrafót, ha jól emlékszem valahol olvastam hogy, réz menet szálakkal kellene összefogatni, én sima menet szálakkal húzattam össze, ez jó e így?Ha megjönnek az újonnan rendelt IGBT-k újra tesztelek, még jobban figyelve a bekötésekre. Itt van pár kép a hibás összeállításról.
Ha fordítva kötötted be a trafó szekunderét, akkor nem megy nagy áram, de ettől még nem száll el semmi.
A 47 ohm/10W-os ellenállás természetesen melegszik, nem árt, ha a ventillátorból kap egy kis levegőt. A főtrafót összefoghatod vasból készülttel is, bár lehet, hogyha közel van a légréshez, akkor egy kicsit melegedni fog. A fojtót nem szabad összefogni csak rézzel, mert ott már nagyon fog melegedni. A szkópfotók mit ábrázolnak, hol mérted őket? Ezeket mindig írd oda, mert így csak találgatni lehet. Egy- két oldallal korábban leírtam, hogy hogyan mérd meg szkóppal a gate-emmitter feszültségeket. Olyannak kell lenniük mint BarnaPili előző hozzászólásában volt. Ne felejts el valamit: a szkóp földjét ( GND a mérőszinóron ) sosem tesszük olyan pontra, aminek a feszültsége nagy sebességgel változik. Tehát, pl. ebben a kapcsolásban nem szabad a felső IGBT emmitterére tenni. Ahova teheted az a plusz 300V, a minusz 300V, a vezérlés GND-je, stb, tehát olyan pontokra, ahol vagy fix feszültség van, vagy csak lassan változik. Az a sárga vas a pc tápokból iron powder, vagyis porvasmag. Ezeknek nagyon kicsi az AL-jük ( tulajdonképpen az elemi szemcsék között légrés van ) emiatt megtekerve kicsi lesz az induktivitásuk, vagyis jó nagy mágnesező áram kell nekik, és csak egészen nagy gerjesztéseknél funkcionálnának megfelelően áramváltóként használva. Ez ide nem megfelelő, valahonnan szerezz rendes ferritet. És nagyon nézd meg a bekötését, a tekercsvégek nem mindegy hogy vannak. Ha toroiddal méred, az nagyon jó, ha már jók a gate jelek, akkor ráteszel mondjuk 500 W terhelést és lassan tekered fel a toroidot. Közben meg nézd, hogy az áramváltó milyen feszültséget állít elő. Így tudod ellenőrizni, hogy jó e az áramváltó, meg, hogy jól kötötted e be. A toroid igen nagy segítséget jelent egy ilyen beméréskor. A 400V-os bemeneti graetz nagyon karcsú. Nézd meg, nem ment e tönkre. Ha igen, akkor ez indokolhatja, hogy miért szállt el IGBT, meg miért melegedett a kondi. Legalább 600V-osat tegyél bele, ki kell bírnia a hálózat felöl jövő tüskéket is. A 2,2 µF-os esetleg melegedhet a későbbiekben, ha így van, akkor cseréld ki 630V-osra, bár |
Bejelentkezés
Hirdetés |








Előtte próba valahol olyan részen,ahol nem fut vezetősáv.
a munkakábeleket is jól átnézném...









