Fórum témák
» Több friss téma |
Fórum » Akkumulátor töltő
Sziasztok.
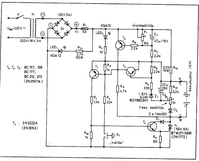
A régebben elég sokat szerepelt UC3906-os töltővel kapcsolatban lenne egy kérdésem azokhoz, akik megépítették. A kiszemelt trafóból 22,5V AC (az közel 30V DC) jön ki 18V helyett. Nem sok ez? Tudom, hogy az IC max. 40V-ot bír, de nincs ez másra is hatással? Előre is kösz a válaszokat. Üdv, Gabriel
Az iC-n csak annyi 1r,hogy 2005/KA109066442E.
És az IC-nek sehol nem találtam a rajzát,hogy bár tudnám melyik lábára kössem a LED-et! De nekem már meg van csinálva az áramkorlát a táphoz! De engem csak azon részei érdekelnek a rajznak,melyeket meghagytam. A fordított polaritás és a rossz akku elleni védelem,meg az,hogy leálljon,mikor az akku feltelik. És e védelmek ebben a rajzban a 741-es IC-vel és a FET-el nagyon elegánsan vannak megoldva. És védelmi a részét külön meg is lehet építeni,(rajban vörös rész) csak a feszültség szabályozó részével van gondom. Ha úgy nem oldható meg ahogy átalakítottam,akkor kérlek segíts egy kiegészítő rajzzal. Előre is kösz.
Nem ez az ic-d? Akkor most ott tartasz hogy a tápon igy alapba már kijön kb 16V?
Hali Gabriel!
Hát nem vagyok egy nagy szakértő, de nekem azt tanácsolták a segítőkész emberkék itt, hogy sok lenne a 22 volt váltóáram is.egyenirányitva picit kevesebb lenne, de sok.nagyon sok hő termelődne a tranzisztor hütőbordáján.én is tekertem le a trafó szekunder tekercséből pár menetet.Így most tökéletessen dolgozik a 18 volt egyenárammal terhelve persze.Pufferkondenzátor után mértél 30 volt egyenáramot?Ha tudok segiteni valamiben szívesen segitek.üdv
Több mint valószínű,hogy ez az az IC.
Igen a tápból ki jön a 16V és 16A áramkorlát van beépítve a kép szerint. És most az jön,hogy megnézem,hogy a 2005 Ic-nek melyik az a lába,mely a TL494-nek a 3-as,és ha megvan akkor nincs gond. De ha nincs akkor szar ügy,mert akkor muszály valamit elkövetnem.
Annak a 2005 icénél nincs szerintem olyan láb mint a 494-en. Mert elvileg az egy kombinált ic. Én szerintem jobban jársz ha keresel egy másik tápot.
Én amugy már vagy 10 ilyen töltöt csináltam.
Köszi,de én már ott járok,hogy kijön a 16V belőle.
Nincs másik alternatíva.
Maradok ennél. A kérdés az,hogy a szlovák rajznak a 741 IC-vel és a FET-el felépített része külön működik-e? Mert ha igen akkor valahogy megoldom azt is,hogy az akku feltöltése után a táp leálljon. Kösz.
Üdv, peppyscot! Kösz, hogy válaszoltál. Hogy érted azt, hogy egyenirányítva kevesebb lenne? Meg akartam úszni a trafóletekerést. Hány menetet kell letekerni? Olvastam, hogy ki lehet számolni, de nekem az kínai. A trafóm 200VA-es toroid. Neked végül is 18V egyenáramról megy? A kapcsolásban 18v az AC, ami aztán felszorzódik. Én még nem mértem semmit sem, csak számolgattam. Az áramkör tegnap lett kész.
Üdv
Szia !
Milyenek a gyakorlati tapasztalataid ezzel töltővel ? Tudja azt amit írnak róla ? Hány Ampert lehet belőle kihozni ? (mondjuk egy 250 W-os összteljesítményű táppal ) ....és: a TL494 3-as lábára kötött eredeti alkatrészeket ki kell-e szedni ? Üdv: sector99
Olvasd el proli007 le irását amit még nekem irt ezzel a kapcsolással kapcsolatban. Itt megtudhatod mi miért is van. Müködés.
Szia!
Hát eléggé sokk a tapasztalatom ezzel a töltövel. Én amiket eddig épitettem álltalába kb. 8A-t tudtak. Persze én nem 250W tápbol csináltam, hanem álltalába 400W körüliek. De azzal is meglehet csinálni, max nem fog annyival tölteni. Rakok fel képeket, hogy is néz ki amit én csinálok. Az egyim egy kicsit full tuningos. mert van egy amper kijelzö is. Igy egyszerübb a beállitás. A 494-s 3-as lábára simán csak rávan forrasztva a vezeték. Csak a védelem és az 5V figyelése van módositva.
Köszi !
A FET-et nem is kell hűteni ???.....
Hát annyira nem melegszik. De raghatsz rá egy kis aluminium lemezt. Azóta én is rakok rá.
Ez lemaradt. Ha kell segitség irjál nyugodtan.
Köszi, segítség lehet, hogy majd kell....
Kész a panel, ha lesz időm akkor beültetem.
Na azért ennyire ne kapkodjatok!
![]() Kiderült, hogy a 20W-os trafóm egy kalap ... leégett a primer oldala :\ Viszont találtam egy komplett tápegységet itthon, ami már 30W-os 12v-on, és 3-4V-tól egész 18V-ig változtatható a feszültsége. Na a lényeg, hogy megoldódott ![]() Bár a kérdés attól még fennáll! Előre is köszi! Üdv.: Jax Idézet: „Persze én nem 250W tápbol csináltam, hanem álltalába 400W körüliek.” Elég furcsán méritek az akkutöltőt. ![]() 250 W 14 V = ~17 A, 400 W 14 V = ~28 A. Ilyen sok a veszteség? Az átlag 200 W-os AT táp 12 V-on 8 A-t tud. A -12-n 0,5-1A-t. 5 V-os ágat kivéve, nem terhelve az nem melegít, tehát a 10 A nem túlzás. Komolyabb ATX tápokon gyári felirat: 12 V 28 A. !!!
Az eredeti kapcsolással megcsinálva tölt 8A-t. Tudom hogy kilehet többet is hozni belöle, de azért azt ne feledjük hogy az már mekkora hővel jár. Ennyivel töltve elég egy kis alulemez 15A-nál azért több kellene. Viszont annyi hely nincs a tápba. De tény hogy többet tud a táp. Nekem is volt hogy eltört a forrasztás az ic lábánál és nem szabályzott le az elektronika. Egyböl max amperon ment. De kérdés meddig bírná a táp? A másik dolog hogy 8A bőven elég egy mezei autósnak. Persze egy 200Ah aksinál már lassan tölt. De egyszer csinálok majd proba képpen egy kajdi töltöt.
Üdv.
Most jutottam el odáig, hogy megnézzem teszterrel. És a probléma, hogy még 15V-nál sem villog, és nem kapcsol át szulfátmentesítésre, valamiért az LM311 2-es lábán kisebb a feszültség, mint a 3-ik lábán, akárhova állítom a P2 potit. Valami ellenállásértéket kéne változtatnom? (Gondolok itt az R26-R27 ellenállásra) Ha tudnál esetleg segíteni, előre is köszönöm. Arra pedig rájöttem, hogy a "+" ággal sorba kötött dióda miatt nem töltött.
Helló
Megint új fejlemények vannak az ügyben Találtam itthon a lomosban egy 250 Va-eres trafót ami elvileg 24 voltos volt.Na ezt kimértem.Nálunk a hálózat majdnem 240 volt a trafó meg 27 volt szekundert adott üresjáratban.Letekertem a szekundert megcsapoltam 11 és 17 voltnál valamint a 24-et is 24 re lőttem be.De ma kicsit elbizonytalanodtam.A másik trafón a töltőmbe 2 szekunder tekercs volt.A 17 voltos 2.2-es huzalból,meg volt egy vékonyka 11 voltos ami a műszernek adott tápot.Ugye nem csináltam túl nagy bajt,hogy most nem külön tekercset készítettem hanem az eredetit csapoltam meg 11 voltnál.A huzal biztos elbírja de azért nyugtassatok meg.Másik kérdésem is van Találtam egy régi pc tápba egy jó nagy hűtőbordát.Azt tervezem,hogy mindkét töltőáramkör fetjeit és stab ic-it kiteszem erre az egy bordára valamint a graetz-eket is.Megfújatom egy táp ventivel.Ez így működőképes elgondolás,vagy bezavarnak az éppen használaton kívüli kütyük?Én eszem szerint működni kell a dolognak de nem ez a fő szekterületem.
Sziasztok!
Megcsináltam ezt a kapcsolást töltöttem már vele egy garantáltan jó aksit, de most amit töltök vele, újra lett savazva, majd lemerítve egy 5W-os izzóval. Az probléma, hogy az akkufesz 11,21V és 320mA mért áram már 3 órája? Köszi.
Az bizony baj, mert az azt jelenti, hogy egy cellád zárlatos, és hiányzik az a 2.2 V
Valóban zárlatos... Tegnap még nem volt az. Mit lehet tenni vele?
Csukott szemmel, jobb váll felett behajítani a veszélyes hulladékgyűjtőbe. Valószínűleg a többi cella se 100.
Helló Mindenkinek
Újra itt Szóval átraktam a régi töltőm egy új dobozba az új trafóval.Működik is rendesen,de a panelműszerrel lett egy kis problem.Nem mutat semmit csak azt írja "lobat-1"Gondoltam kicsi neki a tápfesz.Méricskéltem,a trafón 11 volt helyett 10.2 volt volt terhelés hatására.Megmértem a panelműszerre menő tápfeszt.8,9 volt volt.Próbaképp rátettem a műszer tápjára egy kis trafót.Bemeneti fesz 12.3 volt,kimeneten ugyanúgy 8.9 volt és "lobat-1"felirat.Mi mehetett tönkre a műszer tápjában?A 78l09 feküdhetett ki vagy másfelé kéne kutakodnom?Esetleg a műszer feküdt volna ki?Ennek nem nagyon örülnék.Kicsit nehezen jött ki a régi dobozból,de gondolom ha megsértődött volna e miatt akkor abszolút nem működne.Valaki segítsen már legyen szives pár okos gondolattal.Én azt sem tudom az az 1 tized volt jelenthet-e egyáltalán ennyit vagy attól még menni kéne a műszernek?
Hello!
1 tized volt nem igazán jelentene. Probáld meg elemröl. Egy a trafo a töltönek és a panelmüszernek?
Sziasztok!
Nincs meg valakinek ennek a kpcsolásnak a beültetési rajz normális látható kivitelben? Ezen sajnos nem látszik a nyomtatott áramköri rész!( Hobbielektronika 1990 augusztusi száma 14 oldal.) Köszönöm előre is a segítséget!
Igen,Egy trafó van.11 voltnál csináltam egy kivezetést és tekertem tovább.Van több kivezetés is,mivel ez egy jó nagy trafó és több funkciót fog ellátni,perzse nem egyszerre..Így van még egy 24 voltos része is.A műszer panelját viszont rákötöttem egy másik trafóra is próbaképp.Ez12.3 voltot ad le a kimeneten viszont ugyanúgy 8.9 volt van.Ráadásul rossz helyen lakok.Vagy kocsikázok 60 kilómétert pár száz forintnyi cuccért,vagy fizessek egy rakás postaköltséget:sÉn sem látom nagy jelentőségét annak az 1 tizednek.De gondolom ha a műszerben törtem volna le valamit akkor meg nem működne.majd gyakorolok még rajta.
|
Bejelentkezés
Hirdetés |






Én amugy már vagy 10 ilyen töltöt csináltam.













