Fórum témák
» Több friss téma |
Fórum » Junoszt-406B
Imi ! a Junosztynak hány wattos a hálózati trafója ?
Jani már "megsaccolta", kb. én is ide tenném a teljesítményét maximum.
Sziasztok!
A Junoszt TV-ben milyen,és mekkora kerámia kondenzátor található? Nekem 15Kv vagy 30kv-os kellene amelyik 500-2000pF közötti. Hány db. található a junoszt tv-ben, és mekkora értéküek?
Régen láttam már ilyen TV-t belülről, de úgy emlékszem, ekkora feszültségűek nincsenek benne.
Hogy kereskedőnél kapsz-e ilyeneket, azt nem tudom, de az 50-es évekbeli tv-k antennacsatolói(ált 150pF), és a soros fűtéslánc átvezetőkondijai(1-3nF)ilyen nagyfesz.tűrésüek voltak.A tranzisztoros Junoszt-ban ilyen biztos, hogy nincs.
Üdv!
Hellosztok.
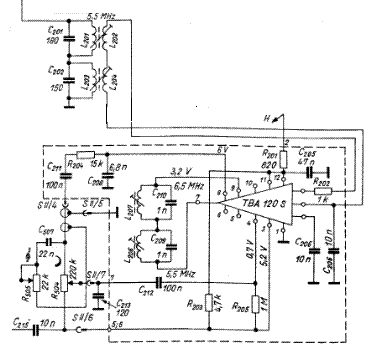
Egy Junoszty 405 öst szeretnék kétnormásítani. Van egy hatlábú, TBA120S IC vel felépített Videoton hang-kf modulom. A televíziónak van egy kis hibája is. A kép nem tölti ki az ernyőt, jobb és bal oldalt sötét rész van. Talán egy kondi a vízszintes eltérítésnél?
Vagy a tápfeszültség kevés. Van a fojtónál egy 500 µF -os kondi, azt mindenképpen cseréld, ill. a sorkimenő mögötti 100nF-ost sem árt cserélni.
A modul jó bele, az eregeti KF-IC-t ki kell kerülni, és fel szoktam használni a végfokozatot is. Erre két megoldás kínálkozik. Vagy felhasználod az elektronikus hangerő szabályozást, és megpróbálsz A-s potit szerezni bele, vagy elviseled, hogy az eredetivel kicsit "gyorsan" hangosodik az elején. Vagy bekötöd a két IC közé az eredeti hangerő-potit. Ez csak picivel komplikáltabb.
PC tápról üzemeltetem. A modul lábkiosztását honnan tudhatom meg? A tápfesz, GND és hangerő lábakat már megtaláltam, a többi ismeretlen.
Köszönöm. Sajnos nekem nem ilyen modulom van. Hiányoznak róla L300,301/302 tekercsek. (gondolom ezek az alaplemezen voltak) A hangvégfok IC sincs a modulon. Megpróbálok szerezni egy megfelelelő modult. 4 lábú Oriont t találtam is, csak sajnos rossz állapotban van.
A hibrid készülékekben ezt a modult használták a Videotonban.
Igen, ilyesmi modulom van, csak a pozíciószámok nem stimmelnek. L201,202,203,204 tekercsek nincsenek meg. Vagyis megvan, csak nem használható állapotban. Megpróbálom helyrehozni. Találtam valamilyen újabb televízióba való panelt is. TDA5850, TDA6050, TBA229 IC k vannak rajta.
Annyit sikerült megtudnom, hogy valamilyen Pioneer televízióból szármozhat. A pontos felirat: Beko Elektronik Ar-Ge 73r192-21
Szerezz Oriont, vagy VT-t, arról itt megtalálod az RTÉk szerinti leírást. De megsúgom, hogy csak 5,5M-ra át lehet hangolni is, csak az komplikáltabb, és nem árt hozzá valami műszer is. A modulokkal azért is egyszerűbb, mert azok be vannak már hangolva.
Üdv. Mindenkinek!
FIGYELEM! Van pár Junoszt tévém a padláson,ingyen odaadnám. Valamelyik működik,valamelyik nem. Ha valakit érdekel,írjon a privi címemre. Üdv. Peti
Hellosztok. Átalakítottam a modult. A 14 es, 13 as és 2 es lábakat lekötöttem, és az ezen az oldalon található második rajz szerint bekötöttem egy 5....orral.
A csatornák hangja tisztán bejön, csak nem a képpel együtt. Amikor a kép tiszta, a hang nem, amikor a hang tiszta akkor a kép nem. Mi lehet a baj?
Hellosztok!
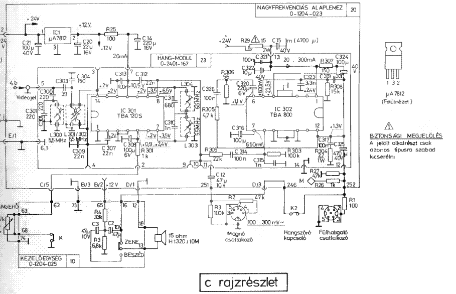
Junyoszt 402-n hol van az a pont, ahol olyan erősségű az összetett videojel, hogy rá lehessen akasztani egy kétnormás Orion vagy Videoton hangmodult? (TBA120+TBA800/810) Üdv: Hurka
Szia! A C47 kondenzátor L17 felöli végéről veheted le a segédvivőt. Az átalakításkor érdemes kivenni az L17-C51 szűrőt(árnyékoló burában). Ha zajos lenne a hang, akkor fel lehet használni jelforrásként az y6 IC 8-as lábát. Ilyenkot a tekercs-kondenzátor marad, csak el kell hangolni a tekercset, hogy 5,5 MHz-en is legyen jelünk.
Szia Imi!
Van egy Junoszty 402B kistévém és azon pont a képszinkron nem jó (sorszinkron rendben). Lebegő képet látok és sok esetben többet is egymás alatt. A függőleges frekvencia állító potira reagál, de nem ugrik be szinkronba. Ha egy képet látok a képernyőn, akkor pedig érezhetően kisebb a függőleges frekvencia 50 Hz-nél. Merre érdemes keresgélni? Kapcsolási rajzom van a készülékhez. Segítséged előre is köszönöm! Gábor
Közben sikerült kijavítani, C79 volt a hibás.
Egy Junosztot szeretnék kétnormásítani. Van egy HL812F-2 BC510D-2 típusú hangmodulom. Azt tudom, hogy hova kell kötni a hangszórót, a tápot, a földet, de kérdés az, hogy hova kell kötnöm a szabályzást, és a KF-jelet. A modulon lévő C301 kondenzátor elé mit kell kötni?
Sziasztok!
Van egy Junoszt 406-os tv-m. A probléma az vele, hogy torz a hang. A hangszórót már cseréltük, nem az a baja. A hang rész környékén cseréltem egy pár elkót, de a hiba továbbá is fenáll. A táp elkók is ki vannak cserélve, valamint 12V-ról hajtva is ezt csinálja. Éppen hallható hangerőn szép hangja van, aztán mintha torzítana a végfok. Valaki tudna tanácsot adni?
Ha van a keret szélén egy kis álló panel, azt szedd ki. Egy emitterkövető van rajta, kipurcant elkókkal. Ha nincs, akkor a GT402-404 pár körül kéne kapirgálni.
A kis panel két lábát rövidre kell zárni, míg a harmadikra egy 10 µF -es elkó dukál testre.
Köszönöm szépen az infót, megnézem hogy van-e panel, majd estefelé töltök fel képet róla.
Nos, itt van a kép a TV ről. Vannak itt a panelra merőleges panelek ,de azok árnyékoltak, meg tudnád mondani hogy melyik részen kell kereskedjek?
A pirossal megjelölt részen találod a HF végfokozatot. Az alaplapon felette található részből jön ki a HF-jel, ami a hangerő potira, majd onnan vissza jön. Ezt a 4 tranzisztoros végfokozat erősíti fel.
A tápellátása a "nyers" feszültségből egy 24 Ohm , 2W-os ellenálláson keresztül történik, melyet egy teljesítmény Z diódával 15V-ra stabilizálnak (ez a táp alaplemezen van, csavaros felfogatású). A végtranzisztorok kiválthatók a BD 135-136-tal (ha nincs, jó lehet a BC301-303 is, tettünk ilyet is bele), ezek gyakran tönkremennek (nem zárlatos lesz, hanem megszakad, a tiédhez hasonlító hibát produkálva). A kisjelüek (ezek nem szoktak tönkremenni) meg bármilyen BC-vel (pl. 182-212). A végfokozat félvezetői: KT814-815 pár, mint a BD 135-135, azonos tokozású, aztán egy műanyag tokozású PNP, tranyó, mint BC212, és egy kerámia tokozású (narancs) KT315.
Köszönöm szépen!
Én is arra a részre jutottam vissza a kábelek által, kondenzátorokat cseréltem ott, de megnézem még a végtranzisztorokat. A BD135-136 lábkompatibilis a benne lévőkkel? (nem találok olyan adatlapot amiben van lábkiosztás is... )
Mégis találtam, úgy néz ki egyezik a kettő.
Minden további nélkül cserélhető, mert egyezik. Jó a 139-140 is, csak azok feleslegesen sokat tudnak (feszültségre). Ha kicserélted, nem melegedhet egyáltalán (nincs hűtése sem) üres-járásban.
|
Bejelentkezés
Hirdetés |











) 




