Fórum témák
» Több friss téma |
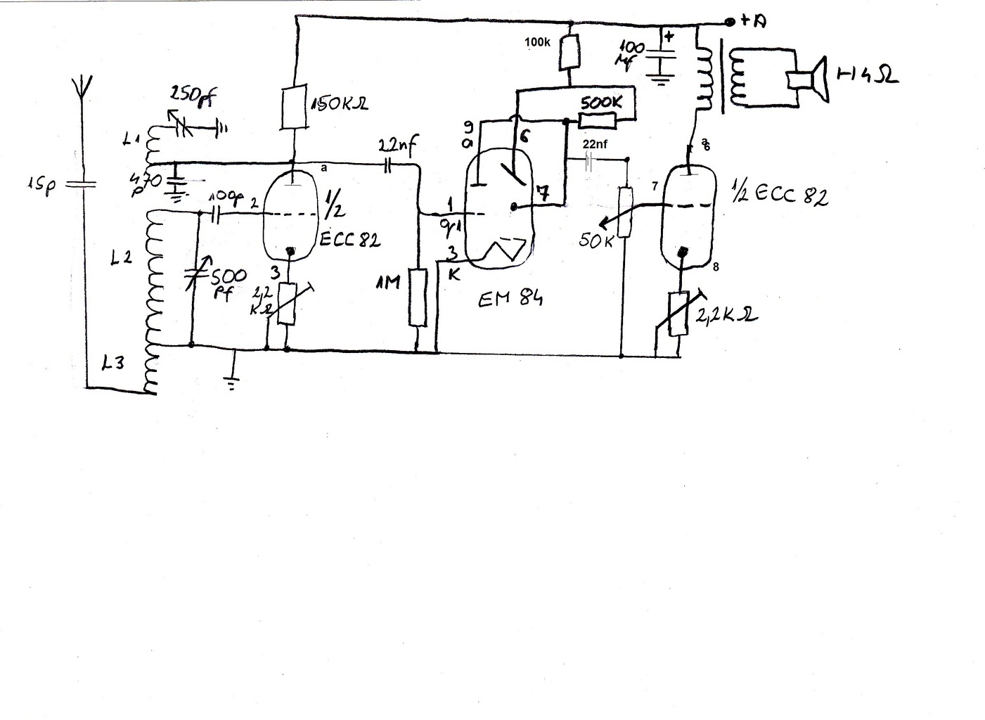
ECC82 végerősítő csőnek?
Egy csatoló kondi sem ártana a rácsába..
Azért ez a vevő elég furcsa. Az anódokat, meg a katódokat az ECC 82-nél gyönyörűen felcserélted. A végcső előtti csatolókondi hiányáról nem is beszélve. Így ez nem működne.
Én azt gyanítom, csak elrajzolta...
Üdv.
Igazad van elrajzoltam! Ez a helyes rajz
50K helyett nem lett volna jobb mondjuk 1M poti?
Azt mondtad, szól. Kettő kérdésem van, utána igyekszem befejezni a kötözködést az alapötlettel kapcsolatban. 1: Milyen kimenőtrafót használsz? Ezt azért, mert lehet "tuningolni" egy pentódával. 2: Az L1-es tekercs anód felőli vége és a test közé miért került be egy 470 pikós kondi? Eddig fojtótekercses megoldásokat láttam a HF jellel sorbakötve. Az 1Megás trimmer valóban jobb, minden rádióban 100 kOhm feletti potik vannak a cső bemeneti ellenállása miatt. Na, ennyi.
Üdv
Kipróbáltam a hangerő megnövekedett. Köszönöm a segítséget. Tisztelettel Madzagos
Üdv
Egy Tv-ből való kimenőtrafóm van beépítve,a470 pikós kondi ha nincs benne akkor nem szólal meg.
Az a kimenőtrafó jó, mert lehet ahhoz használni ECL 86, PCL 86, EL 84 és 6P1P csöveket. Ezek közel azonosak. Érzékeny hangszóróval meg eléggé hangos. 470 pikós meg jogos, a fojtó is ugyanezt csinálja
.
Szia Madzagos! Lassan kedvet kapok tőled én is a csöves technikához. Ami itthon van csövem, az nem sokra jó, néhai apósnál viszont láttam a ruhásszekrényben egy műanyagházas csöves Videotont, gondoltam, azt el kellene hoznom, és készíteni neki először is egy szebb fadobozt, múlt század eleji stílusban. Viszont, ha működik, abból már nem építek másik rádiót. Az a baj, nincs asztalosipari gyakorlatom, viszont a fiam hagyott itt egy nagyon jó dekopír fűrészt. Visszaolvastam itt, és láttam milyen szép fadobozokat csináltok. A profik valahogyan szög és csavar nélkül készítik, mégis erős. Ha jól sejtem, csapozni, és ragasztani kellene a deszkákat egymáshoz. Az oldallemezeket befogazzátok, vagy köldök csapokkal is elég? Az előlapot általában mi tartja? Köldök csapok?
Szia
A dobozokat én általában csak simám össze szoktam ragasztani. Ha kell megerősíteni akkor egy két szeget is felhasználok.Faipari gyakorlatom nekem sincs. Az ócskapiacon szoktam nézni számomra megfelelő dobozt és abból indulok ki. Üdv Madzagos
Kedves Marko Ramiusz! Sokféle kimenőtrafó létezik. Alapvetően eltérnek e tranzisztoros áramköriek a csöves áramköriektől. Valóban régi készülékekből vagy régi kollégák lomtárából lehet hozzájutni. Milyen célra kívánod használni? A trafók tekercsmenetszámai, áttétele, vasmag minősége is sokféle. Lehet, hogy neked át kellene tekercselni a saját célodra.
Én a gyalult deszkát csapokkal és ragasztással rakom össze. Az én csövesem dobozának előlapja hornyokba van elhelyezve, és ragasztva így szép és egyben stabil is. Az elsőt nekem is asztalos csinálta, azóta gyakorolgatok.
Egyébként múltkor megint nekifutottam a TDA-s fm vevőnek. Hát működik, hangja tényleg elég szép, de közel sem okozott olyan sikerélményt, mint a csöves audionom. Én sem tudom pontosan miért, de már az összeszerelése se volt olyan jó.... Talán később a tranyós AM-FM vevő. Na mindegy. Viszont: Fórumtársak javaslatára csöves szupervevőt egy gyári rajz alapján tervezem, már ki is választottam. Hestore-ről most indítottam a rendelést, fejben kezdenek összeállni a részletek és lassan megvan minden hozzávaló. Dobozát tölgyből tervezem. Kérdésekkel meg még úgyis jelentkezem. Addig is a legjobbakat és jó építgetést! Attila
Bár lenne alapanyagom, a dekopír fűrész is nagy segítség, egyelőre az a rádió sincs itthon, és a családban sem támogatják az ötletem. A tapasztalatom pedig az, hogy deszkamodell formában nem lehet egy készülék hosszú életű, akármilyen jól működik, előbb-utóbb bontásra kerül. Ezidáig e téren még nem remekeltem. Az volt a maximum, hogy valami roncs még használhatő dobozába építettem bele. A detektoros után a tranzisztorosok nálam sem hozták meg azt az élményt, talán addig, amíg az első ferrit antennával hangszórós vételre képeset meg nem építettem. Az utána következők szintén felejtősek lettek valamiért. Egy valamit szerettem volna még elmondani: Én nálam a TDA7088-as Sokol 304 azóta lett igen kedves, amióta a TDA 1013-as végfok van benne, és elkészültem a LED-es fényskálával. Volt dolgom már nagyon sok hang végfok IC-vel, építettem a dolgaimba TBA810-től kezdve TDA2003-at, de szerintem ilyen csodálatosan szép hangja semelyiknek nincsen, nekem sem jutott volna ez sohasem az eszembe, ha nem beleztem volna egy Philips tévét, amiben pont ez volt. Nézd meg az adatlapját: Én nálam már 6-7 voltról gyönyörűen szól, és 40 voltig akármennyit lehet neki adni, szerintem még egy ilyen jó hang végfok IC a világon nincsen, és a viszonylag kis Sokol hangszórónak is olyan mély hangjai vannak vele, mint akármelyik asztali rádiónak. Ezek után utánanéztem az ára is elég barátságos, olyan 3-400 Ft, ha tranzisztoros, vagy IC-s rádiót építesz, ezt az IC-t feltétlenül próbáld ki vele, ráadásul a teljesítménye sem kicsi: 4 Wattot tud, persze hűtéssel, a nyugalmi áramfelvétele kisebb, mint a Sokol eredetijének volt, és nem torzít a hangja, amikor merül a telepem. Van benne elektronikus hangerő szabályzó is, de azt a részét nem feltétlenül muszáj bekötni.
A hozzászólás módosítva: Szept 1, 2013
Alapanyagom nekem sincs, azt majd veszek. Fához való kéziszerszámokra már befektettem, nem baj ha megtanulok ezt azt a fával való munkáról, mint a rádióépítgetés mellékese.
![]() Szerintem egyszer majd kipróbálom az általad javasolt dolgokat is, de most nagyon elvagyok a kis csövesem összerakosgatásával. Tervezgetem-rajzolgatom, mi hogyan lesz a sasszin, gyűjtögetem az alkatrészeket, majd tisztítom, festegetem őket hogy szép passzban kerüljenek majdan a helyükre. További szép estét!
Üdv Mindenkinek
Elkészültem a rádiómmal. Sikerült bedobozolnom és ma egész délután hallgattam. Nagyon jól szól és nem torzít. Tisztelettel Madzagos
Készítettem egy videót is róla.
Link:http://youtu.be/nvpoeMVhelk A hozzászólás módosítva: Szept 1, 2013
A lényeg az, hogy működik. Ahhoz képest, hogy keleten laksz, egész jól működik. Nálam még a detektoros is érthetően szólt hangszóróval, persze nagyérzékenységűt választottam. Van egy félkész audionom, DLL 101-el működne, de valahogy félbemaradt.
Egész jó lett. Nekem a detektorosban is a helyhez kötöttség nem tetszett. Azért sem játszadoztam annak idején csövekkel. Volt egyszer egy kettő tranzisztoros Boys radiom is, az se fogott a saját ferrit antennájával semmit, csak ha rásegítettem valami külső antennával, 4 tranzisztornál kezdődtek azok, amiket már lehetett hurcolászni. A mai vételi viszonyok már egészen mások. Középhullámon a Kossuth szinte egészen egyedül maradt. Éjjel meg már az se ad. Kíváncsiságból kipróbálnék egy ilyen csöves audiont, szerintem csupán a sokkal magasabb anódfeszültség miatt erősítenek többet a csövek, mint egy tranzisztor.
Idézet: „szerintem csupán a sokkal magasabb anódfeszültség miatt erősítenek többet a csövek, mint egy tranzisztor.” A csövek sokkal nagyobb bemenő és belső ellenállása szerintem a segítség, mert nem terheli be a rezgőkört (szelektivitás!), nem kell autotranszformátoros illesztő rezgőkör csatolás, ami mindenképpen csökkenti a jelfeszültséget. Cserében viszont nehezebb a hangszórót illeszteni, de a kimenőtrafó nevű varázslat azért segít
Csupán még egy dolog érdekelne ezzel a rádióval kapcsolatban: Mennyire komoly antennát igényel egy ilyen vevő? Mostanában sokat lapozgattam a Kádár Géza legelső kiadású kapcsolási rajz gyűjteményét, és meglepődtem, hogy a két világháború közt milyen sok 2, illetve 3 +1 elektroncsővel működő visszacsatolt egyenesvevőt gyártottak. Egytől egyig mind ilyen visszacsatolt audion. Azt tudom, hogy a szupervevők, még a legkisebbek is, még a régi ferrit antenna nélküliek is, beérik 1-2 méteres huzallal antenna gyanánt. Ezeknél az audionoknál azért gyanítom, hogy a detektoros rádióknál szokásos többször tíz méteres magas antenna elengedhetetlen? Bár amióta megépült a solti nagyadó, énnálam sem a Temesvár számítana többé helyi adónak. A Kossuthot behoznák itt ezek is talán most már egy ferrittel is akár? Én készítettem ferrit antennát egy régi Orion rádióba, és meglepően jól szól vele, ha irányba áll, nem is kell bele dugni semmit. Éjszaka itt a néhány román, szerb, stb. adón kívül max. a Vatikánt hallgathatnám egy csúcsszuper rádióval is középhullámon. Tudom, egy FM vevő építése már nem az a feeling, de ott legalább már vannak adók, nem csak az az egy. Sőt olyan térerővel jönnek itt, hogy még antenna sem nagyon kell hozzájuk, csak a külföldiekhez, de igazán Újvidék sem igazán érdekel, amióta annyi itt a helyi FM adó.
Ahogy mondod, kell audionhoz nagyantenna. Nálam a detektoroshoz kb. 50 méter huzal ment el, 2 méter magasan. Akkor ezt tudtam elkészíteni, igen jó eredménnyel. Ez jó audionhoz, meg szuperhez is. Az Orion 520 A-nál a Kossuth vételekor kiakadt a varázsszem
. Rövidhullámon is elég jó volt. Hosszúhullámon meg alig bírtam valamit hallgatni. A háború előtt meg ezeket a rádiókat tudták olcsóbban előállítani, de még működött is. Utána meg győzött a szuper a kezelésével, legalábbis hivatalosan.
Nekem egy 10méter hosszú antenna van kihúzva 2méter magasan.
Na, én is játszadoztam egy kicsit. Összedobtam egy detektoros rádiót, és kipróbáltam mindenféleképpen, ma mit lehet vele kezdeni vele az AM-en, mert 7-8 éves gyerek lehettem, amikor először próbálkoztam a detektoros rádióval, és semmiféle alapismerettel nem rendelkeztem, a mai fejemmel már azt értem, hogy az 50 ohmos telefonhallgató a rezgőkör meleg pontjára kötött diódán keresztül eléggé beterhelt a rezgőkörnek, azért tudtam rajta hallgatni csak egyetlen 1 adót, bárhova is tekertem. Bár azt én nem értem, miért van a detektorosoknak itt a fórumban külön immár százegynéhány oldalas topik?
A kábeltévés koax kábel külső burkát használtam antennának, és a hálózati védőföldet földelésnek. A helyzet az, hogy most sem találtam sokkal nagyobb impedanciájú hallgatót, a telefon hallgató betétben éppen hogy hallani, hogy szól benne valami. Lehet érteni is, hogy mit mond, de nagyon halk. Ezek után nem vétek, ha a továbbiakban egy nagy impedanciájú erősítőn keresztül hallgatom, miután Fet túl sok nem akad a fiókomban, megteszi egy darlington tranzisztor 10 megohmmal a kollektor bázis között. Ennek már elég nagy lehet a bemenő impedanciája. A diódát lezártam egy 2 megohmos ellenállással, mert ha csak a tíz nanofarados kondi van rajta, miután azt feltöltötte, nem fog kijönni belőle hangfrekvencia. Mert az erősítő bemenetére is csatolókondenzátor kell, 10 mikrofarad az túl sok, mert egy percen át töltődik, utána szólal meg az erősítőm, ez is azt bizonyítja,most már eléggé nagy a bemenő impedandia, egy 330 nanofarados elég lesz oda. Így még mindig a telefonhallgató bizonyult a leghangosabbnak, de egy zsebrádió kimenőtrafón keresztül már akár a 4 ohmos hangszóró is szépen szól, a lényeg az, minél nagyobb a membránja, annál szebb a hangja. Az eredmény végül is az, hogy ugyanaz a három adó jön be rajta nappal, mint a 7 tranzisztoros zsebrádión, és a legmodernebb full IC-sen. A tekercsleágazásokkal kapcsolatosan ugyanazt tapasztaltam, mint gyerekkoromban: A dióda csak a rezgőkör legmelegebb pontjáról a leghangosabb, az antenna ugyancsak halkabb vételt produkál bármely leágazásról, hanem egy 10-15 pikofaradon keresztül kell oda kötni, ahol a forgókondi és a tekercs találkozik. Ha leveszem a földet, kicsit halkabban, de akkor is szól. Antenna gyanánt ilyenkor a kábeltévés koax, a fűtés radiátor, vagy a hálózati védőföld ugyanakkora hangerőt produkál. Éppen szól még egy 1 méteres dróttal is ezek közelében, de csupán ferrit antenna ehhez a készülékhez még kevés. Ezek után kipróbáltam egy szupervevőt is a detektoroshoz használt "nagy" antennákkal. Abban csak a mindenféle városi zavarforrások által okozott zúgás nőtt meg nagy antenna használatakor, érzékeny rádiónál annak itt ma már semmi értelme, Párizs, meg Athén akkor sem fog bejönni rajta. Éjszaka meg nincsen Kossuth, csak egy két arabul, németül, szerbül karattyolós, és Vatikán. Madzagos, szép az a varázsszem, és a dobozod is szép, a munkádat nem becsülöm én le, és a tapasztalatot sem, amit az építésével szereztél, de én inkább lemondok a csöves audion kipróbálásáról. Ha egyszer talán nekilátok egy szép retrós doboznak, após szupervevőjét faragom majd bele, ma ott voltunk,és el is feledkeztem róla, nem baj, majd legközelebb elhozom, valamelyik kései csöves Videoton lehet, talán az R4100 Junior, ennek talán érdemes lenne egy szebb házat faragni, nem azért lett félretéve, mert nem szól, hanem kapott a szomszédtól egy szebb, tranzisztorosat.
Hopp, a képek meg lemaradtak. Na ennek szeretnék egy ilyen, vagy hasonló dobozt faragni, a muzeálisba nem offolhatok bele, mert ez nem restaurálás, de nem is építés, csak átépítés lenne, egy ilyen régiséget úgysem fogok már sem találni, sem kapni, ez a Videoton doboz, meg valljuk be, nektek sem tetszik. Mit szóltok, próbáljak meg belefogni?
Szia
Próbáld meg bátran! Veszteni nem vesztesz vele semmit,legfeljebb jót játszottál. Egy audiont összedobni nem sok idő próbáld ki bátran, jót lehet vele szórakozni. Tisztelettel Madzagos
Sziasztok! Mégiscsak találtam egy FET-et a fiókomban.
Idézet: Csövekkel azért sokkal nagyobb munka. Állítom, hogy semmivel nem tudnak többet. Nemhiába mentek ki a divatból. Sütnek, ráznak, és nagyon sokat kell fúrkálni a foglalatoknak. Bár össze tudnám dobni azt is ilyen légszereléssel, mit amit a képen láttok. Először is betettem a FET-et a detektorosom elé. Az éjjel ki is próbáltam pozitív visszacsatolással. A távoli adókat a + vcs. gerjedési határon tartásával be lehet egerészni. Reggel elkezdett adni a Kossuth. Az annyira üvöltött rajta, pedig már hangerő potenciométer is volt benne, egy 1 Megohmos, de torzított, akárhova halkítottam. hogy le kellett szedegetnem róla az antennát és a földet. Képzeljétek a Kossuth még ferrit antennával is üvölt. Kikötöttem a visszacsatolást, akkor nem lett torz a hangja. Így viszont, ha már csak az az egy adó hallgatható rajta, kidobtam belőle a forgókondit, hogy megmutathassam, milyen kicsi lett. Az a kis hangszóró a képen csak szemléltetésnek van, igazán szépen ettől nagyobb, lehetőleg dobozos kell rá, és telepes üzemhez nem ez a darlington, hanem egy IC-s végfok, akkor nem fogyasztana ennyit, mint így "A" osztályban, de tápegységről persze már így is jó. Talán egy TDA2822, vagy hasonló végfokkal telepről is gazdaságos rádiót lehet összehozni ezzel az 1 FET-es előfokkal. A FET nem akart igazán audionként működni, kellett a dióda utána, úgy sokkal hangosabb, mint az nélkül, azt a filléres diódát nincs miért sajnálni belőle, a csöves korszak legelején, azt hiszem még ilyen tűs diódák sem voltak, pedig ez az az alkatrész, ami igazán marékszámra van a fiókban. A FET előfok a rezgőkört nem terheli, és ezért ideális nagyfrekvenciás előfoknak. Nem a tizedére leosztott jel vezérli, mint a tranzisztorokat, éppen ezért ebben a kapcsolásban hatalmasat erősít. Ez a rádió biztosan nem gyengébb, mint a csöves elődjei. Csupán a pozitív visszacsatolás folytonos tekerészése állomáskereséskor, és az AGC hiánya miatt teljes hangerővel üvöltő román adók miatt ez a fajta egyenes vevő nem versenyképes a szuperekkel, bár építettem hajdanában egyenes vevőket AGC-vel, azok olyanoknak, akik főleg csak Kossuthtot hallgatták, már egész jól használhatóak voltak, ma meg már mást szinte nem is lehet nagyon hallgatni a középhullámon. Egyedül ez az, ami kimaradt gyerekkoromból, akkor még nem voltak FET-ek, pedig erre a helyre csak az a legjobb.„Egy audiont összedobni nem sok idő próbáld ki bátran, jót lehet vele szórakozni.” A hozzászólás módosítva: Szept 5, 2013
Ezzel a kísérletezéssel azt sikerült bebizonyítanom, hogy a detektoros rádió magasantennával és földdel éppen ugyanolyan hangos, mint az 1 FET-es kapcsolás csupán csak ferrit antennáról kézben. Találtam egy kis fogyasztású trafó nélküli végfokot is hozzá, telepes üzemre. Mindig gondom volt a komplementer vég nyugalmi áramának beállítása. Bármi van a két tranzisztor bázis közt, tizedvoltnyi telepfeszültség változás nagyon elállítja a nyugalmi áramot, ez ennél már nem lesz gond. Állítólag csak 2 mA a nyugalmi áramfelvétele keresztezési torzítás nélkül, kíváncsi vagyok, ilyen kis értékű bázis ellenállásokkal az beállítható-e? Azt a FET- es dolgot lerajzolhatom, ha valaki kéri, de a képen is szépen lekövethető, mi mihez van bekötve. Az orosz KP303 sajnos megadta magát, de raktam a helyére TV tunerból kivett MOS-FET-et. Azzal talán még jobb is lett. A Source és a negatív közt most már 1,5 kiloohm van, a Drain és a plusz telep közt 10 kiloohm, a Source hidegítő kondenzátor 2 nF, a Gate közvetlenül a rezgőköri tekecsen át kap földet.Egyszerű hangvégfok A ferrit antenna csatoló tekercseit a képen most lekötöttem földre, de azok voltak felhasználva a pozitív visszacsatoláshoz, a FET Drain, és a test közé egy 7-35 pF trimmerkondenzátorral lehetett állítgatni, lehet hogy visszakötöm, az állomáskereső forgókondenzátorral együtt, az helyett a képen egy ezüstösen fénylő 220 pF van betéve fixen Kossuthra hangolva, azaz a ferrit rúd kihúzásával lehet a készüléket hangolni, de találtam neki dobozt, amibe meg tudnám építeni normálisan, kár, hogy amiket ifjú koromban hallgattam, közép hullámon már egyik adó sem létezik, sőt, ha a Kossuth adót kikapcsolják, utána a románok egyeduralma következik. De hát FM rádióm is van egy kassal, csupán szórakozásból kísérletezgetek, nosztalgiázgatok. Elővegyem a PCF 802-t is csak hogy megnézzem, mire jó? Van hozzá kerámia foglalatom. Az eredetileg soros fűtésű csövet 9 Voltról lehet fűteni, megnéztem, de anódfesznek a hálózati 220 volt, attól félek, hogy meg fog rázni.
ha trafót használok arra is, ha egyáltalán találok, akkor meg a puffer elkóba nyúlnék bele. Mernék arra fogadni, hogy a trióda része nem tud többet, mint a FET. Talán a pentódája sem. Viszont a trafók miatt jó nehéz lenne. Lehet, hogy azt mégis kihagyom, egyelőre más dolgom is akad. A hozzászólás módosítva: Szept 6, 2013
Ennyire nem kell megijedni a 250-300 V anódfeszültségtől, csak jól kell kezelni, vagyis szigetelni kell. Készítettem csöves erősítőt is, meg vannak csöves rádióim, műszereim is, még egyik sem küldött el Szent Péterhez. Trafó szerintem elég lenne kb. 50 VA-es, mondjuk '60-as évekből származó VT rádióból. Bolgár rádiók trafóit ne használd semmiképp, azok már rázósak.
|
Bejelentkezés
Hirdetés |





. 




A kábeltévés koax kábel külső burkát használtam antennának, és a hálózati védőföldet földelésnek. A helyzet az, hogy most sem találtam sokkal nagyobb impedanciájú hallgatót, a telefon hallgató betétben éppen hogy hallani, hogy szól benne valami. Lehet érteni is, hogy mit mond, de nagyon halk. Ezek után nem vétek, ha a továbbiakban egy nagy impedanciájú erősítőn keresztül hallgatom, miután Fet túl sok nem akad a fiókomban, megteszi egy darlington tranzisztor 10 megohmmal a kollektor bázis között. Ennek már elég nagy lehet a bemenő impedanciája. A diódát lezártam egy 2 megohmos ellenállással, mert ha csak a tíz nanofarados kondi van rajta, miután azt feltöltötte, nem fog kijönni belőle hangfrekvencia. Mert az erősítő bemenetére is csatolókondenzátor kell, 10 mikrofarad az túl sok, mert egy percen át töltődik, utána szólal meg az erősítőm, ez is azt bizonyítja,most már eléggé nagy a bemenő impedandia, egy 330 nanofarados elég lesz oda. Így még mindig a telefonhallgató bizonyult a leghangosabbnak, de egy zsebrádió kimenőtrafón keresztül már akár a 4 ohmos hangszóró is szépen szól, a lényeg az, minél nagyobb a membránja, annál szebb a hangja. Az eredmény végül is az, hogy ugyanaz a három adó jön be rajta nappal, mint a 7 tranzisztoros zsebrádión, és a legmodernebb full IC-sen. A tekercsleágazásokkal kapcsolatosan ugyanazt tapasztaltam, mint gyerekkoromban: A dióda csak a rezgőkör legmelegebb pontjáról a leghangosabb, az antenna ugyancsak halkabb vételt produkál bármely leágazásról, hanem egy 10-15 pikofaradon keresztül kell oda kötni, ahol a forgókondi és a tekercs találkozik. Ha leveszem a földet, kicsit halkabban, de akkor is szól. Antenna gyanánt ilyenkor a kábeltévés koax, a fűtés radiátor, vagy a hálózati védőföld ugyanakkora hangerőt produkál. Éppen szól még egy 1 méteres dróttal is ezek közelében, de csupán ferrit antenna ehhez a készülékhez még kevés. Ezek után kipróbáltam egy szupervevőt is a detektoroshoz használt "nagy" antennákkal. Abban csak a mindenféle városi zavarforrások által okozott zúgás nőtt meg nagy antenna használatakor, érzékeny rádiónál annak itt ma már semmi értelme, Párizs, meg Athén akkor sem fog bejönni rajta. Éjszaka meg nincsen Kossuth, csak egy két arabul, németül, szerbül karattyolós, és Vatikán.
Madzagos, szép az a varázsszem, és a dobozod is szép, a munkádat nem becsülöm én le, és a tapasztalatot sem, amit az építésével szereztél, de én inkább lemondok a csöves audion kipróbálásáról. Ha egyszer talán nekilátok egy szép retrós doboznak, após szupervevőjét faragom majd bele, ma ott voltunk,és el is feledkeztem róla, nem baj, majd legközelebb elhozom, valamelyik kései csöves Videoton lehet, talán az R4100 Junior, ennek talán érdemes lenne egy szebb házat faragni, nem azért lett félretéve, mert nem szól, hanem kapott a szomszédtól egy szebb, tranzisztorosat.



ha trafót használok arra is, ha egyáltalán találok, akkor meg a puffer elkóba nyúlnék bele. Mernék arra fogadni, hogy a trióda része nem tud többet, mint a FET. Talán a pentódája sem. Viszont a trafók miatt jó nehéz lenne. Lehet, hogy azt mégis kihagyom, egyelőre más dolgom is akad. 




