Fórum témák
» Több friss téma |
- Ez a felület kizárólag, az elektronikában kezdők kérdéseinek van fenntartva és nem elfelejtve, hogy hobbielektronika a fórumunk!
- Ami tehát azt jelenti, hogy a nagymama bevásárlását nem itt beszéljük meg, ill. ez nem üzenőfal! - Kerülendő az olyan kérdés, amit egy másik meglévő (több mint 17000 van), témában kellene kitárgyalni! - És végül büntetés terhe mellett kerülendő az MSN és egyéb szleng, a magyar helyesírás mellőzése, beleértve a mondateleji nagybetűket is!
Ez egy PC táp , és a DBL494 1-es lábát vezérli ez a visszacsatolás , úgy mondjak azt hiszem , tehát a 12V-rol jon egy potméter 22k, majd egy 4,7k ellenállás innen kap vezérlést az IC és itt van lehúzva földre avval a 2,35k ellenállással . Amikor lecsavarom minimumra a potit akor kezd el sztrájkolni a táp , most mar nem tudta el égetni azt a hatalmas diódat.
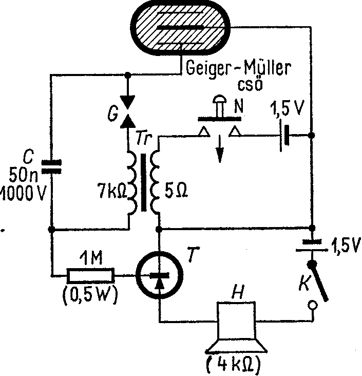
Sziasztok! Adott ez a plazma hangszoro kapcsolás, de valami oknál fogva egy idő után a benne lévő FET meghal. Teljesen tanácstalan vagyok. Kérlek tudnátok segíteni? Mi lehet a hiba oka? túlmelgedés? Kevés lenne neki a hűtő borda? Vagy a tekercs induktivitása vissza hat rá? Előre is köszönöm a segítséget! ATX tápról működtettem.
A hozzászólás módosítva: Dec 5, 2013
A rajzra is oda van írva: requires a large heatsink, vagyis nagy hűtőfelület kell neki. Nem nézted, mennyire melegedett, mielőtt elhalálozott?
Helló.egy olyan kérdésem lenne hogy ebbe az áramkörbe milyen tranzisztor jó még az OC1072-n kívül?Vannak itthon bontott 2sb-s típusaim,de a kapcsolásra azt írták hogy bármilyen germánium alacsonyfreqvenciás tranzisztor megfelel.Vagy esetleg jó lenne bele a 2N3906-os is?Remélem jó helyre írtam a kérdésemet.A válaszokat előre is köszönöm.
Nincs germánium, PNP tranzisztorod? Egy BC212 talán jó lesz oda.
Sziasztok
Beleestem egy hibába amin nem tudok uralkodni. Készitettem egy PIC-DS-LCD-s hőmérőt de az autoba ami viszont iszonyatos zavarokat képez a szivargyujton és nem tudom milyen tászürést kell alkalmaznom, hogy jó legyen. Valaki tud ebben segiteni?
Sziasztok! Kezdő lévén rengeteg kérdés merült fel bennem, ezért rengeteget olvastam, de mégis inkább úgy döntöttem kérdezek itt.
VILLOGÓ (LINK) a kérdéseim a kondenzátorral kapcsolatosak. ebben a kapcsolásban a kondenzátorok nem sülnek ki? ha teljesen feltöltődnek akkor szakadásként jelentkeznek nem? ha szakadásként jelentkeznek, akkor hogyan képes mégis kinyitni a hozzákapcsolt tranzisztort? köszi a válaszokat és bocs hogy ilyen ostobákat kérdezek.
Szia!
Te írtad, hogy feltöltődik, tehát megnő a feszültség a sarkain. Itt van a kutya elásva. Olvasnivaló.
Abból szerintem bőven akad.Akkor azzal lehet úgy helyettesíteni hogy a kapcsolás többi elemét nem kell megváltoztatni?
köszi a választ. először is tisztázzuk, jól gondolom, hogy az általam linkelt esetben a kondenzátorok sorosan vannak az áramkörbe kapcsolva(?). egyébként még mindig nem tiszta. a korábbi kérdéseim élnek. (esküszöm, hogy nagyon próbálkozom pedig
)a másik tranzisztor bázis-emitter vonalán történik valami? ú miközben írom e sorokat felvillant valami. lehet, hogy csak addig töltődik, amíg eléri azt a feszültséget ami kinyitja a másik tranzisztort?
Használd a válasz gombot és kezdd a mondataidat nagy betűvel. Az utolsó mondatodban jól látod a helyzetet. Szimulátor
A hozzászólás módosítva: Dec 5, 2013
Ismét köszi a választ! Tehát akkor a kondenzátor töltöttsége is megszűnik attól, hogy nyitja a tranzisztort? Jól sejtem?
Ha elszipkázza a tranzisztor a töltést, akkor bizony megszűnik az.
Jujj de nagyon köszönöm! 2 napja ezzel álmodom. Holnap valószínűleg beszerzem a szükséges alkatrészeket és hónapok múlva meg is építem hihi.
Sziasztok!
Van egy set top boxom, amin van SCART, és RCA kimenet is. Olvastam, hogy elvileg rá lehetne kötni egy monitorra, aminek van d-sub bemenete. Nézegettem képeket, megnéztem a d-sub kiosztását, a scart kiosztását, de nem jöttem rá, mit hova kéne kötni. Tudna nekem segíteni valaki?
Sziasztok! Nagyon vékony kábelt, éppenséggel egy hangszedőjét hogyan tudnám lecsupaszítani úgy hogy ne vágnám el? Köszi a tippet!
ezt próbáltam de kormosra égett. Maradok ennél csak óvatosabban akkor! Köszi!
Nem szabad sokáig melegíteni. Kicsit megolvasztod és gyorsan lehúzod amig még olvadt.
Ha nagyon kormos lett, használj nagyon finom csiszoló papírt. Levágsz belőle egy kis csíkot, összehajtod, és a két ujjad közé csippentve párszor finoman lehúzod. Aztán pedig bő folyatószer, gyanta, flux, ami van.
A körmöddel is le tudod húzni, ha olyan vékony. Esetleg óvatosan köröm csipesszel. A legjobb persze a blankoló fogó...
Sziasztok.
Tegnap vettem egy tekerős(dinamós) LED lámpát, egy perc tekerés, tíz perc folyamatos világítás - a leírás szerint. Na de nem is ez a lényeg, hanem a bekacsoló gombjának van három funkciója:1. gombnyomás egy LED, 2. gombnyomás három LED, 3. gombnyomás villogás, negyedikre kikapcsol. Csak érdeklődés szintjén arra lennék kíváncsi, hogy ezt hogyan oldották meg egy gombbal? Talán valami mikroprocesszor van benne? Köszönöm. A hozzászólás módosítva: Dec 6, 2013
Mikroprocesszor nincs, de mikrokontroller könnyen lehet.
Ezt akartam írni, csak hát ugye a kor(kór), és ez, nagy vonalakban, hogyan teszi a dolgát?
A hozzászólás módosítva: Dec 6, 2013
Sziasztok,
Szeretnék venni egy 5M-es ledszalagot 300db SMD 5050 RGB leddel. Mekkora tápot válasszak mellé? Hogyan tudom egyszerűen magam is kiszámolni? Köszönöm, Ádám.
Hello! "és ez, nagy vonalakban, hogyan teszi a dolgát?" Pont úgy, ahogy leírtad..
üdv!
Köszi a "kimerítő" választ, de nem kell mindent szó szerint érteni...
Üdv! Tönkre ment egy kis mini USB-s telefontöltőm. Csináltam egyet L7805-ös IC-vel de eszembe jutott egy korábban látott IC védelem és kíváncsiságból berajzoltam az ott látott szisztéma szerint 2 diódát az áramkörbe. Azt remélem, hogy ha megszűnne az áramkör tápfeszültsége D1 nem engedne visszáramot az IC-re, fordított polaritás ellen is védene (?) D2 pedig visszanyerné az elvesztett 0.7V-ot a kimenőből a test megemelésével.
Jól gondolom? Köszönöm a figyelmet! A hozzászólás módosítva: Dec 6, 2013
|
Bejelentkezés
Hirdetés |






)
üdv! 



