Fórum témák
» Több friss téma |
Fórum » Elektroncső
Ezt dobta.
Ez regisztráció nélkül is elérhető. Én nem regisztráltam, mert 25 dollárba kerül.
Én is benéztem regelés nélkül, de nem 'dobta' nekem, csak sok egyebet.
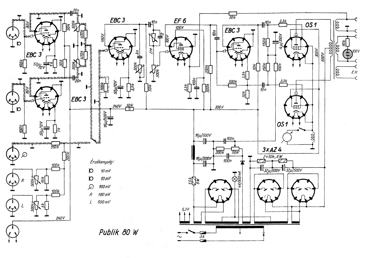
Hazai gyártású erősítőkben is használták.
OS1 50ˇ évekbeli ára 242.- Ft, 18/600: 230,40 Ft volt (Tungsram cső katalógus).
Azért nem volt olcsó az akkori 7 - 800 Ft -os fizetésekhez képest. (- békekölcsön)
Bizony ám! Én ECC83 (43,20) és EL84 (32,90) csövekkel kezdtem és még emlékszem az áraikra...
EBL21, 78 forint 50 fillér
1969 márc. 29. Főv. Keravill 21. sz. bolt
Ó, akkor már 1500 Ft volt a havi fizetésem, és 50 100 Ft -ból bőségesen meg lehetett vacsorázni, jobb helyen is.
A hozzászólás módosítva: Jan 4, 2016
Akkor az EBL úgy 5%-a volt a fizetésednek, ami nem tudom mennyire számított átlagosnak.
A KSH szerint most nettó 160eFt az átlag, ehhez képest a hasonló kategóriájú JJ EL84 ingyen van 10,5 euróért (3300 Ft, vagyis 2%).
Nem tudom mennyire átlagos, de akkoriban 3000 Ft -nál többet nem sokan kerestek. (egy főosztály vezetőnek volt ennyi, igazgatóét nem tudom) Sok minden (relatíve) olcsóbb lett, akkoriban a műszaki cikkek kifejezetten drágák voltak.
A hozzászólás módosítva: Jan 4, 2016
Csak, hát a statisztika olyan-amilyen (most pláne
). Nekem 1800 volt ugyanakkor, és az átlagos is, meg igaz is volt. Nem statisztikailag. A hozzászólás módosítva: Jan 5, 2016
Az OS1 nyugati megfelelője a PE 06/40 cső. Itt az adatlapja:
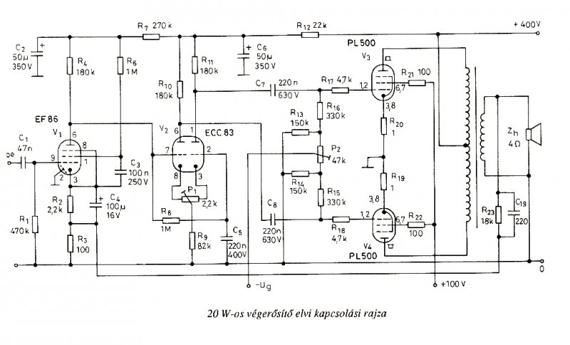
Van valami alapvető különbség PL500, 504 és 509 között? Ha az 504 és 509 helyére 500-at teszek, át kell számolni az ellenállás értékeket? Ezen linkk közül csemegéznék, de csak 500 cöveim vannak.
Az 500 az 504-el csereszabatos, de az 509-es az más kaliber.
EL34/PL500? A fűtés tudum eltér az E és a P széria között.
Találtam egy EL34-es kapcsolást a 2001 RT ÉK-ban, aminek a kimenője pont olyan vasra van tekerve, ami van nekem is. Ha csere szabatos, akkor nem bajlódnék a kimenő méretezéssel. Vagy ha nem, akkor értékben hogy hasonúlnak egymáshoz, mert akkor elcserélem, vagy eladom, és konkrétan azt a kapcsolást építem meg.
RT-ben valahol a 90-es évek közepe táján volt PL500-al is 30W körüli PP kapcsolás, ha emlékem nem csal.
Ha PL500-as csöveid vannak, akkor ahhoz tervezett kapcsolást építs. Bővebben: Link
Bővebben: Link Inkább nézelődj a csöves erősítő építés fórumban, ezek is onnan valók.
Köszönöm kapcsolást!
De ennek nem vagyok híján, rá guglizva is annyi mint égen a csillag, csak tudnám mi az ami a legjobb! Itt kimenővel vagyok bajban, de majd megoldom akkor. Ez a téma már máshova tartozik, itt már off.
A csöves végfokok kapcsolása kevéssé tér el egymástól. Hogy milyen lesz a hangja, azt elsősorban a kimenőtrafó határozza meg.
Jópár éve építettem PL500PP-t, de volt hogy 504-et raktam bele, csereszabatosak.
400V anódfeszültséggel 40W kivehető belőle, ezt mértem.
Köszönöm a segítséget!
Maté: ezt a 40W-tot már írta más is, de érdekes. PL50X-ekkel jellemzően 10-20W-os kapcsolások vannak, 1-2 30W elvétve, de e felett már inkább az EL34 a jellemzőbb. Esetleg nem szeteti a cső ezt a magasabb anód feszt? Na meg hát a csövek az anód áramra érzékenyek, az meg korlátozható.
Ezek a csövek elsősorban a segédrács feszültségére érzékenyek, ami nem lehet magas, mert különben elszaladnak (lásd pl. APX100-nál ha meghibásodik a VR150). Szét is lehet őket hajtani, elvégre olcsó pótolni őket (már használt anyagból), de én mégis inkább a mérsékeltebb teljesítmények felé terelnélek, jobb minőségért cserében. 25W vagy 30W PP.
Az EL34-et meg ne keverd bele, mert másra készült cső. A PL-ek impulzus üzemre lettek kitalálva, az EL34 meg hangfrekvenciára. A hozzászólás módosítva: Jan 5, 2016
Csak érdekességképpen írtam a 40W-ot, 20-30W-os kapcsolásokkal találkozni.
Nálam 150V Ug2-vel megy.
Elektron csöveket gyűjtök s van 1-2 cső amiről semmit sem sikerült kiderítenem.
Tudom az utolsó nem elektroncső de 1 rakás cső között volt. Ha valakinek van kedve cserélgetni vagy van eladó érdekes csöve az érdekel.
A harmadik egyértelműen fotocella, de a negyedik is sanszos.
A hozzászólás módosítva: Jan 11, 2016
Viszont az első kettő azóta sem hagy nyugodni... Tudnál más nézetből is képet készíteni?
Az utolsó szerintem villanócső vagy valami gázos gerjeszthető cucc. A második meg szerintem valamilyen speciális dióda.
Az első erősen mágneses és ugyan az látszik körben a második sem mutat mást a másik oldaláról sem de ha gondolod holnap körbe fotózom.
Ha tényleg "gyüjtő" vagy, akkor ezt tarsd meg és ne add oda, bármit is igérnek...
Bár nekem, esetleg A hozzászólás módosítva: Jan 11, 2016
|
Bejelentkezés
Hirdetés |








). Nekem 1800 volt ugyanakkor, és az átlagos is, meg igaz is volt. Nem statisztikailag.
De ennek nem vagyok híján, rá guglizva is annyi mint égen a csillag, csak tudnám mi az ami a legjobb!
Itt kimenővel vagyok bajban, de majd megoldom akkor. Ez a téma már máshova tartozik, itt már off. 






