Fórum témák
» Több friss téma |
Fórum » Csöves erősítő készítése
Ne feledd betartani a fórum viselkedési szabályait, és a topik megmaradásának feltételeit. [link]
A téma átmenetileg fagyasztva lett, hozzászólni nem tudsz!
Szia!
Skori weblapján van egy nagyon jó egygombos ki- és bekapcsoló áramkör, relével meg lehet oldani. Tesómék JLH erősítőjébe is ez van beépítve, egyetlen nyomógombbal lehet bekapcsolni és kikapcsolni az erősítőt, tehát bizonyítottan bevált. Én ezt javaslom Neked. Nincs benne semmi komplikált, nagyon egyszerű a megépítése.
Konkrétan melyik az a 4011-es?
Ebben a topicban van,de a BSS-es rajzot is sokszor megépítettem már (egyszerű bistabil kapcsolás).
A hozzászólás módosítva: Márc 3, 2017
Köszi mindenkinek a tippeket, ezek közül már jó lesz valamelyik.
Hozzászólásaid alapján ez Neked nem lehet probléma...Cél?
A Mechlabor STM 200-as sorozatú magnók nyomógombsora az egyik legfincsibb cucc amihez szerencsém volt.
Ha építesz hozzá némi kiegészítő áramkört, örök élet +1 napra meg van oldva a problémád. Ha nem is találsz ilyet, legalább a működési elvét érdemes megnézni, itt írnak róla, a "Nagyon szép megoldás a futómű üzemmódvezérlése" c. résznél: Bővebben: Link És nem igaz hogy nagy erő kell hozzá.
Szerintem is elbírnék a feladattal. A cél csak annyi, amit alant írtam, egy finom hálózati kapcsoló a leendő előerősítőhöz. Igazán csak a dizájn miatt gondoltam a nyomógombra, mert a terv szerint kölsőre ugyanúgy nézne ki mint a bemenetválasztó jackley kis forgatógombja, csak ezt nyomva kapcsolna. Gondolkoztam olyan megoldáson is, hogy a bekapcsoló is forgókapcsoló lenne, de abban is csak kemény, bumszli kivitelűeket találtam.
Köszönöm! Egyik fórumtársunk felajánlotta, hogy segít itt Miskolcon!
Szia! Elkészült a fojtó. A gyártó szerint 10-15 H között van az értéke. Pontosabban műszer hiánya miatt nem tudja megmondani. A kérdésem az lenne, hogy hogyan hangoljam? Most 220 nF kondi van párhuzamosan kötve vele.
Bocs hogy hozzászólok. Mea Culpa.
Érdekes egy "gyártó" lehet. A picon mindegy, 10, vagy 15 kiló húst kapsz a pénzedért??Nem mindegy. Segítésképpen: Fogsz egy hanggenerátort (ez minimum kell !). A trafóval párhuzamosan vagy sorosan kötött 220 nF maradhat első körben. Egy soros 1K-s ellenállással rákötöd a hanggenerátorra a rezgőkört. Váltófesz mérővel, a hanggenerátor frekvencia változtatásával megkeresed a rezonancia pontot (max vagy minimum érték). Ha ez nem 50 Hz-en van, addig változtatod a kondit, amíg 50 Hz-es hanggenerátor állásnál lesz a rezgőkör maximuma vagy minimuma. Tudod. A Thomson képlet A hozzászólás módosítva: Márc 13, 2017
Így nehez megmondani, lenyeg 100Hz rezonanciara hangolni.
Bocs. Igaz. 100 Hz.
A gyártó Lajos Tibor. Bizonyára ismeritek. Hanggenerátorom nincs
. Ha nem hangolom azzal van probléma? Miért fontos az a 100Hz. Mit kellene tapasztalnom? Miért pont 100 Hz? Csak kérdések nem kötözködés.
Ja egyébként fülre a tapasztalatok, a fénycső fojtóhoz képest. A sztereó tér sokkal rendezettebb lett. A tér eloszlik a hangfalak között. A hangszerek meghatározott helyűek lettek. Ezek az egyértelműen tapasztalható különbségek. Magas, mély átvitel nem változott jelentősen. A hangkép kiegyenlítettebb, a hangzás talán nyugodtabb, teltebb. Szóval szebben szól, de óriási különbségek nincsenek. Ezért vagyok arra kíváncsi milyen eredménnyel járhat a behangolás.
100Hz az egyeniranyitas miatt, egyutas eseten 50Hz lenne.
Kihangolt rezonancian legnagyobb a fojto AC ellenallasa, hatasosabb a szures. A hozzászólás módosítva: Márc 14, 2017
Ez esetben jó hanggenerátor: egy néhány Voltos szekunderű hálózati trafó Graetz-el egyenirányítva (szűrőkondi itt nem kell), pl. 1-2 kohm sorba, a párhuzamos hangolókondit cserélgetve akár bármilyen DVM-el indikálható a legkisebb feszültség (kipróbált módszer).
A hozzászólás módosítva: Márc 14, 2017
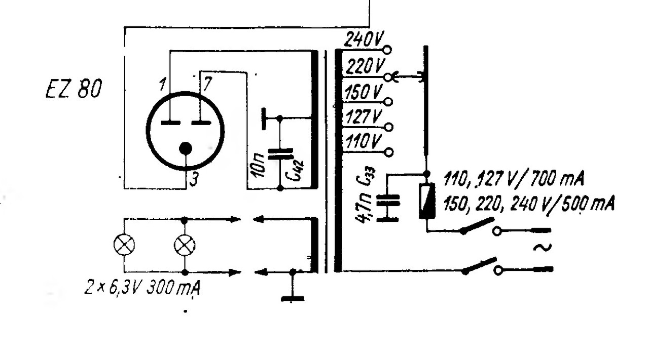
Sziasztok!
Mos készítek egy táppanelt EZ80-al. A kérdésem az hogy ki kell-e közepelni a fűtését, vagy nem muszáj? Külön fűtést kapna.
Az egyenirányító fűtőtekercsét csak akkor szokás közepelni (vagy az egyik felét testelni), ha az összes többi cső fűtése is arról megy.
Egyébként vagy felhúzzák tápfeszültségre, vagy hagyják lebegni. A csatolmányokban mindegyikre találsz példát. Egyébként mindegy, mert az EZ80-nak elég nagy a Vkf-je.
Az egyenirányító csőnek illik külön fűtést adni. A fűtőszálának közepelése (földhöz) veszélyes mutatvány, tekintettel az ei cső fűtés katód feszültségére. Az egyenirányító cső katódja a + tápfeszültségen van, ezért ha a fűtését kötik egyáltalán valahová, akkor az a + tápfesz. Az EZ80 Ufkp feszültsége ugyan 500 V, de jobb nem kitenni nagyobb feszültségnek.
A külön fűtést is az indokolja, hogy ha az ei cső fűtése katódja valamiért átüt, akkor közös fűtés esetén zárlat keletkezik. A hozzászólás módosítva: Márc 15, 2017
Én a fojtóval párhuzamosan nem tennék semmilyen kondenzátort, mert rezonanciára lehet hajlamos, ami rosszabb, mintha semmi nem lenne ott. A fojtótekercs elhelyezése is lehet kritikus, minél messzebb a bemenetektől és a hálózati transzformátortól is.
A két szűrőkondenzátorral párhuzamosan ajánlott MKT, vagy MKP kondenzátor beépítése, ez segít az ELKO-kat "hidegíteni", értéke 100nF-1µF között bármilyen, csak jó lehet. Üdv!
Van igazad, meg nem is. Létezik rezonáns fojtó, akkor hasznos, ha egy meghatározott frekvenciát kell szűrni. Ha több frekvencia van jelen, akkor okozhat problémát. Pl. ha nagy a jel harmonikus tartalma, ami az egyenirányított, pufferelt feszültség brum feszültségénél fennáll, akkor nagyon könnyen keresztmoduláció állhat elő, amit aztán lehetetlen kiszűrni. A keresztmoduláció abból adódik, hogy a harmonikus frekvenciáknak eltérő a fázistolása, és a körben nemlineáris elem (dióda) is van.
Ennek éppen az a lényege, hogy 100Hz-en rezonáljon.
Igaz. Ha pontos az 50Hz (általában pontos) a hálózatban, egyszerűbb a hálózati fojtó mérése, nem kell hanggenerátor. Általános mérési metódust vázoltam nagyobb induktivitás mérésére.
Rendben.
![]() De, arra nagyon kell figyelni, hogy csak meghatározott áramterhelés esetén működik megfelelően, magyarul, A-osztályú erősítőben, előerősítőben, műszererősítőben, ahol az áramingadozás alacsony, tehát itt szinte állandó-áram folyik, így a rezonáns fojtó hatékony lehet. Változó áramterhelés esetén pedig, nem fog megfelelő szűrést biztosítani és nem kívánt rezonancia is felléphet, ami rossz irányba befolyásolhatja a táplált áramkör működését, mindössze erre szeretném a figyelmeteket felhívni. Üdv!
Igen, bocs, igazad van.
A diskurzus A osztályú erősítőkbe szánt tápokról indult, de közben kibővült a hatókör. Ez az információ időközben már nem volt egyértelmű a azok számára, akik később csatlakoztak bele.
Sziasztok!
Összeraktam ezt az OTL erősítőt 6H13C + E88CC csövekkel.. A kérdésem az hogy a 6H13C cső katód ellenállása 3k3 14 W-os, és mégis nagyon melegszik. 80 V van rajta. Rendben van ez így? A hozzászólás módosítva: Márc 16, 2017
|
Bejelentkezés
Hirdetés |



A picon mindegy, 10, vagy 15 kiló húst kapsz a pénzedért??
. Ha nem hangolom azzal van probléma? Miért fontos az a 100Hz. Mit kellene tapasztalnom? Miért pont 100 Hz? Csak kérdések nem kötözködés. 








