Fórum témák
» Több friss téma |
Fórum » TV hiba, mi a megoldás?
Üdv. Adott egy tv, rajza a mellékletben. Vizszintes csík volt rajta.
Nem kapott feszültség a függőleges eltérítő. A VD144 zárlatos volt, és az R157 elégett. Ezek alatta nyák barna volt, tehát jól fűtöttek. Kicseréltem mindkettőt, használtam vay 8 óran keresztül, jó volt. Visszaadtam a tulajnak, hát ő 8 órát se érkezte nézni, azt mondja ugyanaz a baja. Gondolom megint elégtek, de miért?
Szia! Az R157-hez a VD151 tartozik. Biztosan a másikat cserélted?
Elnéztem, azt cseréltem amit írsz, ami az IC tápjához tartozik.
Na, van ott még egy két dolog, jóféle kerámiakondi meg elkó. Tessék alaposan átvizsgálni a tápvonalat. Ha az IC működőképes marad egy ilyen zárlat-szakadás után, akkor valamilyen banális hibáról lehet szó.
Tápvonalon van 2 elkó, 2 kerámia, meg egy dióda. Ezeket majd cserélem. De egyéb lehet még? Vagy inkább cseréljem a kondikat a környéken?
Üdv.
Megérkezett az új trafó! Kérdésem lenne,hogy van egy lába ami az újon direkt elvan hajlítva de a réginél be volt forrasztva a panelra. Ezt be kell kötni vagy hagyjam úgy ahogy van? Meg a Focus-Screen potikat milyen állásba állítsam hogy induláskor ne legyen semmi gubanc.?
Hajlítsd vissza és forraszd be azt is.
A kerámia kondik ritkán ugyan de átvezethetnek, ha zárlatot mérsz dobd ki a táp-ból, amennyiben a szekunder részen, akkor nyugodtan bekapcsolhatod a tv-det, feláll a táp, és működni fog.
Na végre beindult a masina!
Skreen potin kicsit állítottam mert nagyon sötét volt a kép. Mi a helyes beállítás?
Annyira tekerd fel a screen-t, amíg még éppen nem jelennek meg a visszafutási csíkok. A fókuszt pedig a legélesebb kép megjelenéséig. Szép munka, gratulálok!
Nagyon szépen köszönöm! Szép éles a kép.
Ja, találkoztam már zarlatos kondival. De itt kondik jók. Ami újra zarlatos lett, az a dióda, és az ellenállás szakadt. Most cseréltem az IC táp vonalán a 4 kondit is... Meglassuk mi lesz.
Sziasztok!
Vettem egy szovjet hordozható kis tv-t, egy TeleStar 4004-es készüléket. Szép erős fényű képet ad és a hangja is jó, de sajnos az a baj, hogy a kettő nincs együtt. Ahol a hang tökéletesen tiszta, ott nincs kép, csak némileg futó fehérség, ahol meg kép van, ott ha nagyon finoman játszom vele sikerül egy keveset elcsípnem a skálán lentebb levő hangból... Tudnátok megoldást a problémára? Félek rosszat tettem, mert van a készülék alját két potméter (a függ. és vízsz.korrekció), aminek a takaró burkolatát leszedve még négy állítószervet is össze-vissza csavargattam, remélve, hogy oda húzható a kép ahol a hang jó... Illetve a mellékelt képen pirossal bejelölt potmétert is véletlenül elállítottam. Aztán visszatekertem, ahol lehetett eredetileg, de kérném segítségetek, hogy mit állítanak ezek a potik? Lehet e megoldást találni a kép-hang összeegyeztetésre? Illetve ahol a kép van, ott sem valami jó minőségű, elég kásás... Hogyan lehet a legjobban beállítani a képet? A hozzászólás módosítva: Jan 11, 2019
A legjobban fogható kép, sem valami jó minőségű...
A kis TV valószínűleg keleti (6.5 MHz kép-hangvivő távolságú), a mai magyar szabvány pedig a nyugati (5.5 MHz) szabvány. Át kell hangolni a TV hangfokozatát. Ezt lehet a tekercsek hangolásával, 1MHz-s panellel.
Ezt el tudja végezni egy amatőr is?
Van egy Sony 112um típusú tévém is, amin nagyszerűen megvan a hang es kep együtt. Ennek ccir hangnormája van,és ennek a kis tv-nek is. Es be is jön a hang, csak kissé odébb, ahol eppen nincs már szép kép. Tévedek, ha azt gondolom, hogy nem kell áthangolni? Hiszen ez nem csak akkor kellene, ha nem lenne hang? (Ha oirt normás lenne?) A hozzászólás módosítva: Jan 12, 2019
Nem, rájöttem, butaságot írtam.
Akkor ezek szerint hiába olvastam ccir normát ehhez a típushoz, az oirt miatt van odebb a hang... Hogyan hangolhatnám át házilag?
Anno én egy orosz tévével próbálkoztam: kapcsolási rajzot kerestem hozzá amin segítséggel beazonosítottam az állítandó tekercset amit utána már csak állítgatni kellett. Tehát azt javasolom hogy te is keresd meg a megfelelő tekercset a hang fokozatban és a tévé bekapcsolt állapotában tökéletes kép mellett addig tekerd míg a hang is tökéletes nem lesz!
Amennyiben megleled a megfelelő tekercset,meg lehet csinálni.De óvatosan kell a vasmagot tekergetni,mivel könnyen szétreped,és akkor már csak rombolással szedhető ki. Tegyél fel egy pár képet a tuner és KF paneljéről!
Köszönöm!
Nagyon örülök! Valaki azt mondta, hogy egy ilyen állítással az a baj, hogy minden egyéb hangolható alkatrészt at kell hangolni, ami túl nagy játék, hozzáértés nelkül lehetetlen... De ha eleg, hogy szóljon, és nem megy tönkre tőle, ha szerencsésen át tudom állítani, akkor az nagyon nagy öröm volna. Lefotóztam a belsejet. Mellékelem a képeket. A hozzászólás módosítva: Jan 13, 2019
Elcsavartam gondatlanul a benyilazott alkatrészt.
Ennek hogyan lehet helyreállítani eredeti állapotát?
Szia!
Visszacsavarod az eredeti helyzetébe azt a trimmerpotenciométert és már kész is van. Ha nem tudod, hogy hogyan állt, akkor tekerd középállásba. Viszont nekem az a gyanúm, hogy ez egy kétnormásított (OIRT-CCIR) készülék, mivel van benne egy négytekercses TBA120 IC-s hangpanel.
Akkor, miért nincs együtt a kép és hang?
Esetleg meg tudnátok jelölni nekem, hogy melyik tekercset kellene hangolni? A hozzászólás módosítva: Jan 13, 2019
Ha ketnormásított, kellene lennie kapcsolási lehetőségnek a hangnormák közt?
A hozzászólás módosítva: Jan 13, 2019
Sziasztok! Pár honapja kaptam egy Lg 55LE5500 tipusu 140es tvt ami rávolt kötve pc-re...eddig jo volt de ugy kb 2hete nyugdijba mehetett a hdmi vezérlö mert egyszercsak nem vette aa jelet egyik hdmi porton se....át raktam a vga portra akkor és eddig jo volt.viszont most kb addig jut a tv bekapcsoláskor hogy ki irja az lg feliratot és onnan se elöre se hátra...csak kikapcsolásra reagál...valakinek valami ötlete?menthetö vagy kuka?8 éves a csepség....
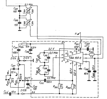
Nem kell kapcsoló, mert ehhez nem kell. Ha 6,5MHz-es segévivőt kap, akkor azt demodulálja, ha 5,5MHz-eset, akkor azt. A négy tekercs közül kettő az 5,5MHz-hez tartozó sávszűrő és demodulátor tekercs, a másik kettő pedig a másik normához tartozó.
Egy ilyen orion hangmodult tettek a készülékedbe, amiről levágták a végerősítő részt. A rajzokon láthatod, hogy melyik tekercs tartozik az 5,5 MHz-hez, azokon kellene állítani, ha lehet. Persze ha eleve jól van bekötve ez a hangmodul...
Szia!
Ezeknek a régebbi LG-knek típushibája a main processzor körüli SMD elkók tönkremenetele, ami újrainduláshoz és bizonytalan működéshez vezet. Érdemes a cseréjükkel kezdeni a javítást. Persze itt is egy általános tápellenőrzés, púposkondi keresés az első lépés.
Köszönöm!
Megkérhetnélek, hogy segíts, hogy jó rajzot talaltam-e, hogy melyek azok a tekercsek, amik nekem kellenek? L201, L203? |
Bejelentkezés
Hirdetés |

















