Fórum témák
» Több friss téma |
Fórum » Csöves erősítő készítése
Ne feledd betartani a fórum viselkedési szabályait, és a topik megmaradásának feltételeit. [link]
A téma átmenetileg fagyasztva lett, hozzászólni nem tudsz!
Képek meg lemaradtak és már nem engedett módosítani.
Gondolom a kimenőt 8ohmra szeretnéd? Mert akkor a szekundert át kell számolni. Nagyon egyszerű kapcsolás. Biztos jó lesz. Ha elég a 60Hz-12Khz frekiátvitel akkor ezzel a kimenővel jó lesz csak más szekunder menetszám, mint írtam. Ha jobb átvitelt szeretnél akkor nagyobb keresztmetsztű kimenő kell és a tekercseket jobban osztani kell. Ez a frekiátvitel nem azt jelenti hogy egyáltalán nem lesz mély és magas csak korántsem 8W.
A potikat ne állíts el, csak a hangerő utáni potit. A többi valószínű be van állítva. Mérés nélkül nem szabad elállítani. A torzítás valószínű a végcsövek miatt vannak.
P2 állíthatod P7 brummot tudsz vele csökkenteni, P6védelem beállítás P3-P4 a végcsövek munkapontbeállítása. Az R-21 és R-22 ellenállás lábain mérd meg hány milivolt feszültség van. A kettőnek egyformának kell lenni. nálan a régi csövekkel, de még jól szólnak 45 mv. A rossz csövekkel ami torzitott asszem 23 mv mértem
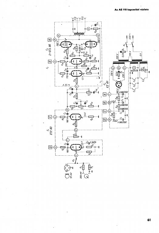
Nézzünk két BEAG trafót ECL 86 PP-hez (pcl-hez ugyanaz jó).
1. AE 110 trafója M65 5,6cm2-es M vason (EI-re ugyanannyi menet kell ugyanakkora magkeresztmetszetre). Az erősítő 10 W-os szép hangú, egyszerű szerkezet. A primer 2*1312 menet 0,18-as huzallal, tehát összesen 2624 menet. A szekunder itt 3 részre van osztva, 5 és 15 ohmra illesztett. 2. AE 211 2*12 W-os igazi HI-FI csemege. Ennek a kimenője M85 vasra van tekerve, 16,5 cm2 magkeresztmetszetű. Ennek primerje összesen 1870 menet, 6 részre osztva (kereszben is kettéosztott, tehát 3 szinten). Ugyanezt a trafót használta a BEAG a 10 W-os EL 84-es PP-jéhez is (AE 785/A). Fentiekből látható, hogy a te vasadra elegendő lenne 2000-2500 menet közötti primer menetszám, a hozzá tartozó áttétel szerinti menetszámmal (és azt javaslom fogadd ezt meg, mert különben türhetetlen lesz a magasátvieled). Ra-a lehet 6-7,5 K között. Oszd a primert 4 részre, a szekundert 2részre, az úgy még nem bonyolult. 600 menet primer(0,2-es)-szkunder, vagy fél szekunder(0,8-0,9-es)-2*600 menet primer-szekunder, vagy fél szekunder-600 menet primer. Fél szekunderek esetén nyilván sorba kötődnek és lehet 1 mm-es is a huzal.
A k2 az a kétállású kapcsoló, ami az erősítő elején van egy műszer alatt. Ezzel tudod ellenőrizni jól vannak-e beállítva a munkapontok. A két végcső katótáramát mutatja, de el kell felejteni mert nem pontos. Multiméterrel kell mérni miliampert. Vagy ahogy az előbb írtam, a 1 ohmos ellenállás sarkain milivoltot.Ahány milivolt annyi miliamper.
Kösz,tényleg nem annyira bonyolult
.Szerintem így tekerem majd meg,ha végre meglesznek a jó menetszámok.Már csak azt nem értem,hogyha rendesen kiszámoltam,akkor miért jött ki 4600menet,és miért rosz,hiszen a képletek alapján(ha nem számoltam el)annyi a primer.(8ohmra).Ja,a katalógusban 9,1k az Raa 300V-nál. Igazából ez az egész kimenőméretezés (még )elég idegen nekem.Nagynehezen sikerült valamit számolnom kocos régebbi levezetése alapján,de hogy miért jött ki 4600menet?,jó-e egyáltalán?,egyáltalán mi is az a 4600menet,a két primer egyben,vagy csak az egyik?....ezeket nem tudom.Vagyis a képlet az össz primer menetszámot,vagy csak az egyik felet(amiből kettőt kell tekerni)adja meg?
Számos trafószámolási képlet van. Legfőképen abban különböznek, mennyire "populárisak" (minél több dolgot hanyagol el, egyszerűsít le, annál könnyebb vele számolni). A gyakorlatban jól használhatók, de rugalmasan kell őket kezelni. Nem árt a nagy elődök bevált trafóit is szem előtt tartani, ha saját trafót tervezünk.
A képlet jó, amivel számoltál, de 20-25 Hz-en nem kell 0,6 T-val számolni a vas indukcióját, ott jó az 1 T (50 Hz körül kell 0,6 T), mélyhangok felé egyre kevésbé érzékeljük a torzítást. No persze jó az általad számolt 4600 menet is 9,1 K Ra-a ra 25 Hz-en is 0,6 T indukcióval, csak akkor már a szórt kapacitások miatt igencsak rafináltan kell osztani a trafót (keresztben is osztva és sok részre- nehéz jól elkészíteni). A képlet anódtól anódig, tehát az össz menetszámot adja.
Volt egy kis időm.
Beszereltem a csatlakozókat és a foglalatokat. A trafók burkolata valószínűleg fekete lesz.
A két kimenőt és a táp trafót egyetlen nagy doboz foglya takarni.
Lehet benne valami hogy így sok lenne a fekete. Lehet hogy az alap színével festem le azt is.
Sziasztok!
Elkészült az ECL82-es erősítőm. Köszönöm mindenkinek a segítséget. A búgást sikerült csökkentenem, úgy hogy az 5-ös lábat testre kötöttem. Még mindig volt egy kis alapzaj ekkor eszembe jutott hogy egyenirányírani kéne a fűtés hátha jobblesz. Megcsináltam és a búgás teljesen eltűnt. Csatolok egy képet a próbaüzemről.
Sziasztok!
Megint én LEtt egy kis gondom. Ha a váltó 6.3 V-ot egyenirányítom akkor csak 3.2 V-ot kapok. Mit csináljak most? hogyan fűtsem a csövet egy másik trafóról? És a fűtőfeszt lehet stabilizálni? mert sztem a cső elfűt 1A-t.
Helló
Lenne egy kezdő kérdésem. PCL85-ös csőből is lehet erősítőt csinálni, mint a 86-osból? Nem igazán találtam ezzel készült kacsolást.
Helló
Ha 6.3V-ot megszorzol gyök kettővel az nem adja ki a valódi eredményel mert a diódán is esik feszültség ami ilyen alacsony volton nem hagyható figyelmen kívül. A váltóárammal történő fűtés totál rossz akár vannak kusza vezetékek akár nincsenek.
Én egyész gyakorlaton ezt próbálgattam, hogy miért zúg, és akármit csináltam vele nem hallgatott el, csak ha egyenirányítottam a fűtést
Mekkora kapacitású elkot kötöttél rá ?
Igazad van a diódákon mindig esik feszültség és még a trafó fűtőtekercse belsőellenállásán is . 6,3V egyeniránytva min. 4700u elkoval szűrve , megfelelő terhelhetőségű trafóval nem lehet 3,2V , esetleg kondi nélkül .
igen, nem raktam rá kondit. Ha rakok az megemeli a feszt
Akkor az a baj , szinte gondoltam .
Tegyél rá 10V 4700u , esetleg 2200u és még több is lesz kicsit a feszültséged 6,3V -nál .
ok. A fűtés vezetéke megvan 0.5 mm és a kettő nincs össze összesodorva.
ok kösz. MAjd kipróbálom és beszámolok az eredményről.
Nekem a macik általában a segédrácson jöttek be ha egyből arra a +ra volt kötve mint a kimenő. Be kellett utána tenni egy RC szűrőt és csend lett. Azóta már mindig úgy építek. Ez az első kapcsolásnál volt majd 2 éve mikor kezdtem a csövezést
. Egyennel még nem fűtöttem soha és nem is fogok végfokoknál. Majd csak talán gitár előfoknál és persze lemezjátszó előfoknál, korrektornál.PWM lehet hogy nálad a nyák vonalvezetésével van gond illetve ha a fűtést is ott vitted és nem egyből a foglalatnál van bekötve.
Én most egyennel fűtök 2 db 6N2P-t, és 2 db ECC83-mat, de még nem üzemelnek, csak az "effect return",és a végfok, ami 2 db ECL82, AC-vel fűtve, közepelve, de ők sem brummognak, pedig 2 cm-re van a hálózati traffancstól
hát azért ez egy kicsit túlzás, de kevesebb, mint egy "normál" Si diódán
mert ugye , ha nem "esne" rajta feszültség, akkor hogy "nyitna" ki a pn átmenet?
hehe
Klassz lesz! mi ez , szivaros doboz???
Kénytelen vagyok egyenirányítani. ugyanúgy zúg ha össze van tekerve akkor is. Miért ockodtok az egyenfűtéstől?
Persze,értem én
Csak kötözködök, mert durcás vagyok ne zárkózz el az egyen fűtéstől, mert ahol az kell, ott nincs mese |
Bejelentkezés
Hirdetés |






.Szerintem így tekerem majd meg,ha végre meglesznek a jó menetszámok.


Nem igazán találtam ezzel készült kacsolást. 