Fórum témák

» Több friss téma
Fórum » Hegesztőtrafó egyenirányítása
Lapozás: OK   10 / 45
(#) mpisti válasza Bakancsok hozzászólására (») Szept 21, 2009 /
 
Igen,ez egy megbízható típus. A TR1-2 trafó adatai látszanak az eredeti rajzon?Mármint a típusára gondolok.
A hegesztő(vágó)áramhoz történő illesztésnél az egyenirányító utáni rész kialakítása nagyon fontos a gép üzembiztosságának megőrzése szempontjából, erre különös figyelmet fordíts. Ha ezt nem kellő gondossággal készíted el, könnyen viszi a hidat a nagyfesz. A triac jó lenne ha szigetelt típus lenne,mert működés közben komoly feszültség van jelen a hűtőbordán. Én a figyelmetlenségemnek köszönhetően megtapasztaltam.
(#) Bakancsok válasza mpisti hozzászólására (») Szept 21, 2009 /
 
kicsit felerőssítettem!
(#) mpisti válasza Bakancsok hozzászólására (») Szept 21, 2009 /
 
Szia!
A bemeneti szűrőkondik polaritása fel van cserélve az általad készített rajzon! Nehogy aszerint rakd be őket mert durr lesz a vége!!!
(#) Bakancsok válasza mpisti hozzászólására (») Szept 21, 2009 /
 
Igazad van!

Megbróbálom a héten összerakni, és keresgélek a PULSE funkcióhoz is kapcsolási rajzot.

Mindent köszönök addig is!


gyújtó.jpg
    
(#) mpisti válasza Bakancsok hozzászólására (») Szept 21, 2009 /
 
Nem látom,hogy a hegesztő egyenirányító után milyen áramköri megoldást képzeltél el az egyenirányító védelmére,a nagyfesz. begyújtásakor.Egy VDR nem elég!
(#) Bakancsok válasza mpisti hozzászólására (») Szept 21, 2009 /
 
Milyen védelmet kell raknom az egyenirányító után?
(#) mpisti válasza Bakancsok hozzászólására (») Szept 21, 2009 /
 
Szerintem valamelyik küldött rajzon találsz rá megoldást, a PL5-nél a legvalószínűbb. Ha nem találsz,holnap délután keresek,ma már nincs kedvem kimenni a műhelybe.
(#) Bakancsok válasza mpisti hozzászólására (») Szept 21, 2009 /
 
Nézegettem, nézegetek és nézegetni fogom, de nem találtam erre utaló jelet.
(#) mpisti válasza Bakancsok hozzászólására (») Szept 21, 2009 /
 
Holnap keresek,és felteszem ide.
(#) Bakancsok válasza mpisti hozzászólására (») Szept 22, 2009 /
 
Köszönöm!
(#) mpisti válasza Bakancsok hozzászólására (») Szept 22, 2009 /
 
Itt a kért rajz. kézzel van rajzolva,de talán nem zavar.
(#) fuelkillerz hozzászólása Szept 25, 2009 /
 
Sziasztok!

Szeretném a hegesztőtrafómat egyenirányítani, próbaképpen csak 40A-en. Ha működik, és jobban tudok dolgozni vele, kibővíteném. Jelenleg 2db Semipack1 SKKT 41/08 típusú dióda/tirisztor hidam van, ezeket kötném be egyenirányítónak, megfelelő hűtéssel.

Azt írják, hogy ITRMS (maximum value for continuous operation) 75A. De kérlek aki ért hozzá, nézze meg az oldalt:

http://www.cdiweb.com/semikron/datasheet/kt41.pdf

És a rajzot ami alapján szeretném bekötni a hegesztő kimenete és a pálca közé:

ftp://gepeszek.ath.cx/private/semipack1.jpg

A biztonság és érintésvédelemmel tisztában vagyok, ez a szakmám is. Csak a kapcsolásokhoz nem értek annyira...

Tehát most 2db-ot kötnék be, és ha behálik, párhuzamosan kötök vele még 6-ot, nagyobb áramokhoz. Azért nem vettem egyből sokat, mert k..va drága.

Kérlek tehát mondjátok meg, jó-e a tervem, és ha nem, miért?

Üdv: Szabolcs
(#) Bakancsok válasza fuelkillerz hozzászólására (») Szept 25, 2009 /
 
szerintem így jobb lenne

bekötés.pdf
    
(#) KTobi válasza fuelkillerz hozzászólására (») Szept 25, 2009 /
 
A nagy áramú részt jól rajzoltad. A kis áramúra, most nem tudok mit mondani, lehet később sem.
(#) mpisti válasza fuelkillerz hozzászólására (») Szept 26, 2009 /
 
Szerintem jó az eredeti rajz , kivéve a gate elektródok meghajtását ,az teljesen rossz elképzelés. Mivel az említett modul nem dióda/tirisztor fajtájú hanem tirisztor/tirisztor,ezért teljes hidas meghajtót kell hozzá építeni. Szerintem jobban jársz,ha elcseréled dióda/tirisztor fajtájúra, annak a típusjele SKKH-val kezdődik.Akkor sokkal egyszerűbb lehet a gyújtókör.
(#) fuelkillerz válasza mpisti hozzászólására (») Szept 26, 2009 /
 
Köszönöm mindenkinek a választ.

Mpisti, sajnos nem tudom elcserélni, akkor inkább a meghajtófokozatot megépítem. Miben különbözik a dióda/tirisztor rendszer? csak egy vezérlése van? Villanyszerelő haverom használt ilyen kütyüt világítástechnikában, és megvezérelték mindkettőt diódákon át. Ha csak ezen múlik, teszek egy graetz-hidat bele vagy 2 diódát... Ha tudnál segíteni, milyen irányba induljak el meghajtófokozat kapcsán, mivel kell vezérelni és hogyan, azt megköszönném. Elvileg a fázisgörbe nullára futásáig tart nyitva, tehát amíg a gombot nyomom, addig tudok heggeszteni... Amire gondolsz vezérlés az nem egy fáziseltolásos teljesítményszabályzó (mint a mozdonyokban)? Mert egyenlőre az nem kell, teljesítményt majd később ugyanúgy a trafóval akarom szabályozni, ahogy gyárilag benne van (csak sztem annyit nem bírna 2db Semipack). Fixen szeretném csak nyitvatartani, vezérelt diódának felhasználni. Ezért gondoltam, hogy amikor pozitív az anódfeszültség, és pozitív vezérlőjelet tolok a G-re, nyitva van pont a fázis végéig (ami egyben ugye vezérlőfeszültség is). viszont akkor téyleg egyenirányítani kell a vezérlőjelet, eszerint:

ftp://gepeszek.ath.cx/private/semipack1b.jpg

Szerinted??


üdv: Szabolcs
(#) mpisti válasza fuelkillerz hozzászólására (») Szept 26, 2009 /
 
Szerintem, ha már ilyen blokkokat használsz, akkor kár kihagyni a vezérelhető egyenirányítás lehetőségét. Ha nincsenek extra óhajok a működéssel szemben, és van kedved némi barkácsoláshoz, akkor érdemes megépíteni a 200. évi Rádiótechnika évkönyvben található hegesztőtrafó szabályzó áramkört,más végfokkal.
A végfok a gyújtótranszformátor kialakításában , és abban tér el, hogy nem primerköri szabályozás lesz.
(#) fuelkillerz válasza mpisti hozzászólására (») Szept 26, 2009 /
 
Üdv.
Teljesen igazad van... Fent van ez a fórumon itt valahol? Vagy esetleg megvan Neked?

Köszönettel: Szabolcs
(#) mpisti válasza fuelkillerz hozzászólására (») Szept 27, 2009 /
 
Szia Szabolcs!
Igen, fent van valamelyik fórumon, régebben innen szedtem le,hogy meglegyen elektronikus formában is.
Így mobilabb az infó. De ha nem találod,akkor beszkennelem az évkönyvből,és pdf-ben elküldöm.
(#) vakondmeister hozzászólása Nov 5, 2009 /
 
Sziasztok. Egy 3f CO2 hegesztőgép épitésébe kezdtem itthon. Nagyából már mindent beszereztem hozzá de sajnos nemtaláltam a trafóról sok használható infot. A kérdésem az lenne hogy mekkora feszütségre tekerjem meg a sekundert illetve mekkora kell hogy legyen az egyenirányitás után a feszültség. Egyenirányitásnak a sima vagy a 6 diodás egyenirányitást választjam? Aki tud segiteni kérem ne tartsa magában. Esetleh ha valakinek van kapcs. rajza a trafó részröl az megköszönném.
(#) mpisti válasza vakondmeister hozzászólására (») Nov 5, 2009 /
 
Szia Csaba!
A "Co hegesztő hészítése házilag" fórumban visszaolvasva szerintem minden információt megtalálsz a kérdéseidre. Annyit még talán,hogy az egyenirányított kimeneti feszültség 16V-tól felfelé,lehetőleg 0,5V-os lépésekben (durvább fokozatok esetén 1V-os lépésekben)kell lehetőleg minél több fokozatban növelni. A feszültség felső értéke a trafó kimeneti teljesítményének függvénye. Ha a hegesztőáram nem több 200A-nál, akkor kb.30V lehet a feszültség felső értéke. De a kimeneti feszültség szoros kapcsolatban áll a vasmag keresztmetszettel. Minél nagyobb vaskeresztmetszetet alkalmazol, annál kisebb kimeneti feszültség választható maximális értékként,mert annál kisebb lesz a feszültségesés. Lehetőleg 3fázisú graetz hidat alkalmazzál egyenirányításra, azaz 6 diódásat.
(#) vakondmeister válasza mpisti hozzászólására (») Nov 5, 2009 /
 
Köszönöm a gyors választ
(#) jandark hozzászólása Dec 16, 2009 /
 
Sziasztok!
Most hogy leesett a hó,van egy kis időm nekilátok a trafóm egyenirányitásának..
Még év elején elkezdtem begyüjteni a dolgokat hozzá,elvileg minden meglessz .Átolvastam az öszes adatot hozzászólást,pár kérdés viszont nyitott maradt számomra.Adott egy álitható vasmagu einhel hegesztőtrafó 160a,elé szeretnék egy triakos primer szabályzást,majd a szekunderen egyenirányitást fojtót és kondenzátort ha szükséges.
Kérdéseim:egy 1500wattos porszivó triakos szabályzója elboldogulhat e a hegesztőtrafóval?Esetleg ha van kész nyákterve szabályzáshoz valamelykőtöknek megköszönném.
Továbbá tovább bonyolódik a projekt, ugyanis 2db 200amperes diódám és 2db 200amperes tirisztorom van,igy kaptam egy kedves kolegától aki ezt ajánlotta hozzá,ezzel kapcsolatban a kérdésem az lenne hogy van e rajzotok esetleg ilyen egyenirányitásról ill a tirisztorok vezérléséről ebben az esetben?
Köszönöm szépen előre is.
(#) SALáta válasza jandark hozzászólására (») Dec 16, 2009 /
 
Előszabályzás a rádiótechnika egy régi évkönyvében megvan. A nyák terv is, igaz nekem 40 A triak van benne. Nyugodtan nagyobb is lehet a hűtőborda miatt, nagy zavarokat termel vissza a hálózatba. 1500W porszívó szabályzása kevés. A nyákot érdemes még nagyobba megcsinálni még vastagabb vezetősávokkal és persze vastagon átcinezni nehogy meló közben elégjen a fólia. Nálam működik, persze magamnak terveztem a nyákot ezért nincs beültetési rajz.
Az előző fele ekkora nyákkal és vezetővel meghalt, pontosabban elégett.
(#) mpisti válasza jandark hozzászólására (») Dec 16, 2009 /
 
Szia Jandark!
Az egyenirányítás OK, de minek kell elektronikus szabályozás, amikor a gépedben gyárilag benne van az állítható vasmag?
Hidd el, a gyári szabályozás(mechanikus) jobb,mint amit elektronikusan tudnál megvalósítani.
Az általad említett trafó elég alacsony üresjárási feszültséggel rendelkezik,ezért célszerű egyenirányítás után a pufferkondenzátor használata,mivel egyenáramú hegesztés magasabb gyújtófeszültséget igényel. Ha nem puffereled,előfordulhat,hogy nehezen tudod az ívet begyújtani,vagy hegesztés közben kialszik az ív.
(#) jandark válasza SALáta hozzászólására (») Dec 16, 2009 /
 
Szia!
Köszönöm szépen,tudod e esetleg melyk évi rádiótechnikában van a leirás?Szivesen elolvasnám..
A nyákot elkészitem aztán jöhet az alkatrészbeválogatás..
Ha vannak pontos értékeid elfogadom kiindulási pontként..
További szép napot kivánok.
(#) SALáta válasza jandark hozzászólására (») Dec 16, 2009 /
 
Szivesen. Ami a kapcsolási rajzon van azok az értékek a jók, az ellenállás létra helyére egy potméter kell. Nem tudom melyik rt ből való sajnos. Bár pontosan hegesztésről szólt a cikk.
(#) jandark válasza mpisti hozzászólására (») Dec 16, 2009 /
 
Szia Pisti!
Köszönöm a segitséged.Álitható a vas,igy üresjáratban a feszültség 42.7-47voltig szabályozható.A primer oldali szabályzásra azért gondoltam mert ha tul nagy lenne az igy egyenirányitott+pufferelt feszültség,akkor az esetleges égetés miatt talán..
Később is jól jönne hiszen ha beválna,jó lenne más trafóhoz is szabályzásként,Pl akumlátortöltőbe...
Van e ötleted a 2dióda+2tirisztorral való egyenirányitásához?,(vagyis a tirisztorok vezérlésére a greatz-ban)
(freddomocskától kaptam,aki lelkes plazma épitő :yes: )
Sajnos csak ez áll rendelkezésre,kisebb diódáim vannak de az nemigen lenne elég...
(#) mpisti válasza jandark hozzászólására (») Dec 16, 2009 /
 
Szia!
Ha a keresőbe begépeled hogy TCA785(ez egy fázishasítós szabályzó IC)akkor annak az adatlapján találsz bevált kapcsolási rajzot félhidas egyenirányításról, nagy teljesítményű tirisztorhoz. Én megépítettem már, tökéletesen működőképes.
Az egyenirányítás utáni pufferelés nem fog nagyobb áramot biztosítani, de a gyújtófeszültséget megemeli,és ez jó. Különösen kisebb hegesztőáramnál előnyös.
A primer oldali fázishasítós szabályzónak az a hátránya a mechanikussal szemben,hogy a szabályozás a szekunder feszültség jelentős esésével valósul meg. Azaz kisebb hegesztőáram csak kisebb fázisszögnél lesz, az pedig értelemszerűen kisebb szekunder feszültséget eredményez. Ha kicsi a szekunder feszültség,az elektróda nem akar begyulladni, leragad.Ezért különféle trükköket alkalmaznak az adott áramkörökben,hogy használhatóvá tegyék hegesztő szabályzóként.
A hegesztőtrafóknál fontos dolog,hogy a gyújtófeszültsége lehetőség szerint minden áramtartományban azonos maradjon. Ezt a szekunder szabályzóknál egyszerűen meg lehet oldani,de a primer szabályozásnál jelentősen bonyolultabbá válik a feladat. Ezt a problémát a mechanikus söntszabályzó kizárja, azaz a szekunder üresjárási(gyújtó)feszültsége a két szélső értéknél közel azonos,vagy csak keveset fog változni. Ezért írtam neked korábban,hogy a "tekerős"szabályozás a legideálisabb ilyen helyen.
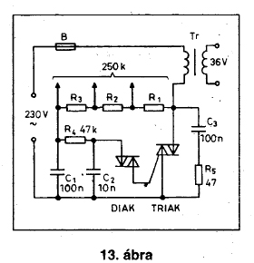
(#) jandark válasza mpisti hozzászólására (») Dec 16, 2009 /
 
Sikerült megnéznem..
Mellékeltem 1ábrát,ez lenne az?
Következő: »»   10 / 45
Bejelentkezés

Belépés

Hirdetés
XDT.hu
Az oldalon sütiket használunk a helyes működéshez. Bővebb információt az adatvédelmi szabályzatban olvashatsz. Megértettem