Fórum témák
» Több friss téma |
Fórum » DCF77 óra Nixie-csövekkel
Az Ebay.com -on rendeltem 13$ szállítással együtt csak keress rá "nixie power". Lehet, hogy olcsóbban is meg lehetne csinálni házilag, de ennyiért nem folyatom ki a szememet az smd-kkel
Sajnos nem vagyok profi az ilyen tápok méretezésében, ki kell próbálni, hogy működik-e, aztán ha nem igazi vissza az overkillnél megadott típushoz Az induktivitásnál a vasmag átmérője és a huzal vastagsága lényeges szerintem minnél izmosabb annál jobb nekem ilyen van benne: Kép
Ezt a kapcsolást már próbáltam 150V -ra beállítva 15mA terheléssel . 200V estén is simán tud 10mA , kb. 350 mA az áramfelvétele .
Sziasztok! Készül a Mule v2 nyákterve, egy kis ízelítő:
Naaa CHZ végre elkapott a gépszíj, akkor küldhetem a nixie csöveket?
Nem órához készítettem , csak láttam a kérdést és arra próbáltam választ adni . Még érlelődik a gondolat , hogy belefogjak-e ..
De azért fél szemmel rajta vagy a nixie-s topicon...
Szia!
Megnéztem a tervet, szépen haladsz vele, tetszik. Most egy "Ovekill" tápot raktam össze, járatni kell a nem használt Nixie csöveket beépítése előtt. Elég masszívra sikerült egy pontrácsos NYÁK-ra, de ez csak egy segédeszköz a további munkákhoz. Néhány felvételben róla.
Szia! Megpróbálod regenerálni a csöveket? Ahogy olvastam minden katódot külön külön a névleges áramnál magasabbal járatja a srác és ezzel ér el javulást... (chatode poisoning) Nekem van egy rossz in-12B, amit meg akartam javítani ezzel a módszerrel, hogy legalább a 0,1,2 menjen benne, de nem sikerült eredményt elérni. Névleges áramnál ugyanúgy csak részben világítanak a számok benne. :no: Persze lehet, hogy ennek a csőnek más hibája van, mert a hozzávezető vékony szálak világítanak benne a hibás katódok helyett.
Szia!
Nem is olyan rosszak azok a régi Nixie csövek, kevés járatás után (10-12 óra) néhány kivételével már elég stabian működtek. Közben néhány 100uH-200uH közötti ferritmagos tekercsekkel kisérleteztem úgy. hogy addig szedtem le meneteket, amig ebben a tartományban nem estek az induktivitások. Csak az áramfelvétele nőtt meg ugyanolyan terhelésekre, de szerintem jelentéktelen mértékben, vagyi működne 200uH föllötti értékekkel is a tápegység. A tekercsek (0.5mm-es Cuz, ill. 0.25*négyes sodrat), nagyobb méretű ferritmagon. Egy 120uH-s ferritmagos tekercsel működtetve, a bemenő 12V/110mA 270mA-ig nőtt a terhelésekre. 147V-ra beállítva, 22K-n vizsgáltam, majd járattam a csöveket, a kiválasztott hat darabot. Egy kép a "vasakról".
Örülök, hogy beindulnak, hamarosan szükséged lesz rájuk
Úgy néz ki nálam is működik ez a regenerálás dolog, a 35 éves ZM1000-nél is látok javulást, volt egy 2-es szám aminek a felső része nem volt teljes, és már ott tart, hogy egész szépen világít, de még nem egységes teljesen. Mondjuk én a névleges 2,5mA-es árammal járatom most, (tekintettel arra, hogy ezek régi motorosok) eddig 1mA-al mentek a csövecskék. Azokkal nem tudom mit kezdjek, amelyek már haloványak, de még működnek. Nem nagyon merem hajtani őket. Valószínű szép lassan elhasználódnak.
Zolikám köszönöm a hasznos infókat! Azt hiszem ez alapján amit írsz megépítem én is. Köszi a tervet is!
Köszi, így már tudni fogom mindíg.
Szia!
Sajnálatosan, a hat darab Z573M csöveim közül az egyiket már nem tudom feljavítani, az halvány maradt, és hibásan jeleneik meg néhány szám is. Ebből most öt darab lenne tökéletes. Azt kérdezném, mivel a Z570M mindenben megegyezik vele, szerinted berakhatok oda egyet belőlük. Abból most szintén 4-5 darab van kipróbálva, letesztelve. A rossz nixie "573"-as-ról néhány kép.
Tedd bele elsőnek vagy utolsónak, ha a tizedespontot nem használod, akkor meg bárhova jó. Ezek csak a műszereknél voltak fontosak, hogy z573m legyen benne.
Hát ha esetleg vissza tudod követni a kapcsolási rajzot megpróbálkozhatunk az utánépítéssel. Persze nem smd-vel, hanem normál alkatrészekkel.
Nekem is végre elkészült az 1 csöves órám. Bővebben: Link Kap majd egy szép kis doboz, és mehet föl a falra.
Gratula! Szép lett! Már csak egy szép dobozka kell neki, bár az akkut én nem ferdén tettem volna bele
Így pont elfért a nyákra, és nem kellett vezetékezni.
okés! milyen doboza lesz? rozsdamentesből csinálod?
Az biztos, hogy fából lesz, de hogy milyen színű az még nem tisztázott.
Sziasztok!
Tegnap este kipróbáltam a ZM1000-es csőhöz a "self made" foglalatot, amit IC-khez való lábsor foglalatból csináltam. Próbáltam beleerőltetni a foglalatba, de nem sikerült. Aztán megmértem a lábak vastagságát, egy IC-nek 0,5mm, a ZM1000-nek 0,65mm a lábvastagsága (kör alakú), és sajnos nem megy bele. Próbáltam még az aranyozott tüskesor aljzatot, az talán jó lenne, de nem vagyok biztos benne, mert nem fogja meg eléggé a lábakat, és lehet hogy később kontakthibás lesz a csatlakozás. Úgy néz ki sajnos marad a beforrasztás amit nem nagyon szeretnék. Esetleg lenne ötletetek egy biztosabb megoldásra? Jó volna mégis valamilyen foglalatba illeszteni. Olyan kéne ami a 0,6mm-es lábakat jól megfogja, és rasztertávolságban beforrasztható, vagy vezetékezhető.
Üdv ! Ne percíziós foglalatból csináld, hanem gagyi-ból abba biztos belemegy
az egy lapos lemezzel fogja meg a lábat, tehát nagyobb határok között mozoghat a láb átmérője.
Sziasztok!
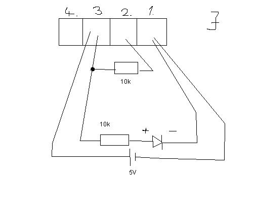
Vásároltam egy conrad-féle vevőt, de az óra kapcsolásom építése még folyamatban van. Addig is szerettem volna a vételt letesztelni valamilyen módon. Itt a fórumon korábban valaki írta, hogy rá lehet kötni egy LED-et tetszként. Valaki meg tudná adni azt a kapcsolást, pontos értékekkel? (Milyen ellenállás, hova, stb?) Köszi.
Nekem egy nagyfényerejű led sorbakötve egy 10k ellenállással van rajta a sorkapocs jobbról első és harmadik pontján. Ugyanez a pont szintén 10k-val be van feszítve a + tápfesz (sorkapocs jobbról 2. pontja) felé. 5V-os tápfeszültségről így működik és villog a led a vételnek megfelelően.
Köszi. Ha jól értettem, akkor úgy, ahogyan a rajzon is van ugye?
Igen, jó a rajz. Ha az órához kötöd majd a tápfeszre érdemes egy soros 100 ohm-ot rakni, valamint egy 33u tantál és egy 100n kerámiakondit párhuzamosan a táp és a gnd közé rakni.
Biztosan jó a rajz? A led tápfeszre van kötve..
Basszus tényleg a táp rossz helyre van jelölve az az 1 és 2 kapocsra kell. Köszi Vic!
így ráküldené a tápfeszt a kimenetre. |
Bejelentkezés
Hirdetés |




Sajnos nem vagyok profi az ilyen tápok méretezésében, ki kell próbálni, hogy működik-e, aztán ha nem igazi vissza az overkillnél megadott típushoz
Az induktivitásnál a vasmag átmérője és a huzal vastagsága lényeges szerintem minnél izmosabb annál jobb nekem ilyen van benne:







így ráküldené a tápfeszt a kimenetre.
