Fórum témák
» Több friss téma |
Fórum » Tranzisztorok helyettesítése
Szia!
Ez egy indiai tranzisztor: Bővebben: Link
Köszi közben már megtaláltam a megfelelő helyettesítőt.
Lenne egy tranzisztorom amit kellene hejettesítsek valami sokkal erősebbel a Vezeték nélküli led meghajtásánál használt BD139 et szeretném valami sokkal erősebbre cserélni én halottam hogy lehet hejettesíteni valami BU tranzisztorral de nem biztos mindegy fő hogy sokkal erősebb legyen a BD-nél.
Mit értesz azon, hogy erősebbre? A BD sorozatban is van nagyobb teljesítményű, de a csere nem olyan egyszerű. Hacsak kicseréled a tranzisztorokat egy nagyobb teljesítményűre, attól nem lesz nagyobb kimenő teljesítény, ahhoz a meghajtást is illeszteni kell.
Igen a meghajtás nem probléma mert van 1 szuper labortáp finomálítással 40V ig 5A szoval nincs baj .és igen egy sokkal nagyobb teljesítményüre kellene kicseréljem pl valamijen 2N-es re.
Például mikre mert most kíváncsivá tettél és igen turbozni akarom hogy távolabbról menjen tudom hogy ezért a kondik is teljesen szinkronban kell legyenekde ez nem lényeges fő az hogy meg akarom csinálni hogy nagyobb távolságrol menjen ezért nagyobb teljesítményű tranzisztor kell.
A suliba jo jegyet kapok ha megcsinálom hogy fél méteres távolságrol menjen és már volt aki megcsinálta és ment is csak őt már nem kaptam meg azert jo lenne ha megkapnám a megfelelő tranzisztort.Nem számít mijen áron csak menjen.
Azt szeretném kérdezni, hogy BC109C helyett lehet-e modjuk 2N3904-et használni ennél a kapcsolásnál.
Kerestem ebben a témában, és már más is kérdezte a BC109 helyettesítését, de ott valami akkutöltőbe kellett, és nem tudom, hogy ilyen helyen is lehet-e helyettesíteni. (A fő ok az, hogy a BC109 az 138Ft a 2N3904 meg csak 13Ft.) Köszönöm.
Bele lehet rakni, csak kicsit zajosabb lesz.
Köszönöm a választ, akkor inkább maradok a BC109-nél.
Sziasztok!
Szeretnék segítséget kérni abban, hogy milyen tranzisztorral tudom helyettesíteni eme darabokat? - 2SB1328 -2SD2004 Előre is köszönöm! Üdv!
Szia!
Az SB-t ezekkel: 2SA1225, 2SA1552, 2SB1275, 2SB1409 Az SD-t pedig ezekkel: 2SC2983, 2SC4027, 2SD1918, 2SA2122...23 Forrás: Bővebben: Link
Sziasztok!
2SC2315 tranzisztort mivel lehetne helyettesíteni? Amiket találtam neten helyettesítők egyiket sem lehet kapni. Extrája minimum 500as hFE. Esetleg Darlington tranzisztorral lehetne helyettesíteni?
Hello mindenkinek!
Az lenne a kérdésem, hogy az SL100-as tranzisztort milyen más tranzisztorral lehet helyettesíteni, ugyanis a boltba olyat nem kaptam. Válaszotokat előre is megköszönöm! És szép napot!
Köszönöm szépen. Hogy így keressem nem is gondoltam... Holnap nézek egy megfelelőt. A kapcsolás, a vezérlésről sajnos nincs rajz, külön függőleges panelon van.
Mivel itt meghajtó szerintem elég lesz egy számmal kisebb is.
Köszönöm megrendeltem. Lenne még valami. K373 van ráírva, esetleg 2SK373 lenne? Erre egy helyettesítőt tudsz mondani ? Előre is köszönöm.
Üdv.: Laci
Ha 2SK373, akkor az egy TO92 tokozású FET, sajnos 100V-os, nem lesz könnyű pótolni. Esetleg a Lomexben van BSS119, vagy BSS123, azzal lehet próbálkozni, de azok SMD-k.
Mintha a panelen 2 lába össze lenne kötve. Akkor viszont lehet dióda is.
Valóban összevon kötve. Kiforrasztottam ami bent van elvileg egy PNP tranzisztor 9BB van ráírva. Tőle balra viszont egy kettős dióda van elvileg így. Mivel a két alkatrész kinézetre megegyezik nagy optimizmus lenne azt gondolni, hogy a kettő típusa is ugyanaz ?
Lehet, bár akkor az egyik diódát rövidre zárják a kép szerint.
Holnap visszarajzolom a kis panelt, hátha segít. De ha tranzisztor akkor is B-C vagy B-E össze van kötve.. Ezt valaki utólag rakta bele. Valószínűleg az az okos aki a 2SC2315 helyére IRFBC40 et rakott... Remélem meló előtt jut rá időm.
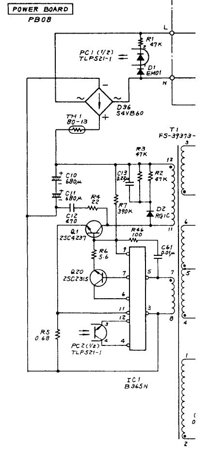
Egy oszcilloszkóp tápegysége. Sajnos a kis panelról további információ nincs... A rajz IC1 néven hivatkozik rá.
Q1 és Q20 zárlatos, a kis panelen a 2SC3076.
Közben rájöttem én is, mert nagyon ismerős volt.
Szerintem az egy dióda. Kicsit bogarászva a rajzot meg a képeket egyre inkább biztos vagyok benne. A két 433-as feliratú alkatrész pedig valószínű, hogy 4.3V-os zener.
Akkor az ismeretlen, hiányzó altrész is dióda lenne? Mit javasolsz helyette? Mondjuk SF18 vagy hasonló ? A 433 feliratú csak 2 láb között, csakis 1 irányban viselkedik diódaként, szóval jónak tűnnek.
|
Bejelentkezés
Hirdetés |










