Fórum témák
» Több friss téma |
Fórum » Csöves erősítő készítése
Ne feledd betartani a fórum viselkedési szabályait, és a topik megmaradásának feltételeit. [link]
A téma átmenetileg fagyasztva lett, hozzászólni nem tudsz!
BY 238 as dioda adatlapja szerint 300 V névleges feszültséget bír, de 850 volt csúcsfeszültséget elvisel. Most 230 volt secnder feszültséggel hazsnálhatom ezt? Ebből lesz 320 volt..ezt ki kellene bírnia, nem?
Hi.
Szépek az erősítőitek. Holnap az enyém is kész lesz.Egy sima fadobozt végülis csináltam neki(nem lakkozott,pácolt...csak egy sima doboz),hogy ne a levegőbe tekeregjen az anódfesz,tápfesz vezeték,a kondikról nem is beszélve.Hát igen,amióta megrázott a 24V-ról hajtott TV-sorkimenő,már óvatosabb vagyok.(pedig előtte is az voltam )TANULSÁG:nagyfesz vezetéket sose toldj meg ónnal,vagy csupasz (vezetékkel),mert ha a csuklód hozzáér.... Köszi a válaszokat,akkor kénytelen leszek elmenni a Lomexbe kondiért.
Szia kocos
Nagyon szép munka,gratula hozzá.Csak így tovább. Látom a hálózati aljzatot sikerült kiegyenesíteni. Szerintem 7cm2 elég lesz EL84SE kimenőtrafónak. üdv. a tippünk jó volt, bár kissé szégyen (számomra) hogy csak később vettem elő google-t, pontosabban a képkeresőjét ![]() ő a kérdéses példány: 100E1 de legalább ilyenem is van, most már tudom ![]() regards,
A pentódának egyetlen előnye van a triódához képest, hogy sokkal nagyobb feszerősítést lehet vele elérni. Az a baj, hogy a pentódást csak műszeresen mértük végig, ott nem mutatott jelentősebb különbséget. Csak röviden hallgathattam, mert a barátom rögtön rácsapott, és elvitte (Végülis neki készült.). Ebbe viszont Pacsirta (mono) EL84-hez legyártott kimenők voltak.
Nagyon szép az ECL86PP.A hangja is biztosan az.
Lassan már kiállítást nyithatsz a csöves erősítőidből... azt írtad:Visszacsatolásra nincs szükség, sőt halálos csapás a hangra én eddig úgy tudtam hogy a negatív visszacsatolás kedvező hatással van az erősítő paramétereire.Vagy mégsem? Nekem most 39k van visszacsatolásként a PCL86SE-ben,de megpróbálom nvcs. nélkül is,meg kipróbálom triódának kötve is a PCL-eket. üdv.
Símán! Valaha ezek voltak a hálózaton (egyutasan) a csöves TV-kbe.
Igen, sokszor látni triódának kötve. De azért nem mindig. Bizton ismered eme klasszikust.
Én azon a véleményen vagyok, hogy a trióda karakterisztikák tulajdonképpen egymást javítják, de pentódánál én mindig használok. Sturbi nem erre írta ezt, hanem a kis kettőstriódás "szösszenetére.
Nah új fejlemények PCC189 gitárelőfok fronton. A kalici vírusnak hála
van időm foglalkozni vele.Legelőször is, kipróbáltam a PCL85 öt triódába kötni. Az eddigi kissé karcos, mélyhiányos állapot, kellemes lágy kiegyensúlyozott hanggá változott. Jobban tűri a nagyobb bemenő jelet is, szkóppal nézve kevésbé torzít, egyszóval tisztább szárazabb érzés Minimális teljesítménycsökkenést hallok a pentódához képest. Visszakötöttem egy próba erejéig, aztán meggyőződtem, hogy triódába sokkal szebben szól.Legnagyobb meglepetésemre az előfokkal összekötve, megszűnt annak gerjedése, mégkisebb a brumm( pentóda módba nemtudom miért de iszonyatosan gerjedt). Aztán a táp - ágát földelésre kötve teljesen megszűntek a háttérzajok(véletlenül jöttem rá). A gityó húrlábát is lekötöttem a testpontról, így nem antennák a húrok, ha hozzáérek sem pattog, a jack aljzat két pontja közé egy 47Kohmot tettem, így a poti feles állásába se zúg már. Érdekes, hogy ezek a dolgok tranyóson sosem jöttek elő. Imi65 javaslatára az anódkörbe fix ellenállásokat kötöttem, a katódnál maradtak még trimmerek egyenlőre. Van egy olyan érzésem, hogy ebből egy csöves gyakorlóerősítő lesz PCC189+PCL85 párosításban. Bár az épülő kombómba is feltétlen lesz csöves előfok
Megint csak nincsenek csodák. Persze, hogy jobban tűri a bemenő jelet, hisz a manőver által lecsökkent az erősítése. Azért gerjedt pentóda módba, mert úgy sokkal nagyobb volt neki.
Szerintem, ez már most is gyakorlóerősítő.
Hát ez érdekes. Egy discmanről szolgáltatom neki a műsorjelet, és ugyanakkora hangerőn, alig hangosabb pentóda módba, még túl sem vezérlődik. Először énis erre gondoltam, de majd még szkópolok.
A gyakorlóerősítőt arra értettem, hogy gitáron tudok gyakorolni majd
Bizony bizony! kétszeres teljesítmény kb 3dB hangnyomás növekedés jelent, amit épphogy észreveszünk, és ez még a frekvenciától, és az életkortól is függ
azt írtad:Visszacsatolásra nincs szükség, sőt halálos csapás a hangra én eddig úgy tudtam hogy a negatív visszacsatolás kedvező hatással van az erősítő paramétereire.Vagy mégsem?
Nem általánosságban írtam, mindazonáltal az általam készített erősítők többségében, ha csak nem kényszerülök rá (kimenőtrafó és az erősítő képességein múlik, hogy kell-e) egyáltalán nem használok hurkos negatív visszacsatolást, mert ugyan az oszcillogramon javít, a hangra súlyos csapást mér. A PCL 86-os SE-nél sincs, trióda átkapcsoló van, illetve UL-be köthető) a 6E5P fülesnél sincs, az ECL 86 PP-nél sincs (különleges minőségű kimenője van), a 6P3C PSE-nél kikapcsolható (kikapcsolva használja a gazdája is, 25 cm2 kimenője van), EA 110 mod.-oknál kellett, ott van, de kisebb, mint gyárilag volt. A 6P3C PP-nél nincs, a 6P14P PPP-nél volt, de azt nagyon régen csináltam, annak Quad-os volt a vége, már szétszedtem, mert megsütöttem a kimenőjét. Amit most csinálok EL84 PP-t abban is lesz nvcs. valószínüleg, de ha jó lesz az oszcillogrammja nyílt hurokban, akkor kikapcsolható lesz. A kiindulópont a hibátlan nyílthurkú átvitel kell hogy legyen egy audiofeel erősítőnél. Ha ez megvan, akkor lehet a visszacsatolással ízlés szerint módosítani a hangképen (de akkor már nem kell). Ha a rossz paraméterek javítása miatt kell nvcs., akkor nem lesz meg a varázs. A kimenőtrafó nem hozzáad a csöves hanghoz (is) , hanem a minőségének megfelelő mértékben elvesz abból, tehát az erősítőnek magának is jónak kell lenni, egy rossz erősítő hangját a legdrágább kimenő sem tudja kijavítani, de egy kiváló erősítőt is tönkrevág egy alakalmatlan kimenő.
Még annyit hozzáfűznék a negatív visszacsatolós szösszenethez, hogy félvezetős erősítőknél sajnos kötelező valamekkorát alkalmazni, mert anélkül elfogadhatatlanul magas lenne a torzítás (fülre is). Egy kétfokozatú csövesnél még ez kézben tartható, egyrészt a munkapontokat kell jól eltalálni (ezért szoktam először műszeresen "vallatóra fogni" a fokozatot, hogy jól tudja-e a leckét.), másrészt a kimenőt kell eltalálni (ahogy sturbi is mondta).
Azonfelül a tranzisztorok sokkal "gorombábban" torzítanak (a fül számára kellemetlenebbül). Tehát ott ezért kötelező jelleggel kell alkalmazni. Azonban ne essünk bele újfent abba a hibába, mint anno, az első félvezetősöket tervező mérnökök, akik hamar rájöttek, hogy amennyiben meg tudják valósítani a hatásos nvcs-t, akkor soha nem látott mértékűre tudják csökkenteni a THD-t. (jellemzően pár század százalékra) Azonban az erősítőik csak nem akartak megközelítőleg sem úgy szólni, mint a jól bevált csövesek. Mivel nem a szkóp, hanem a fülünk gyönyörűségére építünk erősítőt, ezért mindenki saját maga döntse el meghallgatások alapján, hogy szeretne-e élni a lehetőséggel, vagy sem. Egyébként valamilyen szinten az is jelzi az erősítő minőségét, hogy állja-e a visszacsatolást, vagy olyan hitvány, hogy nem is lehet (igazából hatásos mértékű) nvcs-t létrehozni benne. Idézet: „Még annyit hozzáfűznék a negatív visszacsatolós szösszenethez, hogy félvezetős erősítőknél sajnos kötelező valamekkorát alkalmazni, mert anélkül elfogadhatatlanul magas lenne a torzítás (fülre is).” A kerdes, hogy milyen negativ vcs-ra gondoltal? Nem minden tranyos erositohoz szukseges ugyanis a teljes erositot atfogo negativ vcs ... erre kivalo pelda KD mester B5-os erositoje (de mas pelda is akad nem egy az irodalomban). Az ilyen erositokben lokalis vcs-okkal csokkentik a torzitasokat es a munkapontokat is igy stabilizaljak. Az ilyen erositok torzitasai (mint tudjuk eleg sokfele van) szamszeruleg altalaban kicsivel gyengebbek mint az atfogo neagtiv vcs-t alkalamzo erositok, fulre megis (a legtobbjuk) legalabb ugy vagy jobban szol. Ezt persze nem szabad altalanositasnak venni, mert atfogo negativ vcs-al is lehet nagyon jo hangu erositot epiteni. Nagyon sokat szamit a topologia es a helyes munkapontbeallitas, de ezen felul mas dolgok is befolyasoljak a vegso hangminoseget.
Szia!
Köszi szépen Csak meg kellett húzni a csavart a helyes pozícióban
OK! Már ezek kerültek bele, nemsoká próbálom
Egyébként én is TV-ből bontottam, hálistennek jó nagy lábbal voltak benne Amúgy a Laney-mben is ilyenek vannak, csak kettő kettő sorosan, mert ott 600 V körül van az anódfesz!
A tranzisztoros erősítők 99%-a rendelkezik átfogó visszacsatolással.
Ha jól körülnézünk a csöves rajzok között, bizony ott is bőven akad ilyet alkalmazó kivitel. Azért mondtam el, hogy itt mindenki maga döntse el, él vele, vagy sem. Müszi erősítője (PCL86) átfogót nem tartalmaz, de lokálisból három is megfigyelhető benne.
Ha kiszedem a katódellenállással párhuzamos kondikat az a lokális visszacsatolás? Próbáltam úgy is hogy nem volt átfogó visszacsatolás hanem a trióda és a pentóda katódjáról leszedtem a kondikat. Így nagyon csúnya hangja volt olyan mint egy sokol rádíónak, nem volt mély csak közép. Most átfogó visszacsatolással és katódhidegítő kondikkal jól szól.
Pontosan, akkor a csövön átfolyó vezérelt áram létre tudja hozni a feszültségváltozásokat (nem "simítja" ki a kondi) a katódellenálláson, és mivel a cső bemenőfeszültsége a katód és a rács feszültség különbsége, ezért a katódfeszültség változás kivonódik a bejövőből. AZ átfogó visszacsatolás megnöveli a sávszélességet, ill. javítja a jelalakot, erősítéscsökkenés árán. A katódkondik viszont növelik az erősítést, tehát valamennyi erősítésveszteséget így pótolhatsz.
De igy viszont szerintem "tranzisztorosabb" hangja lesz.
Mindenképpen úgy hallgasd, ahogy Neked jobban tetszik. Nem az a lényeg, hogy más mit tart jónak.
Na itt vagyok.
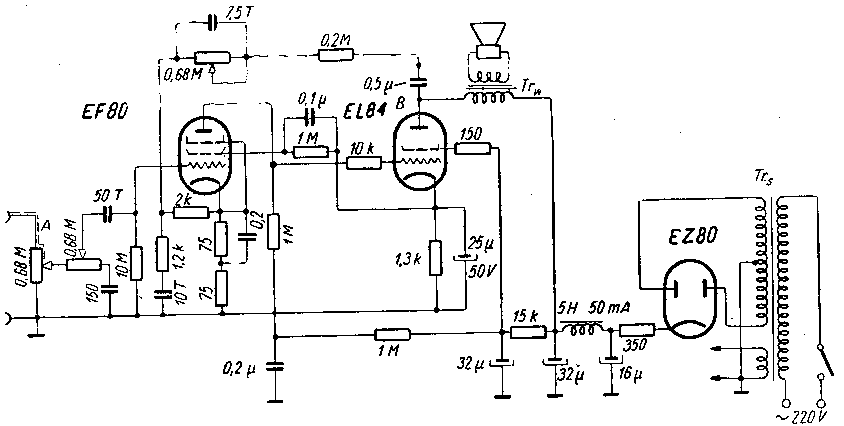
Van egy kis gondom:összeraktam az erősítőt,de nem tudtam bele 22pf 250V-os kondit szerezni.Próbáltam más kondikkal,amik otthon voltak,de egy se volt jó.Kondi nélkül ahogy bemelegedett a cső,elkezdett iszonyat hangosan búgni,gerjedni,ha raktam be kondit,akkor se ment a zene,és akkoris búgott,csak nem annyira...és amikor lekapcsolom az anódfeszt,egy pillanatra halkan hallatszik a zene,de bekapcsolt anódfesznél csak búg... Kondit a Lomexbe akartam venni,de azt mondták,ekkorában csak 50V-os kerámia van. Akkor hol lehet ilyen kondit venni?Egyáltalán lehet? nekem ma került a kezem közé egy R4430, egyből eszembe jutott a fórum, amikor megláttam az ecl86-os végfokot ![]() lehet kiszedem belőle és kicsit átpofozom, igaz a kimenője igen-igen apróka ![]() a kádár féle könyvben néztem a kapcsolási rajzát, hát kutya egy módon sikerült összerendezni az alkatrészeket, alig bírtam kibogozni, hogy is van ez valójában ![]() regards, a ret-ben biztos hogy van 33p/250V(AC) wima gyártmányú fkp-2 kondi, viszont valahogy nem találom az előzményekben, hogy hová is kell neked pont 22p ![]() regards,
Sajnos a gyáraknak ez régóta megszokott ökörsége, hogy a visszacsatoló hálózatba építik bele a hangszínszabályzót.
|
Bejelentkezés
Hirdetés |


Holnap az enyém is kész lesz.Egy sima fadobozt végülis csináltam neki(nem lakkozott,pácolt...csak egy sima doboz),hogy ne a levegőbe tekeregjen az anódfesz,tápfesz vezeték,a kondikról nem is beszélve.Hát igen,amióta megrázott a 24V-ról hajtott TV-sorkimenő,már óvatosabb vagyok.(pedig előtte is az voltam


van időm foglalkozni vele.
Az eddigi kissé karcos, mélyhiányos állapot, kellemes lágy kiegyensúlyozott hanggá változott.

